Greenville, TX
|
Give Us a Call
(903) 454-4440
Toggle navigation
Home
Brands
Manufacturer Models
OEM Promotions
Polaris
Can-Am
E-Z-Go
Honda
Kawasaki
Suzuki
Inventory
All Inventory In Stock
New Inventory In Stock
Used Inventory
Value Your Trade-In
Request a Model
Schedule a Test Ride
Secure Financing
Parts
Parts Department
Parts Finder
Service
Service Department
Request Polaris Service
Warranty & Recall Look-Up
Specials
Financing
About
Our Dealership
Our Team
Reviews
Customer Survey
Employment
Events Calendar
Locations
Location & Hours
Contact
Parts Finder
Home
›
Parts
›
Parts Finder
Search by :
Part / Desc
VIN
Please Select
Arctic Cat
Honda
Kawasaki
Polaris
Suzuki
*Please enter at least 3 characters
SEARCH
Manufacturer
Polaris
Watercraft
1997
SL 1050 (B974090)
VIEW WISH LIST
Select a Section
Show/Hide
AIR VENT SL 900 B974091 and SL 1050 B974090 (4940974097B011)
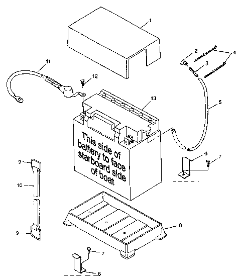
BATTERY BOX SL 900 B974091 and SL 1050 B974090 (4940974097B008)
BILGE PUMP SL 900 B974091 and SL 1050 B974090 (4940974097B014)
CARBURETOR SL 1050 B974090 (4940974097C007)
CARBURETOR SL 900 B974091 (4940974097C005)
COOLING SYSTEM SL 1050 B974090 (4940974097B010)
COOLING SYSTEM SL 900 B974091 (4940974097B009)
CRANKCASE SL 900 B974091 and SL 1050 B974090 (4940974097C002)
CRANKSHAFT & PISTON SL 900 B974091 and SL 1050 B974090 (4940974097C004)
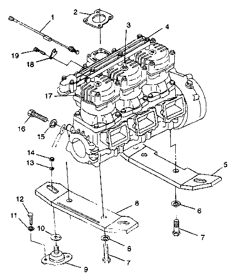
CYLINDER & MANIFOLD SL 900 B974091 and SL 1050 B974090 (4940974097C003)
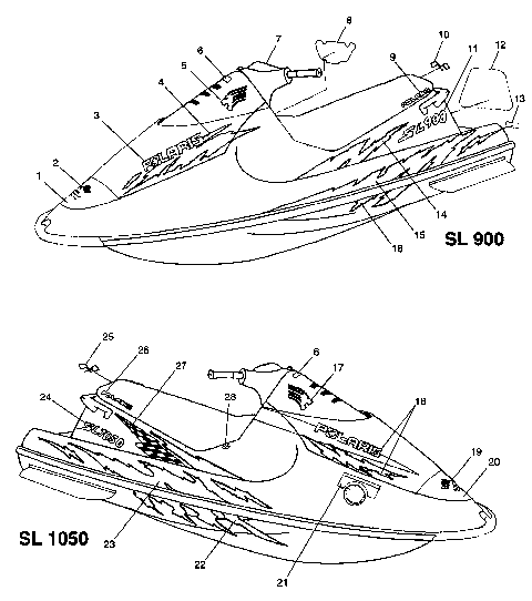
DECALS SL 900 B974091 and SL 1050 B974090 (4940974097A007)
DRIVE SYSTEM SL 900 B974091 and SL 1050 B974090 (4940974097B005)
ELECTRICAL BOX SL 900 B974091 and SL 1050 B974090 (4940974097B013)
ENGINE MOUNTING SL 900 B974091 and SL 1050 B974090 (4940974097B002)
EXHAUST SYSTEM SL 900 B974091 and SL 1050 B974090 (4940974097B007)
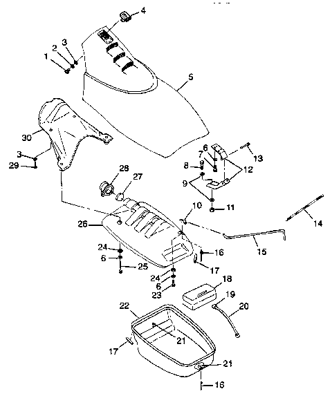
FRONT STORAGE COMPARTMENT SL 900 B974091 and SL 1050 B974090 (4940974097A009)
FUEL SYSTEM SL 900 B974091 and SL 1050 B974090 (4940974097A011)
FUEL TANK SL 900 B974091 and SL 1050 B974090 (4940974097A010)
FUEL/WATER SEPARATOR SL 900 B974091 and SL 1050 B974090 (4940974097C012)
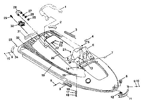
HULL and BODY SL 900 B974091 and SL 1050 B974090 (4940974097A005)
HULL and BODY SL 900 B974091 and SL 1050 B974090 (4940974097A006)
MAGNETO SL 900 B974091 and SL 1050 B974090 (4940974097C010)
OIL PUMP SL 900 B974091 and SL 1050 B974090 (4940974097C009)
OIL TANK SL 900 B974091 and SL 1050 B974090 (4940974097B001)
PROPULSION SL 900 B974091 and SL 1050 B974090 (4940974097B003)
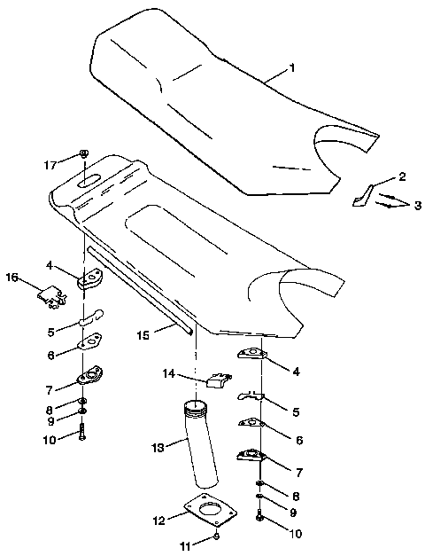
SEAT SL 900 B974091 and SL 1050 B974090 (4940974097A012)
STARTING MOTOR SL 900 B974091 and SL 1050 B974090 (4940974097C011)
STEERING HANDLEBAR SL 900 B974091 and SL 1050 B974090 (4940974097A013)
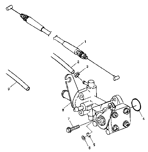
STEERING SL 900 B974091 and SL 1050 B974090 (4940974097A014)
TOOL KIT SL 900 B974091 and SL 1050 B974090 (4940974097C001)
TRIM PACKAGE SL 900 B974091 and SL 1050 B974090 (4940974097B006)
WATER INLET SL 900 B974091 and SL 1050 B974090 (4940974097B012)
AIR VENT SL 900 B974091 and SL 1050 B974090 (4940974097B011)
BATTERY BOX SL 900 B974091 and SL 1050 B974090 (4940974097B008)
BILGE PUMP SL 900 B974091 and SL 1050 B974090 (4940974097B014)
CARBURETOR SL 1050 B974090 (4940974097C007)
CARBURETOR SL 900 B974091 (4940974097C005)
COOLING SYSTEM SL 1050 B974090 (4940974097B010)
COOLING SYSTEM SL 900 B974091 (4940974097B009)
CRANKCASE SL 900 B974091 and SL 1050 B974090 (4940974097C002)
CRANKSHAFT & PISTON SL 900 B974091 and SL 1050 B974090 (4940974097C004)
CYLINDER & MANIFOLD SL 900 B974091 and SL 1050 B974090 (4940974097C003)
DECALS SL 900 B974091 and SL 1050 B974090 (4940974097A007)
DRIVE SYSTEM SL 900 B974091 and SL 1050 B974090 (4940974097B005)
ELECTRICAL BOX SL 900 B974091 and SL 1050 B974090 (4940974097B013)
ENGINE MOUNTING SL 900 B974091 and SL 1050 B974090 (4940974097B002)
EXHAUST SYSTEM SL 900 B974091 and SL 1050 B974090 (4940974097B007)
FRONT STORAGE COMPARTMENT SL 900 B974091 and SL 1050 B974090 (4940974097A009)
FUEL SYSTEM SL 900 B974091 and SL 1050 B974090 (4940974097A011)
FUEL TANK SL 900 B974091 and SL 1050 B974090 (4940974097A010)
FUEL/WATER SEPARATOR SL 900 B974091 and SL 1050 B974090 (4940974097C012)
HULL and BODY SL 900 B974091 and SL 1050 B974090 (4940974097A005)
HULL and BODY SL 900 B974091 and SL 1050 B974090 (4940974097A006)
MAGNETO SL 900 B974091 and SL 1050 B974090 (4940974097C010)
OIL PUMP SL 900 B974091 and SL 1050 B974090 (4940974097C009)
OIL TANK SL 900 B974091 and SL 1050 B974090 (4940974097B001)
PROPULSION SL 900 B974091 and SL 1050 B974090 (4940974097B003)
SEAT SL 900 B974091 and SL 1050 B974090 (4940974097A012)
STARTING MOTOR SL 900 B974091 and SL 1050 B974090 (4940974097C011)
STEERING HANDLEBAR SL 900 B974091 and SL 1050 B974090 (4940974097A013)
STEERING SL 900 B974091 and SL 1050 B974090 (4940974097A014)
TOOL KIT SL 900 B974091 and SL 1050 B974090 (4940974097C001)
TRIM PACKAGE SL 900 B974091 and SL 1050 B974090 (4940974097B006)
WATER INLET SL 900 B974091 and SL 1050 B974090 (4940974097B012)
VIEW WISH LIST