Greenville, TX
|
Give Us a Call
(903) 454-4440
Toggle navigation
Home
Brands
Manufacturer Models
OEM Promotions
Polaris
Can-Am
E-Z-Go
Honda
Kawasaki
Suzuki
Inventory
All Inventory In Stock
New Inventory In Stock
Used Inventory
Value Your Trade-In
Request a Model
Schedule a Test Ride
Secure Financing
Parts
Parts Department
Parts Finder
Service
Service Department
Request Polaris Service
Warranty & Recall Look-Up
Specials
Financing
About
Our Dealership
Our Team
Reviews
Customer Survey
Employment
Events Calendar
Locations
Location & Hours
Contact
Parts Finder
Home
›
Parts
›
Parts Finder
Search by :
Part / Desc
VIN
Please Select
Arctic Cat
Honda
Kawasaki
Polaris
Suzuki
*Please enter at least 3 characters
SEARCH
Manufacturer
Polaris
Watercraft
1996
INTL SLT 780 (I964588)
VIEW WISH LIST
Select a Section
Show/Hide
AIR VENT SLT 780 B964588 and Intl. SLT 780 I964588 (4935683568B007)
BATTERY BOX SLT 780 B964588 and Intl. SLT 780 I964588 (4935683568B005)
BILGE PUMP SLT 780 B964588 and Intl. SLT 780 I964588 (4935683568B012)
CARBURETOR SLT 780 B964588 and Intl. SLT 780 I964588 (4935683568C003)
COOLING SYSTEM SLT 780 B964588 and Intl. SLT 780 I964588 (4935683568B006)
CRANKCASE ASSEMBLY SLT 780 B964588 and Intl. SLT 780 I964588 (4935683568B014)
CRANKSHAFT & PISTON SLT 780 B964588 and Intl. SLT 780 I964588 (4935683568C002)
CYLINDER & MANIFOLD SLT 780 B964588 and Intl. SLT 780 I964588 (4935683568C001)
DECALS SLT 780 B964588 and Intl. SLT 780 I964588 (4935683568A007)
DRIVE SYSTEM SLT 780 B964588 and Intl. SLT 780 I964588 (4935683568B002)
ELECTRICAL BOX SLT 780 B964588 and Intl. SLT 780 I964588 (4935683568B010)
ENGINE FOGGING SYSTEM Intl. SLT 780 I964588 (4935683568C010)
ENGINE MOUNTING SLT 780 B964588 and Intl. SLT 780 I964588 (4935683568B001)
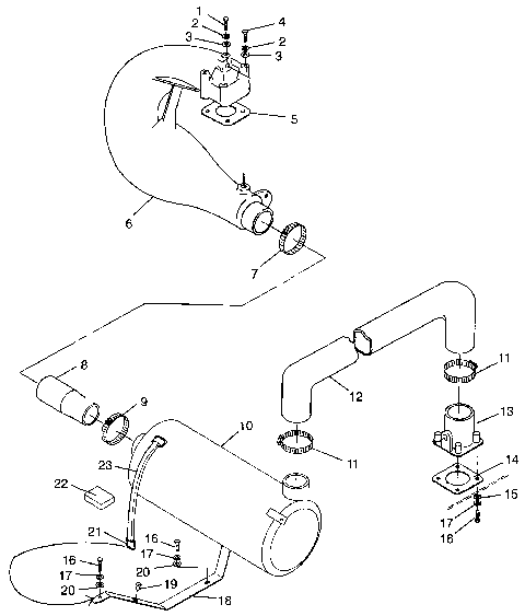
EXHAUST SYSTEM SLT 780 B964588 and Intl. SLT 780 I964588 (4935683568B004)
FRONT STORAGE COMPARTMENT SLT 780 B964588 and Intl. SLT 780 I964588 (4935683568A008)
FUEL PUMP SLT 780 B964588 and Intl. SLT 780 I964588 (4935683568C008)
FUEL SYSTEM SLT 780 B964588 and Intl. SLT 780 I964588 (4935683568A010)
FUEL TANK SLT 780 B964588 and Intl. SLT 780 I964588 (4935683568A009)
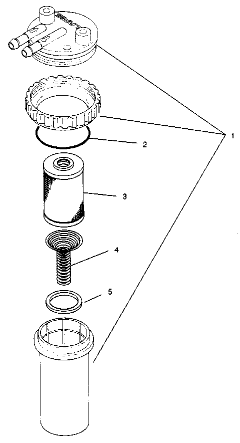
FUEL/WATER SEPARATOR SLT 780 B964588 and Intl. SLT 780 I964588 (4935683568C009)
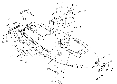
HULL and BODY SLT 780 B964588 and Intl. SLT 780 I964588 (4935683568A005)
HULL and BODY SLT 780 B964588 and Intl. SLT 780 I964588 (4935683568A006)
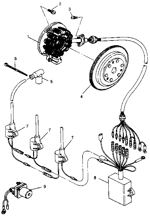
MAGNETO SLT 780 B964588 and Intl. SLT 780 I964588 (4935683568C006)
OIL PUMP SLT 780 B964588 and Intl. SLT 780 I964588 (4935683568C005)
OIL TANK SLT 780 B964588 and Intl. SLT 780 I964588 (4935683568A014)
PROPULSION SLT 780 B964588 and Intl. SLT 780 I964588 (4935683568B003)
REVERSE SLT 780 B964588 and Intl. SLT 780 I964588 (4935683568B011)
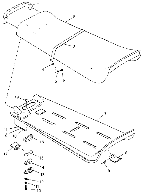
SEAT SLT 780 B964588 and Intl. SLT 780 I964588 (4935683568A011)
STARTING MOTOR SLT 780 B964588 and Intl. SLT 780 I964588 (4935683568C007)
STEERING SLT 780 B964588 and Intl. SLT 780 I964588 (4935683568A012)
STEERING SLT 780 B964588 and Intl. SLT 780 I964588 (4935683568A013)
TOOL KIT SLT 780 B964588 and Intl. SLT 780 I964588 (4935683568B013)
WATER INLET SLT 780 B964588 and Intl. SLT 780 I964588 (4935683568B009)
WATER SIPHON SLT 780 B964588 and Intl. SLT 780 I964588 (4935683568B008)
AIR VENT SLT 780 B964588 and Intl. SLT 780 I964588 (4935683568B007)
BATTERY BOX SLT 780 B964588 and Intl. SLT 780 I964588 (4935683568B005)
BILGE PUMP SLT 780 B964588 and Intl. SLT 780 I964588 (4935683568B012)
CARBURETOR SLT 780 B964588 and Intl. SLT 780 I964588 (4935683568C003)
COOLING SYSTEM SLT 780 B964588 and Intl. SLT 780 I964588 (4935683568B006)
CRANKCASE ASSEMBLY SLT 780 B964588 and Intl. SLT 780 I964588 (4935683568B014)
CRANKSHAFT & PISTON SLT 780 B964588 and Intl. SLT 780 I964588 (4935683568C002)
CYLINDER & MANIFOLD SLT 780 B964588 and Intl. SLT 780 I964588 (4935683568C001)
DECALS SLT 780 B964588 and Intl. SLT 780 I964588 (4935683568A007)
DRIVE SYSTEM SLT 780 B964588 and Intl. SLT 780 I964588 (4935683568B002)
ELECTRICAL BOX SLT 780 B964588 and Intl. SLT 780 I964588 (4935683568B010)
ENGINE FOGGING SYSTEM Intl. SLT 780 I964588 (4935683568C010)
ENGINE MOUNTING SLT 780 B964588 and Intl. SLT 780 I964588 (4935683568B001)
EXHAUST SYSTEM SLT 780 B964588 and Intl. SLT 780 I964588 (4935683568B004)
FRONT STORAGE COMPARTMENT SLT 780 B964588 and Intl. SLT 780 I964588 (4935683568A008)
FUEL PUMP SLT 780 B964588 and Intl. SLT 780 I964588 (4935683568C008)
FUEL SYSTEM SLT 780 B964588 and Intl. SLT 780 I964588 (4935683568A010)
FUEL TANK SLT 780 B964588 and Intl. SLT 780 I964588 (4935683568A009)
FUEL/WATER SEPARATOR SLT 780 B964588 and Intl. SLT 780 I964588 (4935683568C009)
HULL and BODY SLT 780 B964588 and Intl. SLT 780 I964588 (4935683568A005)
HULL and BODY SLT 780 B964588 and Intl. SLT 780 I964588 (4935683568A006)
MAGNETO SLT 780 B964588 and Intl. SLT 780 I964588 (4935683568C006)
OIL PUMP SLT 780 B964588 and Intl. SLT 780 I964588 (4935683568C005)
OIL TANK SLT 780 B964588 and Intl. SLT 780 I964588 (4935683568A014)
PROPULSION SLT 780 B964588 and Intl. SLT 780 I964588 (4935683568B003)
REVERSE SLT 780 B964588 and Intl. SLT 780 I964588 (4935683568B011)
SEAT SLT 780 B964588 and Intl. SLT 780 I964588 (4935683568A011)
STARTING MOTOR SLT 780 B964588 and Intl. SLT 780 I964588 (4935683568C007)
STEERING SLT 780 B964588 and Intl. SLT 780 I964588 (4935683568A012)
STEERING SLT 780 B964588 and Intl. SLT 780 I964588 (4935683568A013)
TOOL KIT SLT 780 B964588 and Intl. SLT 780 I964588 (4935683568B013)
WATER INLET SLT 780 B964588 and Intl. SLT 780 I964588 (4935683568B009)
WATER SIPHON SLT 780 B964588 and Intl. SLT 780 I964588 (4935683568B008)
VIEW WISH LIST