Greenville, TX
|
Give Us a Call
(903) 454-4440
Toggle navigation
Home
Brands
Manufacturer Models
OEM Promotions
Polaris
Can-Am
E-Z-Go
Honda
Kawasaki
Suzuki
Inventory
All Inventory In Stock
New Inventory In Stock
Used Inventory
Value Your Trade-In
Request a Model
Schedule a Test Ride
Secure Financing
Parts
Parts Department
Parts Finder
Service
Service Department
Request Polaris Service
Warranty & Recall Look-Up
Specials
Financing
About
Our Dealership
Our Team
Reviews
Customer Survey
Employment
Events Calendar
Locations
Location & Hours
Contact
Parts Finder
Home
›
Parts
›
Parts Finder
Search by :
Part / Desc
VIN
Please Select
Arctic Cat
Honda
Kawasaki
Polaris
Suzuki
*Please enter at least 3 characters
SEARCH
Manufacturer
Polaris
Watercraft
1996
INTL SLT 700 (I964166)
VIEW WISH LIST
Select a Section
Show/Hide
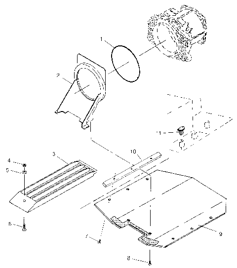
AIR VENT SLT 700 B964166 and Intl. SLT 700 I964166 (4933923392B006)
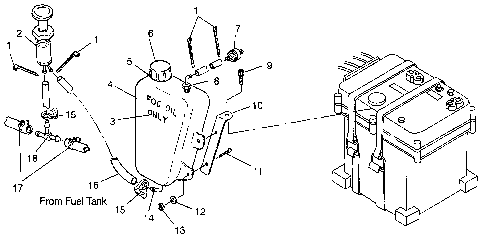
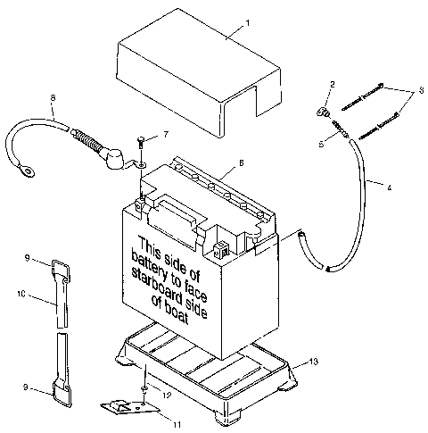
BATTERY BOX SLT 700 B964166 and Intl. SLT 700 I964166 (4933923392B005)
BILGE PUMP SLT 700 B964166 and Intl. SLT 700 I964166 (4933923392C008)
CARBURETOR SLT 700 B964166 and Intl. SLT 700 I964166 (4933923392C002)
COOLING SYSTEM - ENGINE MODEL WC70DCSP01 SLT 700 B964166 and Intl. SLT 700 (4933923392B007)
COOLING SYSTEM - ENGINE MODEL WC70DCSP02 SLT 700 B964166 and Intl. SLT 700 (4933923392B07A)
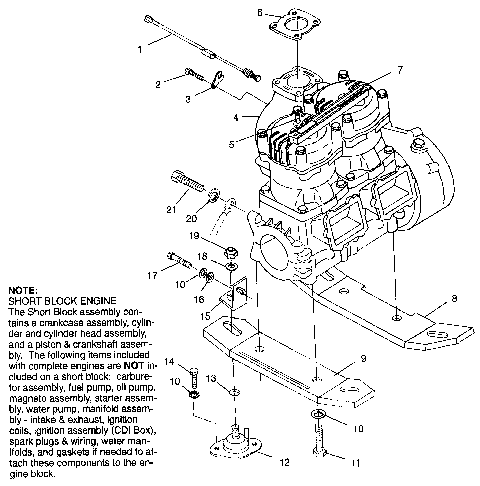
CRANKCASE SLT 700 B964166 and Intl. SLT 700 I964166 (4933923392B013)
CRANKSHAFT & PISTON SLT 700 B964166 and Intl. SLT 700 I964166 (4933923392C001)
CYLINDER & MANIFOLD SLT 700 B964166 and Intl. SLT 700 I964166 (4933923392B014)
DECALS SLT 700 B964166 and Intl. SLT 700 I964166 (4933923392A007)
DRAIN SLT 700 B964166 and Intl. SLT 700 I964166 (4933923392C007)
DRIVE SYSTEM SLT 700 B964166 and Intl. SLT 700 I964166 (4933923392B002)
ELECTRICAL BOX SLT 700 B964166 and Intl. SLT 700 I964166 (4933923392B010)
ENGINE FOGGING SYSTEM Intl. SLT 700 I964166 (4933923392C009)
ENGINE MOUNTING SLT 700 B964166 and Intl. SLT 700 I964166 (4933923392B001)
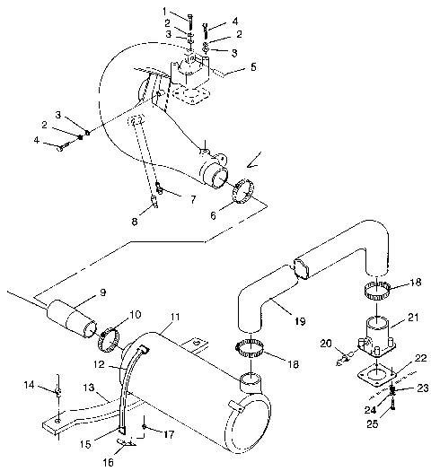
EXHAUST SYSTEM SLT 700 B964166 and Intl. SLT 700 I964166 (4933923392B004)
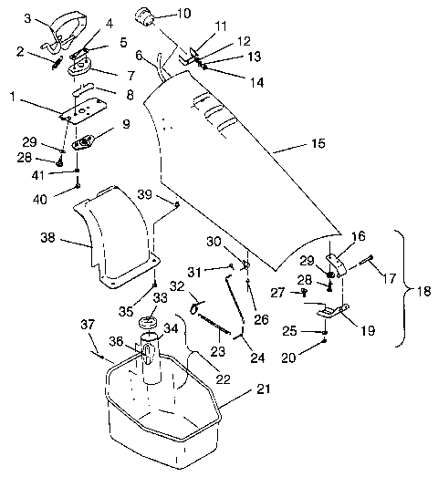
FRONT STORAGE COMPARTMENT SLT 700 B964166 and Intl. SLT 700 I964166 (4933923392A008)
FUEL SYSTEM SLT 700 B964166 and Intl. SLT 700 I964166 (4933923392A010)
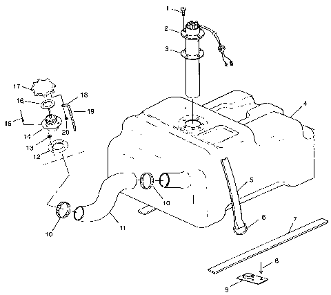
FUEL TANK w/COMBINATION FUEL PICK-UP and SENDER SLT 700 B964166 and Intl. (4933923392A009)
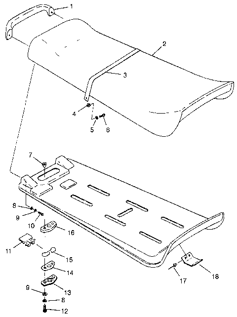
HULL and BODY SLT 700 B964166 and Intl. SLT 700 I964166 (4933923392A005)
HULL and BODY SLT 700 B964166 and Intl. SLT 700 I964166 (4933923392A006)
MAGNETO SLT 700 B964166 and Intl. SLT 700 I964166 (4933923392C005)
OIL PUMP SLT 700 B964166 and Intl. SLT 700 I964166 (4933923392C004)
OIL TANK SLT 700 B964166 and Intl. SLT 700 I964166 (4933923392A014)
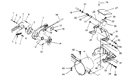
PROPULSION SLT 700 B964166 and Intl. SLT 700 I964166 (4933923392B003)
REVERSE SLT 700 B964166 and Intl. SLT 700 I964166 (4933923392B011)
SEAT SLT 700 B964166 and Intl. SLT 700 I964166 (4933923392A011)
STARTING MOTOR SLT 700 B964166 and Intl. SLT 700 I964166 (4933923392C006)
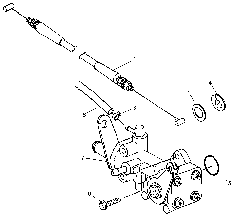
STEERING SLT 700 B964166 and Intl. SLT 700 I964166 (4933923392A012)
STEERING SLT 700 B964166 and Intl. SLT 700 I964166 (4933923392A013)
TOOL KIT SLT 700 B964166 and Intl. SLT 700 I964166 (4933923392B012)
WATER INLET SLT 700 B964166 and Intl. SLT 700 I964166 (4933923392B009)
WATER SIPHON SLT 700 B964166 and Intl. SLT 700 I964166 (4933923392B008)
AIR VENT SLT 700 B964166 and Intl. SLT 700 I964166 (4933923392B006)
BATTERY BOX SLT 700 B964166 and Intl. SLT 700 I964166 (4933923392B005)
BILGE PUMP SLT 700 B964166 and Intl. SLT 700 I964166 (4933923392C008)
CARBURETOR SLT 700 B964166 and Intl. SLT 700 I964166 (4933923392C002)
COOLING SYSTEM - ENGINE MODEL WC70DCSP01 SLT 700 B964166 and Intl. SLT 700 (4933923392B007)
COOLING SYSTEM - ENGINE MODEL WC70DCSP02 SLT 700 B964166 and Intl. SLT 700 (4933923392B07A)
CRANKCASE SLT 700 B964166 and Intl. SLT 700 I964166 (4933923392B013)
CRANKSHAFT & PISTON SLT 700 B964166 and Intl. SLT 700 I964166 (4933923392C001)
CYLINDER & MANIFOLD SLT 700 B964166 and Intl. SLT 700 I964166 (4933923392B014)
DECALS SLT 700 B964166 and Intl. SLT 700 I964166 (4933923392A007)
DRAIN SLT 700 B964166 and Intl. SLT 700 I964166 (4933923392C007)
DRIVE SYSTEM SLT 700 B964166 and Intl. SLT 700 I964166 (4933923392B002)
ELECTRICAL BOX SLT 700 B964166 and Intl. SLT 700 I964166 (4933923392B010)
ENGINE FOGGING SYSTEM Intl. SLT 700 I964166 (4933923392C009)
ENGINE MOUNTING SLT 700 B964166 and Intl. SLT 700 I964166 (4933923392B001)
EXHAUST SYSTEM SLT 700 B964166 and Intl. SLT 700 I964166 (4933923392B004)
FRONT STORAGE COMPARTMENT SLT 700 B964166 and Intl. SLT 700 I964166 (4933923392A008)
FUEL SYSTEM SLT 700 B964166 and Intl. SLT 700 I964166 (4933923392A010)
FUEL TANK w/COMBINATION FUEL PICK-UP and SENDER SLT 700 B964166 and Intl. (4933923392A009)
HULL and BODY SLT 700 B964166 and Intl. SLT 700 I964166 (4933923392A005)
HULL and BODY SLT 700 B964166 and Intl. SLT 700 I964166 (4933923392A006)
MAGNETO SLT 700 B964166 and Intl. SLT 700 I964166 (4933923392C005)
OIL PUMP SLT 700 B964166 and Intl. SLT 700 I964166 (4933923392C004)
OIL TANK SLT 700 B964166 and Intl. SLT 700 I964166 (4933923392A014)
PROPULSION SLT 700 B964166 and Intl. SLT 700 I964166 (4933923392B003)
REVERSE SLT 700 B964166 and Intl. SLT 700 I964166 (4933923392B011)
SEAT SLT 700 B964166 and Intl. SLT 700 I964166 (4933923392A011)
STARTING MOTOR SLT 700 B964166 and Intl. SLT 700 I964166 (4933923392C006)
STEERING SLT 700 B964166 and Intl. SLT 700 I964166 (4933923392A012)
STEERING SLT 700 B964166 and Intl. SLT 700 I964166 (4933923392A013)
TOOL KIT SLT 700 B964166 and Intl. SLT 700 I964166 (4933923392B012)
WATER INLET SLT 700 B964166 and Intl. SLT 700 I964166 (4933923392B009)
WATER SIPHON SLT 700 B964166 and Intl. SLT 700 I964166 (4933923392B008)
VIEW WISH LIST