Greenville, TX
|
Give Us a Call
(903) 454-4440
Toggle navigation
Home
Brands
Manufacturer Models
OEM Promotions
Polaris
Can-Am
E-Z-Go
Honda
Kawasaki
Suzuki
Inventory
All Inventory In Stock
New Inventory In Stock
Used Inventory
Value Your Trade-In
Request a Model
Schedule a Test Ride
Secure Financing
Parts
Parts Department
Parts Finder
Service
Service Department
Request Polaris Service
Warranty & Recall Look-Up
Specials
Financing
About
Our Dealership
Our Team
Reviews
Customer Survey
Employment
Events Calendar
Locations
Location & Hours
Contact
Parts Finder
Home
›
Parts
›
Parts Finder
Search by :
Part / Desc
VIN
Please Select
Arctic Cat
Honda
Kawasaki
Polaris
Suzuki
*Please enter at least 3 characters
SEARCH
Manufacturer
Polaris
Snowmobiles
2008
340 TRANSPORT/EURO (S08NT3AS/ASA/AE)
VIEW WISH LIST
Select a Section
Show/Hide
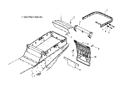
BODY, CARGO BOX, SNOWSKIRT and TAILLIGHT ASM. - S08NT3AS/ASA/AE (49SNOWCARGO340TOUR)
BODY, CONSOLE, ELECRICAL COMPONENTS and WIRE HARNESSES - S08NT3AS/ASA/AE (49SNOWCONSOLE550LX)
BODY, DECALS - S08NT3AS/ASA/AE (49SNOWDECAL08340TR)
BODY, HOOD ASM. 1 - S08NT3AS/ASA (49SNOWHOODHEADLIGHT340LX)
BODY, HOOD ASM. 2 (EURO) - S08NT5BE (49SNOWHOODTRAILTRG)
BODY, HOOD ASM. 2 - S08NT3AS (49SNOWHOOD08340)
BODY, HOOD FOAM, FOIL and SCREENS - S08NT3AS/ASA/AE (4997299729A12)
BODY, NOSEPAN ASM. and FRONT BUMPER - S08NT3AS/ASA/AE (49SNOWNOSEPAN08340)
BODY, NOSEPAN, FOIL and CLUTCH GUARD - S08NT3AS/ASA/AE (49SNOWNOSEPANFOIL08340)
BODY, SEAT - S08NT3AS/ASA/AE (49SNOWSEAT08340TR)
BRAKES, BRAKE SYSTEM - S08NT3AS/ASA/AE (4997239723B04)
CHASSIS, CHASSIS ASM. - S08NT3AS/ASA/AE (49SNOWCHASSIS08340TR)
CHASSIS, REAR BUMPER, HITCH and SNOW FLAP - S08NT3AS/ASA/AE (4997299729A06)
DRIVE TRAIN, CHAINCASE - S08NT3AS/ASA/AE (4997239723C04)
DRIVE TRAIN, DRIVE SHAFT and JACKSHAFT - S08NT3AS/ASA/AE (49SNOWDRIVETRAIN08340TR)
DRIVE TRAIN, PRIMARY CLUTCH - S08NT3AS/ASA/AE (49SNOWDRIVECLUTCH08340TR)
DRIVE TRAIN, SECONDARY CLUTCH - S08NT3AS/ASA/AE (49SNOWDRIVENCLUTCHTRAILRMK)
ENGINE, BLOWER HOUSING and RECOIL STARTER - S08NT3AS/ASA/AE (4997199719C06)
ENGINE, CARBURETOR - S08NT3AS/ASA/AE (4997199719C10)
ENGINE, CRANKCASE - S08NT3AS/ASA/AE (4997199719C03)
ENGINE, CYLINDER - S08NT3AS/ASA/AE (4997199719C04)
ENGINE, EXHAUST SYSTEM - S08NT3AS/ASA/AE (4997299729C04)
ENGINE, FUEL PUMP - S08NT3AS/ASA/AE (4997199719C07)
ENGINE, MAGNETO - S08NT3AS/ASA/AE (49SNOWMAGNETO08340)
ENGINE, MOUNTING - S08NT3AS/ASA/AE (49SNOWENGINEMOUNT08340TR)
ENGINE, OIL PUMP - S08NT3AS/ASA/AE (4997199719C08)
ENGINE, OIL TANK and AIRBOX ASM. - S08NT3AS/ASA/AE (4997299729C01)
ENGINE, PISTON and CRANKSHAFT - S08NT3AS/ASA/AE (4997199719C05)
FUEL SYSTEM, FUEL TANK and PUMP - S08NT3AS/ASA/AE (49SNOWFUEL08340TR)
STEERING, HANDLEBAR and CONTROLS - S08NT3AS/ASA/AE (49SNOWHANDLEBAR550)
STEERING, LOWER - S08NT3AS/ASA/AE (4997299729B02)
STEERING, SKI - S08NT3AS/ASA/AE (49SNOWSKIASM08340)
STEERING, STEERING POST and HOOP - S08NT3AS/ASA/AE (4997259725B02)
SUSPENSION, FRONT - S08NT3AS/ASA/AE (4997239723A12)
SUSPENSION, RAIL MOUNTING - S08NT3AS/ASA/AE (49SNOWSUSPRAIL08340TR)
SUSPENSION, REAR - S08NT3AS/ASA/AE (49SNOWSUSPRR340TOUR)
SUSPENSION, TORQUE ARM, FRONT, and SHOCK - S08NT3AS/ASA/AE (4997299729B09)
SUSPENSION, TORQUE ARM, REAR, and SHOCK - S08NT3AS/ASA/AE (4997299729B10)
TOOLS, TOOL KIT and OWNERS MANUAL - S08NT3AS/ASA/AE (49SNOWTOOL08340TR)
BODY, CARGO BOX, SNOWSKIRT and TAILLIGHT ASM. - S08NT3AS/ASA/AE (49SNOWCARGO340TOUR)
BODY, CONSOLE, ELECRICAL COMPONENTS and WIRE HARNESSES - S08NT3AS/ASA/AE (49SNOWCONSOLE550LX)
BODY, DECALS - S08NT3AS/ASA/AE (49SNOWDECAL08340TR)
BODY, HOOD ASM. 1 - S08NT3AS/ASA (49SNOWHOODHEADLIGHT340LX)
BODY, HOOD ASM. 2 (EURO) - S08NT5BE (49SNOWHOODTRAILTRG)
BODY, HOOD ASM. 2 - S08NT3AS (49SNOWHOOD08340)
BODY, HOOD FOAM, FOIL and SCREENS - S08NT3AS/ASA/AE (4997299729A12)
BODY, NOSEPAN ASM. and FRONT BUMPER - S08NT3AS/ASA/AE (49SNOWNOSEPAN08340)
BODY, NOSEPAN, FOIL and CLUTCH GUARD - S08NT3AS/ASA/AE (49SNOWNOSEPANFOIL08340)
BODY, SEAT - S08NT3AS/ASA/AE (49SNOWSEAT08340TR)
BRAKES, BRAKE SYSTEM - S08NT3AS/ASA/AE (4997239723B04)
CHASSIS, CHASSIS ASM. - S08NT3AS/ASA/AE (49SNOWCHASSIS08340TR)
CHASSIS, REAR BUMPER, HITCH and SNOW FLAP - S08NT3AS/ASA/AE (4997299729A06)
DRIVE TRAIN, CHAINCASE - S08NT3AS/ASA/AE (4997239723C04)
DRIVE TRAIN, DRIVE SHAFT and JACKSHAFT - S08NT3AS/ASA/AE (49SNOWDRIVETRAIN08340TR)
DRIVE TRAIN, PRIMARY CLUTCH - S08NT3AS/ASA/AE (49SNOWDRIVECLUTCH08340TR)
DRIVE TRAIN, SECONDARY CLUTCH - S08NT3AS/ASA/AE (49SNOWDRIVENCLUTCHTRAILRMK)
ENGINE, BLOWER HOUSING and RECOIL STARTER - S08NT3AS/ASA/AE (4997199719C06)
ENGINE, CARBURETOR - S08NT3AS/ASA/AE (4997199719C10)
ENGINE, CRANKCASE - S08NT3AS/ASA/AE (4997199719C03)
ENGINE, CYLINDER - S08NT3AS/ASA/AE (4997199719C04)
ENGINE, EXHAUST SYSTEM - S08NT3AS/ASA/AE (4997299729C04)
ENGINE, FUEL PUMP - S08NT3AS/ASA/AE (4997199719C07)
ENGINE, MAGNETO - S08NT3AS/ASA/AE (49SNOWMAGNETO08340)
ENGINE, MOUNTING - S08NT3AS/ASA/AE (49SNOWENGINEMOUNT08340TR)
ENGINE, OIL PUMP - S08NT3AS/ASA/AE (4997199719C08)
ENGINE, OIL TANK and AIRBOX ASM. - S08NT3AS/ASA/AE (4997299729C01)
ENGINE, PISTON and CRANKSHAFT - S08NT3AS/ASA/AE (4997199719C05)
FUEL SYSTEM, FUEL TANK and PUMP - S08NT3AS/ASA/AE (49SNOWFUEL08340TR)
STEERING, HANDLEBAR and CONTROLS - S08NT3AS/ASA/AE (49SNOWHANDLEBAR550)
STEERING, LOWER - S08NT3AS/ASA/AE (4997299729B02)
STEERING, SKI - S08NT3AS/ASA/AE (49SNOWSKIASM08340)
STEERING, STEERING POST and HOOP - S08NT3AS/ASA/AE (4997259725B02)
SUSPENSION, FRONT - S08NT3AS/ASA/AE (4997239723A12)
SUSPENSION, RAIL MOUNTING - S08NT3AS/ASA/AE (49SNOWSUSPRAIL08340TR)
SUSPENSION, REAR - S08NT3AS/ASA/AE (49SNOWSUSPRR340TOUR)
SUSPENSION, TORQUE ARM, FRONT, and SHOCK - S08NT3AS/ASA/AE (4997299729B09)
SUSPENSION, TORQUE ARM, REAR, and SHOCK - S08NT3AS/ASA/AE (4997299729B10)
TOOLS, TOOL KIT and OWNERS MANUAL - S08NT3AS/ASA/AE (49SNOWTOOL08340TR)
VIEW WISH LIST