Greenville, TX
|
Give Us a Call
(903) 454-4440
Toggle navigation
Home
Brands
Manufacturer Models
OEM Promotions
Polaris
Can-Am
E-Z-Go
Honda
Kawasaki
Suzuki
Inventory
All Inventory In Stock
New Inventory In Stock
Used Inventory
Value Your Trade-In
Request a Model
Schedule a Test Ride
Secure Financing
Parts
Parts Department
Parts Finder
Service
Service Department
Request Polaris Service
Warranty & Recall Look-Up
Specials
Financing
About
Our Dealership
Our Team
Reviews
Customer Survey
Employment
Events Calendar
Locations
Location & Hours
Contact
Parts Finder
Home
›
Parts
›
Parts Finder
Search by :
Part / Desc
VIN
Please Select
Arctic Cat
Honda
Kawasaki
Polaris
Suzuki
*Please enter at least 3 characters
SEARCH
Manufacturer
Kawasaki
Utility Vehicles
2026
RIDGE® CREW HVAC CAMO (KWT1000MTFAN)
VIEW WISH LIST
Select a Section
Show/Hide
Air Cleaner
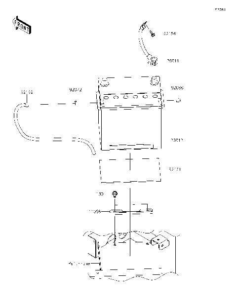
Battery
Bevel Gear
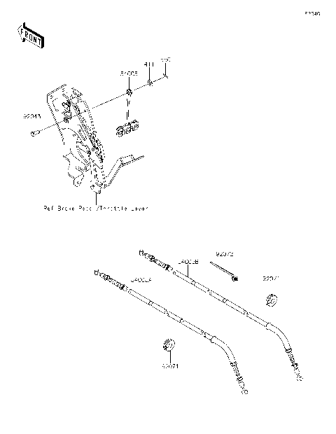
Brake Pedal/Throttle Lever
Brake Piping
Cables
Camshaft(s)/Tensioner
Carrier(s)
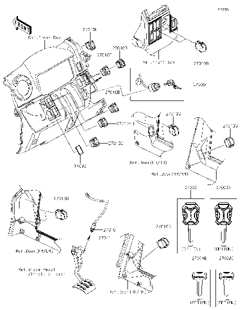
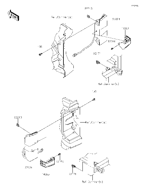
Chassis Electrical Equipment
Compressor
Control
Converter Cover
Crankcase
Crankcase Bolt Pattern
Crankshaft
Cylinder Head
Cylinder Head Cover
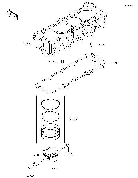
Cylinder/Piston(s)
Decals(Beige)(MTFNN/MTFNL)
Decals(Camouflage)(MTFAN/MTFAL)
Decals(Gray)(MTFNN/MTFNL)
Door(FR/Hinge)
Door(FR/LH)
Door(FR/RH)
Door(RR/Hinge)
Door(RR/LH)
Door(RR/RH)
Drive Converter
Drive Shaft-Front
Drive Shaft-Propeller
Drive Shaft-Rear
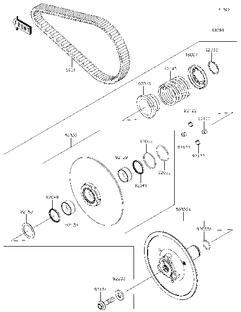
Driven Converter/Drive Belt
Engine Cover(s)
Engine Mount
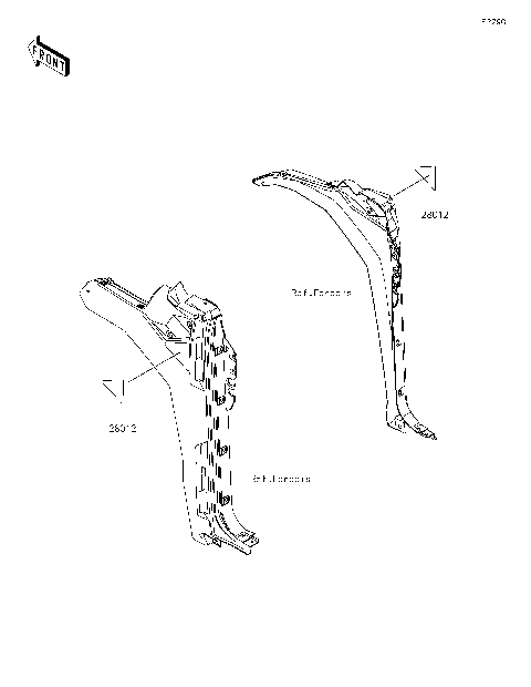
Fenders
Frame
Frame Fittings(Front)
Frame Fittings(Middle)
Frame Fittings(Rear)
Front Box
Front Brake
Front Fender(s)
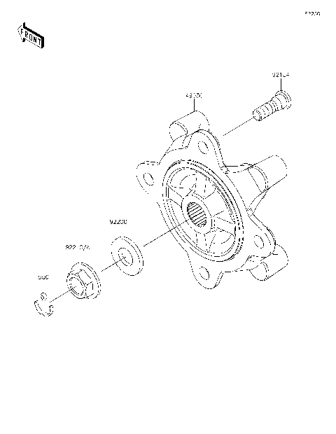
Front Hubs/Brakes
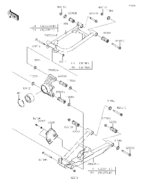
Front Suspension
Fuel Evaporative System(CA)
Fuel Injection
Fuel Pump
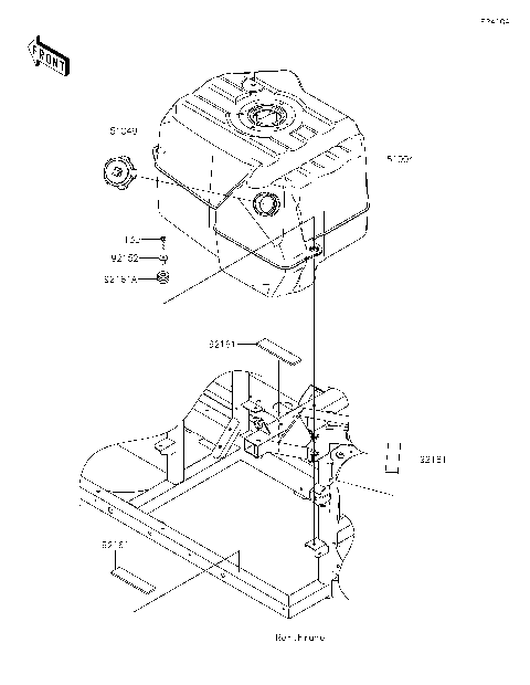
Fuel Tank(CA)
Fuel Tank(CN,US)
Gear Box
Gear Change Drum/Shift Fork(s)
Gear Change Mechanism
Generator
Guard(s)
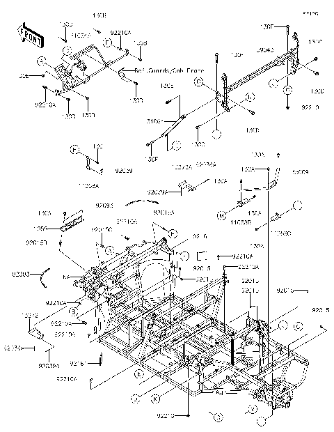
Guards/Cab Frame
Harness
Headlight(s)
Heat Exchanger Equipment
HVAC Unit
Ignition Switch
Ignition System
Labels
Master Cylinder
Meter(s)
Muffler(s)
Oil Pan
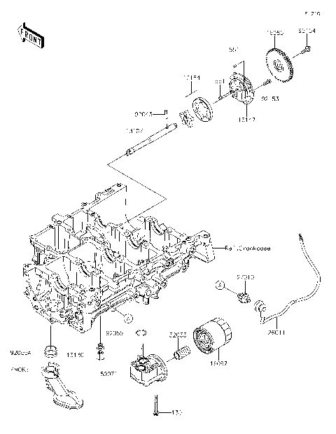
Oil Pump/Oil Filter
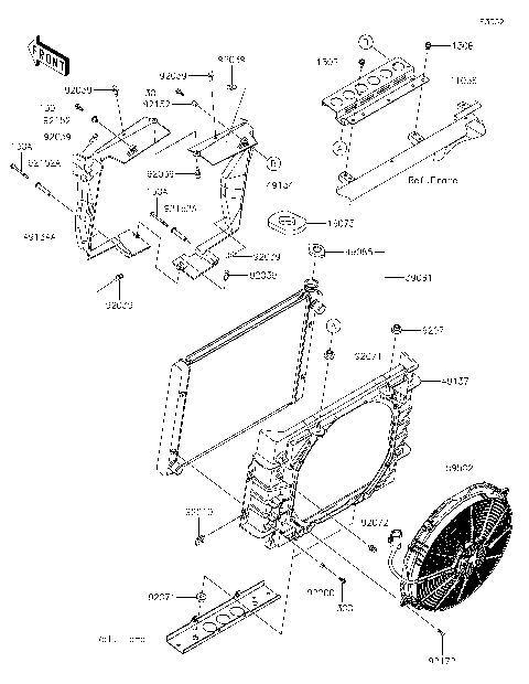
Radiator
Rear Brake
Rear Hubs/Brakes
Rear Suspension
Reflectors
Seat(Front)
Seat(Rear)
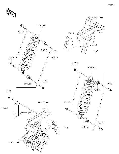
Shock Absorber(s)
Side Covers
Starter Motor
Steering Shaft
Steering Wheel
Sun Top
Taillight(s)
Throttle
Transmission
Valve(s)
Water Pipe
Water Pump
Wheels/Tires
Air Cleaner
Battery
Bevel Gear
Brake Pedal/Throttle Lever
Brake Piping
Cables
Camshaft(s)/Tensioner
Carrier(s)
Chassis Electrical Equipment
Compressor
Control
Converter Cover
Crankcase
Crankcase Bolt Pattern
Crankshaft
Cylinder Head
Cylinder Head Cover
Cylinder/Piston(s)
Decals(Beige)(MTFNN/MTFNL)
Decals(Camouflage)(MTFAN/MTFAL)
Decals(Gray)(MTFNN/MTFNL)
Door(FR/Hinge)
Door(FR/LH)
Door(FR/RH)
Door(RR/Hinge)
Door(RR/LH)
Door(RR/RH)
Drive Converter
Drive Shaft-Front
Drive Shaft-Propeller
Drive Shaft-Rear
Driven Converter/Drive Belt
Engine Cover(s)
Engine Mount
Fenders
Frame
Frame Fittings(Front)
Frame Fittings(Middle)
Frame Fittings(Rear)
Front Box
Front Brake
Front Fender(s)
Front Hubs/Brakes
Front Suspension
Fuel Evaporative System(CA)
Fuel Injection
Fuel Pump
Fuel Tank(CA)
Fuel Tank(CN,US)
Gear Box
Gear Change Drum/Shift Fork(s)
Gear Change Mechanism
Generator
Guard(s)
Guards/Cab Frame
Harness
Headlight(s)
Heat Exchanger Equipment
HVAC Unit
Ignition Switch
Ignition System
Labels
Master Cylinder
Meter(s)
Muffler(s)
Oil Pan
Oil Pump/Oil Filter
Radiator
Rear Brake
Rear Hubs/Brakes
Rear Suspension
Reflectors
Seat(Front)
Seat(Rear)
Shock Absorber(s)
Side Covers
Starter Motor
Steering Shaft
Steering Wheel
Sun Top
Taillight(s)
Throttle
Transmission
Valve(s)
Water Pipe
Water Pump
Wheels/Tires
VIEW WISH LIST