Greenville, TX
|
Give Us a Call
(903) 454-4440
Toggle navigation
Home
Brands
Manufacturer Models
OEM Promotions
Polaris
Can-Am
E-Z-Go
Honda
Kawasaki
Suzuki
Inventory
All Inventory In Stock
New Inventory In Stock
Used Inventory
Value Your Trade-In
Request a Model
Schedule a Test Ride
Secure Financing
Parts
Parts Department
Parts Finder
Service
Service Department
Request Polaris Service
Warranty & Recall Look-Up
Specials
Financing
About
Our Dealership
Our Team
Reviews
Customer Survey
Employment
Events Calendar
Locations
Location & Hours
Contact
Parts Finder
Home
›
Parts
›
Parts Finder
Search by :
Part / Desc
VIN
Please Select
Arctic Cat
Honda
Kawasaki
Polaris
Suzuki
*Please enter at least 3 characters
SEARCH
Manufacturer
Honda
Motorcycles
2020
CRF250R AC
VIEW WISH LIST
Select a Section
Show/Hide
AIR CLEANER
ALTERNATOR
BALANCER
BATTERY
CAM CHAIN@TENSIONER
CAMSHAFT@VALVE
CAUTION LABELS
CLUTCH
CRANKCASE
CRANKSHAFT@PISTON
CUSHION ARM
CYLINDER
CYLINDER HEAD
CYLINDER HEAD COVER
FRAME
FRONT BRAKE CALIPER
FRONT BRAKE MASTER
FRONT FENDER
FRONT FORK
FRONT WHEEL
FUEL TANK (1)
GASKET KIT A
GASKET KIT B
GEARSHIFT DRUM
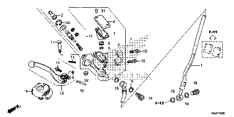
HANDLE LEVER@SWITCH@CABLE
HANDLEBAR@TOP BRIDGE (2)
LEFT CRANKCASE COVER
MARKS
MUFFLER
OIL PUMP
PEDAL
RADIATOR
RADIATOR SHROUD (1)
REAR BRAKE CALIPER
REAR BRAKE MASTER
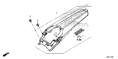
REAR FENDER
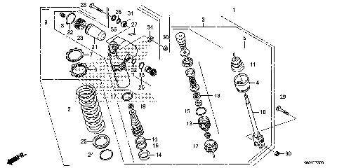
REAR SHOCK ABSORBER
REAR WHEEL
RIGHT CRANKCASE COVER
SEAT@SIDE COVER
STARTING CLUTCH
STARTING MOTOR
STEERING STEM
STEP@STAND
SWINGARM
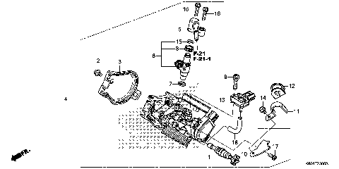
THROTTLE BODY
TOOLS
TRANSMISSION
WIRE HARNESS (2)
AIR CLEANER
ALTERNATOR
BALANCER
BATTERY
CAM CHAIN@TENSIONER
CAMSHAFT@VALVE
CAUTION LABELS
CLUTCH
CRANKCASE
CRANKSHAFT@PISTON
CUSHION ARM
CYLINDER
CYLINDER HEAD
CYLINDER HEAD COVER
FRAME
FRONT BRAKE CALIPER
FRONT BRAKE MASTER
FRONT FENDER
FRONT FORK
FRONT WHEEL
FUEL TANK (1)
GASKET KIT A
GASKET KIT B
GEARSHIFT DRUM
HANDLE LEVER@SWITCH@CABLE
HANDLEBAR@TOP BRIDGE (2)
LEFT CRANKCASE COVER
MARKS
MUFFLER
OIL PUMP
PEDAL
RADIATOR
RADIATOR SHROUD (1)
REAR BRAKE CALIPER
REAR BRAKE MASTER
REAR FENDER
REAR SHOCK ABSORBER
REAR WHEEL
RIGHT CRANKCASE COVER
SEAT@SIDE COVER
STARTING CLUTCH
STARTING MOTOR
STEERING STEM
STEP@STAND
SWINGARM
THROTTLE BODY
TOOLS
TRANSMISSION
WIRE HARNESS (2)
VIEW WISH LIST