Greenville, TX
|
Give Us a Call
(903) 454-4440
Toggle navigation
Home
Brands
Manufacturer Models
OEM Promotions
Polaris
Can-Am
E-Z-Go
Honda
Kawasaki
Suzuki
Inventory
All Inventory In Stock
New Inventory In Stock
Used Inventory
Value Your Trade-In
Request a Model
Schedule a Test Ride
Secure Financing
Parts
Parts Department
Parts Finder
Service
Service Department
Request Polaris Service
Warranty & Recall Look-Up
Specials
Financing
About
Our Dealership
Our Team
Reviews
Customer Survey
Employment
Events Calendar
Locations
Location & Hours
Contact
Parts Finder
Home
›
Parts
›
Parts Finder
Search by :
Part / Desc
VIN
Please Select
Arctic Cat
Honda
Kawasaki
Polaris
Suzuki
*Please enter at least 3 characters
SEARCH
Manufacturer
Arctic Cat
Watercraft
1999
TS R [W1999TSPRAUS-1999-32-06]
VIEW WISH LIST
Select a Section
Show/Hide
BILGE PUMP ASSEMBLY [73473]
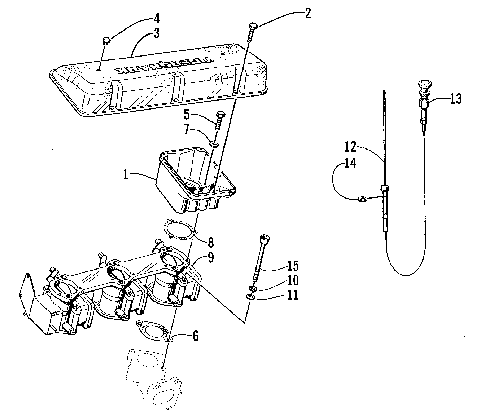
CARBURETOR [73527]
CRANKCASE ASSEMBLY [73544]
CRANKSHAFT ASSEMBLY [73549]
CYLINDER ASSEMBLY [73523]
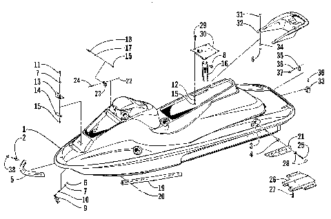
DECAL AND FOOTPAD ASSEMBLY [73534]
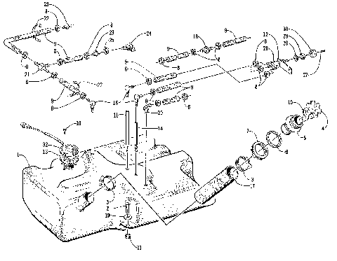
ELECTRICAL MODULE AND BATTERY [73546]
ENGINE AND RELATED ASSEMBLY [73531]
EXHAUST MANIFOLD ASSEMBLY [73547]
EXPANSION CHAMBER ASSEMBLY [73539]
FUEL TANK ASSEMBLY [73536]
HANDLEBAR ASSEMBLY [73528]
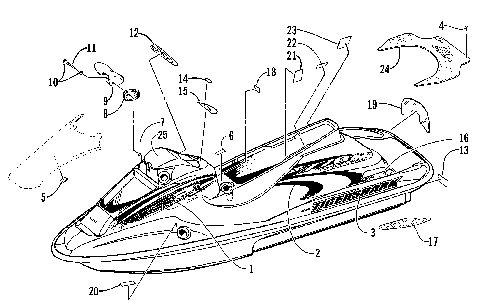
HATCH COVER AND STORAGE TRAY [73484]
HULL AND RELATED PARTS ASSEMBLY [73533]
IGNITION COIL [73525]
IMPELLER DRIVE ASSEMBLY [73538]
INSTRUMENT ASSEMBLY [73535]
INTAKE ASSEMBLY [73530]
MAGNETO [73522]
OIL PUMP ASSEMBLY [73545]
OIL TANK ASSEMBLY [73537]
REED VALVE ASSEMBLY [73548]
SEAT ASSEMBLY [73529]
SENSOR ASSEMBLY [300885]
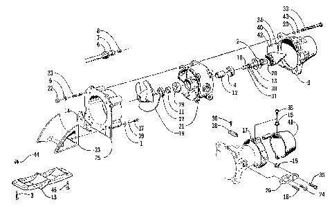
STARTER MOTOR ASSEMBLY [72987]
STEERING POST ASSEMBLY [73482]
TRIM ASSEMBLY [73483]
WATER FILTER ASSEMBLY [73543]
WIRING HARNESS [73300]
BILGE PUMP ASSEMBLY [73473]
CARBURETOR [73527]
CRANKCASE ASSEMBLY [73544]
CRANKSHAFT ASSEMBLY [73549]
CYLINDER ASSEMBLY [73523]
DECAL AND FOOTPAD ASSEMBLY [73534]
ELECTRICAL MODULE AND BATTERY [73546]
ENGINE AND RELATED ASSEMBLY [73531]
EXHAUST MANIFOLD ASSEMBLY [73547]
EXPANSION CHAMBER ASSEMBLY [73539]
FUEL TANK ASSEMBLY [73536]
HANDLEBAR ASSEMBLY [73528]
HATCH COVER AND STORAGE TRAY [73484]
HULL AND RELATED PARTS ASSEMBLY [73533]
IGNITION COIL [73525]
IMPELLER DRIVE ASSEMBLY [73538]
INSTRUMENT ASSEMBLY [73535]
INTAKE ASSEMBLY [73530]
MAGNETO [73522]
OIL PUMP ASSEMBLY [73545]
OIL TANK ASSEMBLY [73537]
REED VALVE ASSEMBLY [73548]
SEAT ASSEMBLY [73529]
SENSOR ASSEMBLY [300885]
STARTER MOTOR ASSEMBLY [72987]
STEERING POST ASSEMBLY [73482]
TRIM ASSEMBLY [73483]
WATER FILTER ASSEMBLY [73543]
WIRING HARNESS [73300]
VIEW WISH LIST