Greenville, TX
|
Give Us a Call
(903) 454-4440
Toggle navigation
Home
Brands
Manufacturer Models
OEM Promotions
Polaris
Can-Am
E-Z-Go
Honda
Kawasaki
Suzuki
Inventory
All Inventory In Stock
New Inventory In Stock
Used Inventory
Value Your Trade-In
Request a Model
Schedule a Test Ride
Secure Financing
Parts
Parts Department
Parts Finder
Service
Service Department
Request Polaris Service
Warranty & Recall Look-Up
Specials
Financing
About
Our Dealership
Our Team
Reviews
Customer Survey
Employment
Events Calendar
Locations
Location & Hours
Contact
Parts Finder
Home
›
Parts
›
Parts Finder
Search by :
Part / Desc
VIN
Please Select
Arctic Cat
Honda
Kawasaki
Polaris
Suzuki
*Please enter at least 3 characters
SEARCH
Manufacturer
Arctic Cat
Watercraft
1999
TS LI [W1999TSPLAUS-1999-122]
VIEW WISH LIST
Select a Section
Show/Hide
BILGE PUMP ASSEMBLY [73473]
CRANKCASE ASSEMBLY [54162]
CRANKSHAFT ASSEMBLY [54159]
CYLINDER ASSEMBLY [54161]
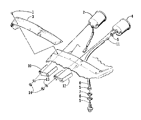
DECAL AND FOOTPAD ASSEMBLY [54151]
ELECTRICAL MODULE AND BATTERY [54165]
ENGINE AND RELATED ASSEMBLY [54143]
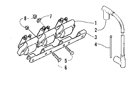
EXHAUST MANIFOLD ASSEMBLY [54163]
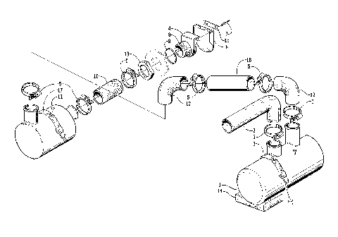
EXPANSION CHAMBER ASSEMBLY [54152]
FUEL INJECTOR ASSEMBLY [54155]
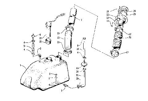
FUEL TANK ASSEMBLY [54160]
HANDLEBAR ASSEMBLY [73310]
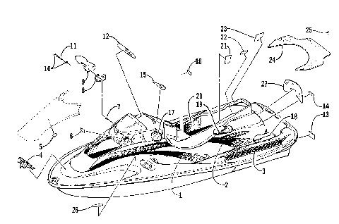
HATCH COVER AND STORAGE TRAY [54147]
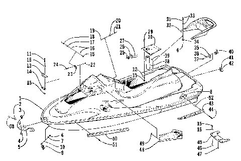
HULL AND RELATED PARTS ASSEMBLY [54145]
IGNITION COIL [54167]
IMPELLER DRIVE ASSEMBLY [54157]
INSTRUMENT ASSEMBLY [73454]
INTAKE ASSEMBLY [54156]
MAGNETO [54166]
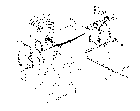
MUFFLER ASSEMBLY [54153]
OIL PUMP ASSEMBLY [54164]
OIL TANK ASSEMBLY [54148]
REED VALVE ASSEMBLY [54158]
REVERSE DEFLECTOR AND LEVER ASSEMBLY [54149]
SEAT ASSEMBLY [54141]
SENSOR ASSEMBLY [300885]
STARTER MOTOR ASSEMBLY [72838]
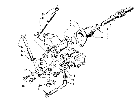
STEERING POST ASSEMBLY [73446]
WATER FILTER ASSEMBLY [73543]
WIRING HARNESS [54154]
BILGE PUMP ASSEMBLY [73473]
CRANKCASE ASSEMBLY [54162]
CRANKSHAFT ASSEMBLY [54159]
CYLINDER ASSEMBLY [54161]
DECAL AND FOOTPAD ASSEMBLY [54151]
ELECTRICAL MODULE AND BATTERY [54165]
ENGINE AND RELATED ASSEMBLY [54143]
EXHAUST MANIFOLD ASSEMBLY [54163]
EXPANSION CHAMBER ASSEMBLY [54152]
FUEL INJECTOR ASSEMBLY [54155]
FUEL TANK ASSEMBLY [54160]
HANDLEBAR ASSEMBLY [73310]
HATCH COVER AND STORAGE TRAY [54147]
HULL AND RELATED PARTS ASSEMBLY [54145]
IGNITION COIL [54167]
IMPELLER DRIVE ASSEMBLY [54157]
INSTRUMENT ASSEMBLY [73454]
INTAKE ASSEMBLY [54156]
MAGNETO [54166]
MUFFLER ASSEMBLY [54153]
OIL PUMP ASSEMBLY [54164]
OIL TANK ASSEMBLY [54148]
REED VALVE ASSEMBLY [54158]
REVERSE DEFLECTOR AND LEVER ASSEMBLY [54149]
SEAT ASSEMBLY [54141]
SENSOR ASSEMBLY [300885]
STARTER MOTOR ASSEMBLY [72838]
STEERING POST ASSEMBLY [73446]
WATER FILTER ASSEMBLY [73543]
WIRING HARNESS [54154]
VIEW WISH LIST