Greenville, TX
|
Give Us a Call
(903) 454-4440
Toggle navigation
Home
Brands
Manufacturer Models
OEM Promotions
Polaris
Can-Am
E-Z-Go
Honda
Kawasaki
Suzuki
Inventory
All Inventory In Stock
New Inventory In Stock
Used Inventory
Value Your Trade-In
Request a Model
Schedule a Test Ride
Secure Financing
Parts
Parts Department
Parts Finder
Service
Service Department
Request Polaris Service
Warranty & Recall Look-Up
Specials
Financing
About
Our Dealership
Our Team
Reviews
Customer Survey
Employment
Events Calendar
Locations
Location & Hours
Contact
Parts Finder
Home
›
Parts
›
Parts Finder
Search by :
Part / Desc
VIN
Please Select
Arctic Cat
Honda
Kawasaki
Polaris
Suzuki
*Please enter at least 3 characters
SEARCH
Manufacturer
Arctic Cat
Watercraft
1999
TS 770 L [W1999TSJLAUS-1999-32-03]
VIEW WISH LIST
Select a Section
Show/Hide
BILGE PUMP ASSEMBLY [73510]
CARBURETOR [73440]
CRANKCASE ASSEMBLY [73153]
CRANKSHAFT ASSEMBLY [73180]
CYLINDER ASSEMBLY [73441]
DECAL AND FOOTPAD ASSEMBLY [73453]
ELECTRICAL MODULE AND BATTERY [73450]
ENGINE AND RELATED ASSEMBLY [73447]
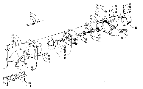
EXHAUST ASSEMBLY [73449]
FUEL TANK ASSEMBLY [73456]
HANDLEBAR ASSEMBLY [73444]
HATCH COVER AND STORAGE TRAY [73455]
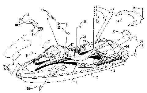
HULL AND RELATED PARTS ASSEMBLY [73452]
IGNITION COIL [72956]
IMPELLER DRIVE ASSEMBLY [73458]
INSTRUMENT ASSEMBLY [73454]
INTAKE ASSEMBLY [73448]
MAGNETO [73181]
MAGNETO CASE [72688]
OIL PUMP [72811]
OIL TANK ASSEMBLY [73516]
REVERSE DEFLECTOR AND LEVER ASSEMBLY [73459]
SEAT ASSEMBLY [73314]
SENSOR ASSEMBLY [300885]
STARTER MOTOR ASSEMBLY [73259]
STEERING POST ASSEMBLY [73446]
WATER FILTER ASSEMBLY [73443]
WIRING HARNESS [73439]
BILGE PUMP ASSEMBLY [73510]
CARBURETOR [73440]
CRANKCASE ASSEMBLY [73153]
CRANKSHAFT ASSEMBLY [73180]
CYLINDER ASSEMBLY [73441]
DECAL AND FOOTPAD ASSEMBLY [73453]
ELECTRICAL MODULE AND BATTERY [73450]
ENGINE AND RELATED ASSEMBLY [73447]
EXHAUST ASSEMBLY [73449]
FUEL TANK ASSEMBLY [73456]
HANDLEBAR ASSEMBLY [73444]
HATCH COVER AND STORAGE TRAY [73455]
HULL AND RELATED PARTS ASSEMBLY [73452]
IGNITION COIL [72956]
IMPELLER DRIVE ASSEMBLY [73458]
INSTRUMENT ASSEMBLY [73454]
INTAKE ASSEMBLY [73448]
MAGNETO [73181]
MAGNETO CASE [72688]
OIL PUMP [72811]
OIL TANK ASSEMBLY [73516]
REVERSE DEFLECTOR AND LEVER ASSEMBLY [73459]
SEAT ASSEMBLY [73314]
SENSOR ASSEMBLY [300885]
STARTER MOTOR ASSEMBLY [73259]
STEERING POST ASSEMBLY [73446]
WATER FILTER ASSEMBLY [73443]
WIRING HARNESS [73439]
VIEW WISH LIST