Greenville, TX
|
Give Us a Call
(903) 454-4440
Toggle navigation
Home
Brands
Manufacturer Models
OEM Promotions
Polaris
Can-Am
E-Z-Go
Honda
Kawasaki
Suzuki
Inventory
All Inventory In Stock
New Inventory In Stock
Used Inventory
Value Your Trade-In
Request a Model
Schedule a Test Ride
Secure Financing
Parts
Parts Department
Parts Finder
Service
Service Department
Request Polaris Service
Warranty & Recall Look-Up
Specials
Financing
About
Our Dealership
Our Team
Reviews
Customer Survey
Employment
Events Calendar
Locations
Location & Hours
Contact
Parts Finder
Home
›
Parts
›
Parts Finder
Search by :
Part / Desc
VIN
Please Select
Arctic Cat
Honda
Kawasaki
Polaris
Suzuki
*Please enter at least 3 characters
SEARCH
Manufacturer
Arctic Cat
Watercraft
1998
TS-L 770 [98MCB-1998-31-04]
VIEW WISH LIST
Select a Section
Show/Hide
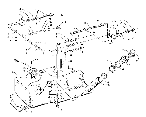
BILGE PUMP ASSEMBLY [73241]
COOLING INTAKE LINE [72796]
CRANKCASE ASSEMBLY [73254]
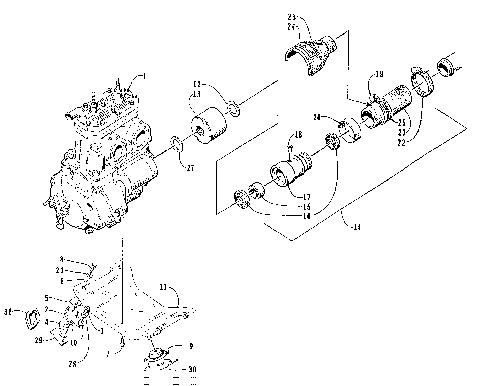
CRANKSHAFT ASSEMBLY [73180]
CYLINDER ASSEMBLY [73441]
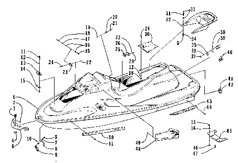
DECAL AND FOOTPAD ASSEMBLY [73284]
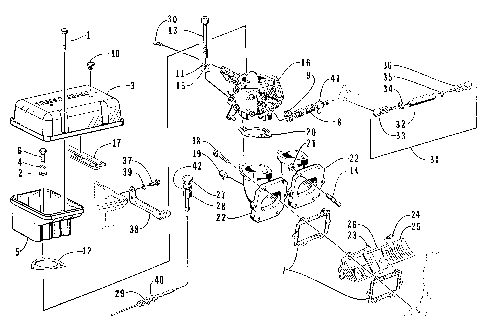
ELECTRICAL MODULE AND BATTERY [73266]
ENGINE AND RELATED ASSEMBLY [73271]
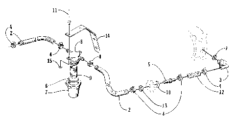
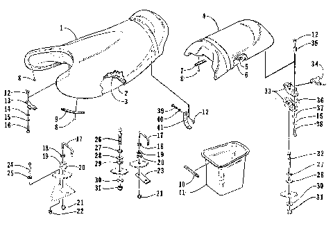
EXHAUST ASSEMBLY [73272]
EXHAUST MANIFOLD ASSEMBLY [73263]
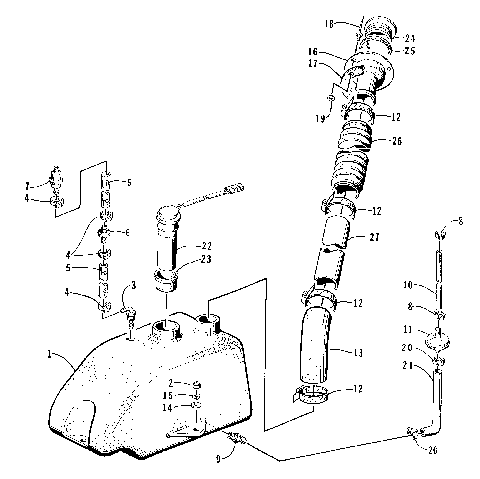
FUEL TANK ASSEMBLY [73275]
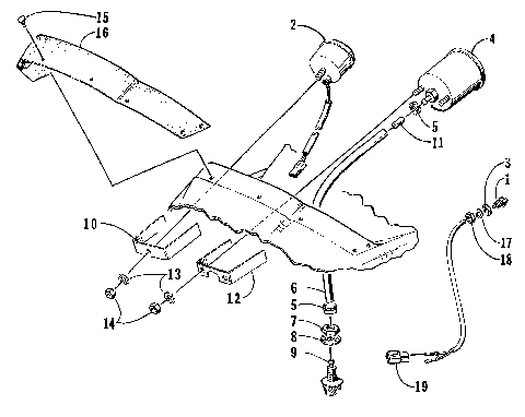
HANDLEBAR ASSEMBLY [73277]
HATCH COVER AND STORAGE TRAY [73283]
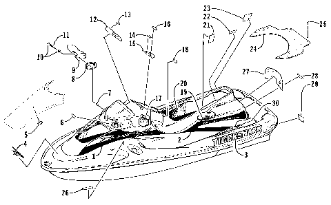
HULL AND RELATED PARTS ASSEMBLY [73285]
IGNITION COIL [72956]
IMPELLER DRIVE ASSEMBLY [73279]
INSTRUMENT ASSEMBLY [73249]
INTAKE ASSEMBLY [73267]
MAGNETO [73257]
MAGNETO CASE [72688]
MAGNETO-SIDE CARBURETOR [73265]
OIL PUMP [72811]
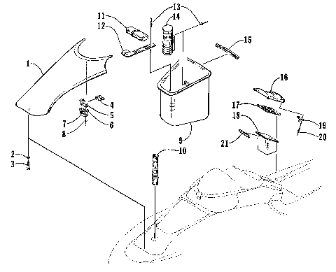
OIL TANK ASSEMBLY [73243]
PTO-SIDE CARBURETOR [73268]
REED VALVE ASSEMBLY [73261]
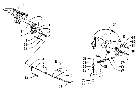
REVERSE DEFLECTOR AND LEVER ASSEMBLY [73280]
SEAT ASSEMBLY [73281]
SENSOR ASSEMBLY [300885]
STARTER MOTOR ASSEMBLY [73259]
STEERING POST ASSEMBLY [73245]
WATER FILTER ASSEMBLY [73273]
WIRING HARNESS [73162]
BILGE PUMP ASSEMBLY [73241]
COOLING INTAKE LINE [72796]
CRANKCASE ASSEMBLY [73254]
CRANKSHAFT ASSEMBLY [73180]
CYLINDER ASSEMBLY [73441]
DECAL AND FOOTPAD ASSEMBLY [73284]
ELECTRICAL MODULE AND BATTERY [73266]
ENGINE AND RELATED ASSEMBLY [73271]
EXHAUST ASSEMBLY [73272]
EXHAUST MANIFOLD ASSEMBLY [73263]
FUEL TANK ASSEMBLY [73275]
HANDLEBAR ASSEMBLY [73277]
HATCH COVER AND STORAGE TRAY [73283]
HULL AND RELATED PARTS ASSEMBLY [73285]
IGNITION COIL [72956]
IMPELLER DRIVE ASSEMBLY [73279]
INSTRUMENT ASSEMBLY [73249]
INTAKE ASSEMBLY [73267]
MAGNETO [73257]
MAGNETO CASE [72688]
MAGNETO-SIDE CARBURETOR [73265]
OIL PUMP [72811]
OIL TANK ASSEMBLY [73243]
PTO-SIDE CARBURETOR [73268]
REED VALVE ASSEMBLY [73261]
REVERSE DEFLECTOR AND LEVER ASSEMBLY [73280]
SEAT ASSEMBLY [73281]
SENSOR ASSEMBLY [300885]
STARTER MOTOR ASSEMBLY [73259]
STEERING POST ASSEMBLY [73245]
WATER FILTER ASSEMBLY [73273]
WIRING HARNESS [73162]
VIEW WISH LIST