Greenville, TX
|
Give Us a Call
(903) 454-4440
Toggle navigation
Home
Brands
Manufacturer Models
OEM Promotions
Polaris
Can-Am
E-Z-Go
Honda
Kawasaki
Suzuki
Inventory
All Inventory In Stock
New Inventory In Stock
Used Inventory
Value Your Trade-In
Request a Model
Schedule a Test Ride
Secure Financing
Parts
Parts Department
Parts Finder
Service
Service Department
Request Polaris Service
Warranty & Recall Look-Up
Specials
Financing
About
Our Dealership
Our Team
Reviews
Customer Survey
Employment
Events Calendar
Locations
Location & Hours
Contact
Parts Finder
Home
›
Parts
›
Parts Finder
Search by :
Part / Desc
VIN
Please Select
Arctic Cat
Honda
Kawasaki
Polaris
Suzuki
*Please enter at least 3 characters
SEARCH
Manufacturer
Arctic Cat
Watercraft
1997
MONTE CARLO [97MCC-1997-30-05]
VIEW WISH LIST
Select a Section
Show/Hide
BILGE PUMP ASSEMBLY [73050]
CARBURETOR [73092]
CRANKCASE ASSEMBLY [72984]
CRANKSHAFT ASSEMBLY [72986]
CYLINDER ASSEMBLY [72983]
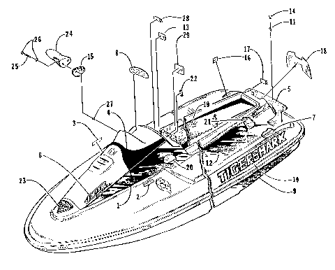
DECAL AND FOOTPAD ASSEMBLY [73075]
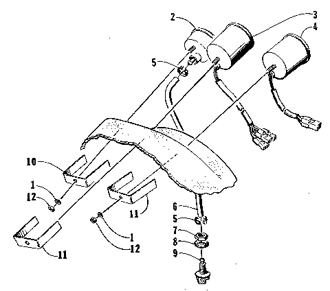
ELECTRICAL MODULE AND BATTERY [73072]
ENGINE AND RELATED ASSEMBLY [73077]
EXHAUST MANIFOLD ASSEMBLY [72985]
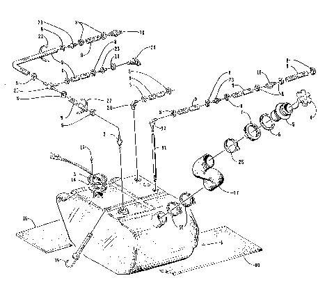
EXPANSION CHAMBER ASSEMBLY [72982]
GAS TANK ASSEMBLY [73094]
HANDLEBAR ASSEMBLY [73074]
HATCH COVER AND STORAGE TRAY [73069]
HULL AND RELATED PARTS ASSEMBLY [73091]
IGNITION COIL [72988]
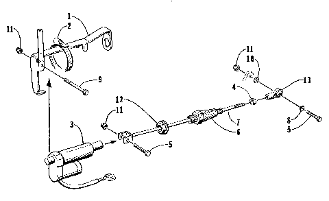
IMPELLER DRIVE ASSEMBLY [73079]
INSTRUMENT ASSEMBLY [73076]
INTAKE ASSEMBLY [73078]
MAGNETO [72839]
MUFFLER ASSEMBLY [73082]
OIL PUMP ASSEMBLY [72979]
OIL TANK ASSEMBLY [73070]
REED VALVE ASSEMBLY [73067]
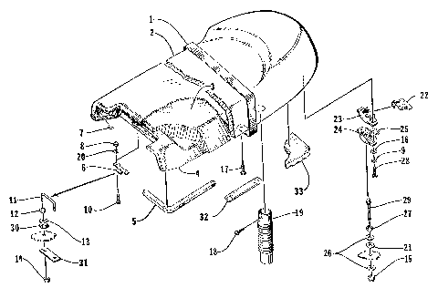
SEAT ASSEMBLY [73093]
SENSOR ASSEMBLY [300885]
STARTER MOTOR ASSEMBLY [72987]
STEERING POST ASSEMBLY [73073]
TRIM ASSEMBLY [73080]
WATER FILTER ASSEMBLY [73081]
WIRING HARNESS [73090]
BILGE PUMP ASSEMBLY [73050]
CARBURETOR [73092]
CRANKCASE ASSEMBLY [72984]
CRANKSHAFT ASSEMBLY [72986]
CYLINDER ASSEMBLY [72983]
DECAL AND FOOTPAD ASSEMBLY [73075]
ELECTRICAL MODULE AND BATTERY [73072]
ENGINE AND RELATED ASSEMBLY [73077]
EXHAUST MANIFOLD ASSEMBLY [72985]
EXPANSION CHAMBER ASSEMBLY [72982]
GAS TANK ASSEMBLY [73094]
HANDLEBAR ASSEMBLY [73074]
HATCH COVER AND STORAGE TRAY [73069]
HULL AND RELATED PARTS ASSEMBLY [73091]
IGNITION COIL [72988]
IMPELLER DRIVE ASSEMBLY [73079]
INSTRUMENT ASSEMBLY [73076]
INTAKE ASSEMBLY [73078]
MAGNETO [72839]
MUFFLER ASSEMBLY [73082]
OIL PUMP ASSEMBLY [72979]
OIL TANK ASSEMBLY [73070]
REED VALVE ASSEMBLY [73067]
SEAT ASSEMBLY [73093]
SENSOR ASSEMBLY [300885]
STARTER MOTOR ASSEMBLY [72987]
STEERING POST ASSEMBLY [73073]
TRIM ASSEMBLY [73080]
WATER FILTER ASSEMBLY [73081]
WIRING HARNESS [73090]
VIEW WISH LIST