Greenville, TX
|
Give Us a Call
(903) 454-4440
Toggle navigation
Home
Brands
Manufacturer Models
OEM Promotions
Polaris
Can-Am
E-Z-Go
Honda
Kawasaki
Suzuki
Inventory
All Inventory In Stock
New Inventory In Stock
Used Inventory
Value Your Trade-In
Request a Model
Schedule a Test Ride
Secure Financing
Parts
Parts Department
Parts Finder
Service
Service Department
Request Polaris Service
Warranty & Recall Look-Up
Specials
Financing
About
Our Dealership
Our Team
Reviews
Customer Survey
Employment
Events Calendar
Locations
Location & Hours
Contact
Parts Finder
Home
›
Parts
›
Parts Finder
Search by :
Part / Desc
VIN
Please Select
Arctic Cat
Honda
Kawasaki
Polaris
Suzuki
*Please enter at least 3 characters
SEARCH
Manufacturer
Arctic Cat
Watercraft
1994
MONTE CARLO [0672-008-1994-27-05]
VIEW WISH LIST
Select a Section
Show/Hide
BILGE PUMP ASSEMBLY [72569]
CARBURETOR [72567]
CRANKCASE [72649]
CRANKSHAFT [72566]
CYLINDER ASSEMBLY [72575]
ELECTRICAL MODULE AND BATTERY [72570]
ENGINE AND RELATED PARTS [72572]
EXHAUST ASSEMBLY [72558]
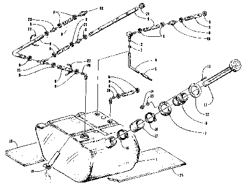
GAS TANK ASSEMBLY [72578]
HANDLEBAR ASSEMBLY [72573]
HATCH COVER AND STORAGE TRAY [72577]
HULL AND DECK ASSEMBLY [72576]
IGNITION COIL [72564]
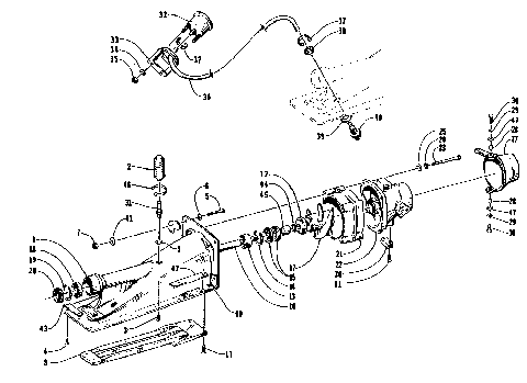
IMPELLER DRIVE ASSEMBLY [72580]
MAGNETO [72599]
MAGNETO CASE [72688]
OIL PUMP [72651]
OIL TANK ASSEMBLY [72579]
REVERSE BUCKET AND LEVER ASSEMBLY [72581]
SEAT ASSEMBLY [72571]
STARTER MOTOR [72652]
STEERING POST ASSEMBLY [72568]
WATER FILTER ASSEMBLY [72574]
WIRING HARNESS ASSEMBLY [300883]
BILGE PUMP ASSEMBLY [72569]
CARBURETOR [72567]
CRANKCASE [72649]
CRANKSHAFT [72566]
CYLINDER ASSEMBLY [72575]
ELECTRICAL MODULE AND BATTERY [72570]
ENGINE AND RELATED PARTS [72572]
EXHAUST ASSEMBLY [72558]
GAS TANK ASSEMBLY [72578]
HANDLEBAR ASSEMBLY [72573]
HATCH COVER AND STORAGE TRAY [72577]
HULL AND DECK ASSEMBLY [72576]
IGNITION COIL [72564]
IMPELLER DRIVE ASSEMBLY [72580]
MAGNETO [72599]
MAGNETO CASE [72688]
OIL PUMP [72651]
OIL TANK ASSEMBLY [72579]
REVERSE BUCKET AND LEVER ASSEMBLY [72581]
SEAT ASSEMBLY [72571]
STARTER MOTOR [72652]
STEERING POST ASSEMBLY [72568]
WATER FILTER ASSEMBLY [72574]
WIRING HARNESS ASSEMBLY [300883]
VIEW WISH LIST