Greenville, TX
|
Give Us a Call
(903) 454-4440
Toggle navigation
Home
Brands
Manufacturer Models
OEM Promotions
Polaris
Can-Am
E-Z-Go
Honda
Kawasaki
Suzuki
Inventory
All Inventory In Stock
New Inventory In Stock
Used Inventory
Value Your Trade-In
Request a Model
Schedule a Test Ride
Secure Financing
Parts
Parts Department
Parts Finder
Service
Service Department
Request Polaris Service
Warranty & Recall Look-Up
Specials
Financing
About
Our Dealership
Our Team
Reviews
Customer Survey
Employment
Events Calendar
Locations
Location & Hours
Contact
Parts Finder
Home
›
Parts
›
Parts Finder
Search by :
Part / Desc
VIN
Please Select
Arctic Cat
Honda
Kawasaki
Polaris
Suzuki
*Please enter at least 3 characters
SEARCH
Manufacturer
Arctic Cat
Utility Vehicles
2016
HDX 700 XT SE HUNTER EDITION CAMO [U2016R7T1PUSH]
VIEW WISH LIST
Select a Section
Show/Hide
ACCELERATOR ASSEMBLY [300251]
AIR INTAKE ASSEMBLY [301420]
BATTERY AND STARTER MOTOR ASSEMBLY [301423]
CAM CHAIN ASSEMBLY [300283]
CARGO BOX AND TAILGATE ASSEMBLY [301415]
CASE/BELT COOLING ASSEMBLY [300981]
CLUTCH/V-BELT/MAGNETO COVER ASSEMBLY [301480]
CONSOLE AND FLOOR PANEL ASSEMBLY [300968]
COOLING ASSEMBLY [300980]
CRANK BALANCER ASSEMBLY [94435]
CRANKCASE ASSEMBLY [301477]
CRANKSHAFT AND PISTON ASSEMBLY [300125]
CYLINDER ASSEMBLY [300238]
CYLINDER HEAD AND CAMSHAFT/VALVE ASSEMBLY [301476]
DASH ASSEMBLY [301418]
DRIVE TRAIN ASSEMBLY [301426]
ENGINE AND EXHAUST [301421]
FRAME AND RELATED PARTS [301424]
FRONT AND REAR BRAKE ASSEMBLY [300976]
FRONT DRIVE GEARCASE ASSEMBLY [301427]
FRONT SUSPENSION ASSEMBLY [301277]
GAS TANK ASSEMBLY [300977]
GEAR SHIFTING ASSEMBLY [300127]
GRILL AND HEADLIGHT ASSEMBLY [301413]
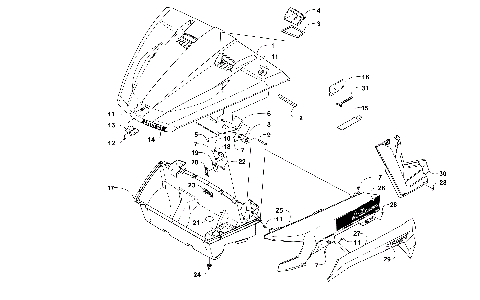
HOOD/FRONT STORAGE AND SIDE PANEL ASSEMBLY [301414]
MAGNETO ASSEMBLY [300128]
OIL FILTER/PUMP ASSEMBLY [99739]
REAR DRIVE GEARCASE ASSEMBLY [301428]
REAR SUSPENSION ASSEMBLY [301419]
ROPS AND TAILLIGHT ASSEMBLY [301462]
SEAT ASSEMBLY [301417]
SECONDARY DRIVE ASSEMBLY [97468]
SECONDARY TRANSMISSION ASSEMBLY [300083]
SHIFTER ASSEMBLY [300978]
STARTER CLUTCH ASSEMBLY [300126]
STEERING ASSEMBLY [300738]
SWAY BAR ASSEMBLY [94120]
THROTTLE BODY ASSEMBLY [90590]
TILT FRAME ASSEMBLY [301416]
TRANSMISSION ASSEMBLY [300242]
WATER PUMP ASSEMBLY [90695]
WHEEL AND TIRE ASSEMBLY [301311]
WINCH ASSEMBLY [301425]
WIRING HARNESS ASSEMBLY [301422]
ACCELERATOR ASSEMBLY [300251]
AIR INTAKE ASSEMBLY [301420]
BATTERY AND STARTER MOTOR ASSEMBLY [301423]
CAM CHAIN ASSEMBLY [300283]
CARGO BOX AND TAILGATE ASSEMBLY [301415]
CASE/BELT COOLING ASSEMBLY [300981]
CLUTCH/V-BELT/MAGNETO COVER ASSEMBLY [301480]
CONSOLE AND FLOOR PANEL ASSEMBLY [300968]
COOLING ASSEMBLY [300980]
CRANK BALANCER ASSEMBLY [94435]
CRANKCASE ASSEMBLY [301477]
CRANKSHAFT AND PISTON ASSEMBLY [300125]
CYLINDER ASSEMBLY [300238]
CYLINDER HEAD AND CAMSHAFT/VALVE ASSEMBLY [301476]
DASH ASSEMBLY [301418]
DRIVE TRAIN ASSEMBLY [301426]
ENGINE AND EXHAUST [301421]
FRAME AND RELATED PARTS [301424]
FRONT AND REAR BRAKE ASSEMBLY [300976]
FRONT DRIVE GEARCASE ASSEMBLY [301427]
FRONT SUSPENSION ASSEMBLY [301277]
GAS TANK ASSEMBLY [300977]
GEAR SHIFTING ASSEMBLY [300127]
GRILL AND HEADLIGHT ASSEMBLY [301413]
HOOD/FRONT STORAGE AND SIDE PANEL ASSEMBLY [301414]
MAGNETO ASSEMBLY [300128]
OIL FILTER/PUMP ASSEMBLY [99739]
REAR DRIVE GEARCASE ASSEMBLY [301428]
REAR SUSPENSION ASSEMBLY [301419]
ROPS AND TAILLIGHT ASSEMBLY [301462]
SEAT ASSEMBLY [301417]
SECONDARY DRIVE ASSEMBLY [97468]
SECONDARY TRANSMISSION ASSEMBLY [300083]
SHIFTER ASSEMBLY [300978]
STARTER CLUTCH ASSEMBLY [300126]
STEERING ASSEMBLY [300738]
SWAY BAR ASSEMBLY [94120]
THROTTLE BODY ASSEMBLY [90590]
TILT FRAME ASSEMBLY [301416]
TRANSMISSION ASSEMBLY [300242]
WATER PUMP ASSEMBLY [90695]
WHEEL AND TIRE ASSEMBLY [301311]
WINCH ASSEMBLY [301425]
WIRING HARNESS ASSEMBLY [301422]
VIEW WISH LIST