Greenville, TX
|
Give Us a Call
(903) 454-4440
Toggle navigation
Home
Brands
Manufacturer Models
OEM Promotions
Polaris
Can-Am
E-Z-Go
Honda
Kawasaki
Suzuki
Inventory
All Inventory In Stock
New Inventory In Stock
Used Inventory
Value Your Trade-In
Request a Model
Schedule a Test Ride
Secure Financing
Parts
Parts Department
Parts Finder
Service
Service Department
Request Polaris Service
Warranty & Recall Look-Up
Specials
Financing
About
Our Dealership
Our Team
Reviews
Customer Survey
Employment
Events Calendar
Locations
Location & Hours
Contact
Parts Finder
Home
›
Parts
›
Parts Finder
Search by :
Part / Desc
VIN
Please Select
Arctic Cat
Honda
Kawasaki
Polaris
Suzuki
*Please enter at least 3 characters
SEARCH
Manufacturer
Arctic Cat
Utility Vehicles
2015
WILDCAT INTERNATIONAL BLACK [U2015W3W1POSQ]
VIEW WISH LIST
Select a Section
Show/Hide
ACCELERATOR ASSEMBLY [100518]
AIR INTAKE ASSEMBLY [96523]
BATTERY AND STARTER MOTOR ASSEMBLY [300686]
CAM CHAIN ASSEMBLY [300149]
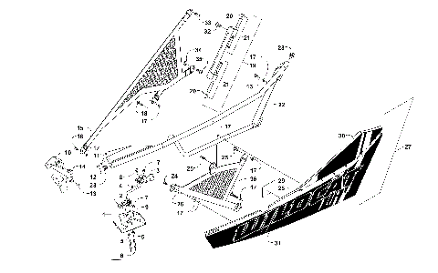
CARGO BOX AND TAILLIGHT ASSEMBLY [300134]
CASE/BELT COOLING ASSEMBLY [97746]
CLUTCH ASSEMBLY [100671]
CLUTCH SIDE ENGINE COVERS [300156]
CONSOLE AND FLOOR PANEL ASSEMBLY [300132]
COOLING ASSEMBLY [300144]
CRANKCASE ASSEMBLY [300150]
CRANKSHAFT AND PISTON ASSEMBLY [301347]
CYLINDER ASSEMBLY [300147]
CYLINDER HEAD AND CAMSHAFT/VALVE ASSEMBLY [300148]
DASH ASSEMBLY [300131]
DOOR ASSEMBLY [300137]
DRIVE TRAIN ASSEMBLY [300145]
ENGINE AND EXHAUST [300143]
FRAME, HEADLIGHTS, AND RELATED PARTS [300135]
FRONT AND SIDE PANEL ASSEMBLIES [300130]
FRONT DRIVE GEARCASE ASSEMBLY [301030]
FRONT SUSPENSION ASSEMBLY [302917]
GAS TANK ASSEMBLY [300142]
GEAR SHIFTING ASSEMBLY [100525]
HYDRAULIC BRAKE ASSEMBLY [100517]
MAGNETO ASSEMBLY [300154]
MAGNETO SIDE ENGINE COVERS [300155]
OIL COOLER ASSEMBLY [98544]
OIL PUMP ASSEMBLY [92690]
RACK AND PINION ASSEMBLY [100032]
REAR DRIVE GEARCASE ASSEMBLY [96530]
REAR SUSPENSION ASSEMBLY [300163]
REAR SUSPENSION SHOCK ASSEMBLY [300140]
ROPS ASSEMBLY [300136]
SEAT ASSEMBLY [300133]
SECONDARY DRIVE ASSEMBLY [300153]
SECONDARY TRANSMISSION ASSEMBLY [300152]
SHIFTER ASSEMBLY [300141]
STARTER CLUTCH ASSEMBLY [99968]
STEERING ASSEMBLY [300138]
THROTTLE BODY ASSEMBLY [98636]
WATER PUMP ASSEMBLY [98552]
WHEEL AND TIRE ASSEMBLY [97744]
WIRING HARNESS ASSEMBLY [300146]
ACCELERATOR ASSEMBLY [100518]
AIR INTAKE ASSEMBLY [96523]
BATTERY AND STARTER MOTOR ASSEMBLY [300686]
CAM CHAIN ASSEMBLY [300149]
CARGO BOX AND TAILLIGHT ASSEMBLY [300134]
CASE/BELT COOLING ASSEMBLY [97746]
CLUTCH ASSEMBLY [100671]
CLUTCH SIDE ENGINE COVERS [300156]
CONSOLE AND FLOOR PANEL ASSEMBLY [300132]
COOLING ASSEMBLY [300144]
CRANKCASE ASSEMBLY [300150]
CRANKSHAFT AND PISTON ASSEMBLY [301347]
CYLINDER ASSEMBLY [300147]
CYLINDER HEAD AND CAMSHAFT/VALVE ASSEMBLY [300148]
DASH ASSEMBLY [300131]
DOOR ASSEMBLY [300137]
DRIVE TRAIN ASSEMBLY [300145]
ENGINE AND EXHAUST [300143]
FRAME, HEADLIGHTS, AND RELATED PARTS [300135]
FRONT AND SIDE PANEL ASSEMBLIES [300130]
FRONT DRIVE GEARCASE ASSEMBLY [301030]
FRONT SUSPENSION ASSEMBLY [302917]
GAS TANK ASSEMBLY [300142]
GEAR SHIFTING ASSEMBLY [100525]
HYDRAULIC BRAKE ASSEMBLY [100517]
MAGNETO ASSEMBLY [300154]
MAGNETO SIDE ENGINE COVERS [300155]
OIL COOLER ASSEMBLY [98544]
OIL PUMP ASSEMBLY [92690]
RACK AND PINION ASSEMBLY [100032]
REAR DRIVE GEARCASE ASSEMBLY [96530]
REAR SUSPENSION ASSEMBLY [300163]
REAR SUSPENSION SHOCK ASSEMBLY [300140]
ROPS ASSEMBLY [300136]
SEAT ASSEMBLY [300133]
SECONDARY DRIVE ASSEMBLY [300153]
SECONDARY TRANSMISSION ASSEMBLY [300152]
SHIFTER ASSEMBLY [300141]
STARTER CLUTCH ASSEMBLY [99968]
STEERING ASSEMBLY [300138]
THROTTLE BODY ASSEMBLY [98636]
WATER PUMP ASSEMBLY [98552]
WHEEL AND TIRE ASSEMBLY [97744]
WIRING HARNESS ASSEMBLY [300146]
VIEW WISH LIST