Greenville, TX
|
Give Us a Call
(903) 454-4440
Toggle navigation
Home
Brands
Manufacturer Models
OEM Promotions
Polaris
Can-Am
E-Z-Go
Honda
Kawasaki
Suzuki
Inventory
All Inventory In Stock
New Inventory In Stock
Used Inventory
Value Your Trade-In
Request a Model
Schedule a Test Ride
Secure Financing
Parts
Parts Department
Parts Finder
Service
Service Department
Request Polaris Service
Warranty & Recall Look-Up
Specials
Financing
About
Our Dealership
Our Team
Reviews
Customer Survey
Employment
Events Calendar
Locations
Location & Hours
Contact
Parts Finder
Home
›
Parts
›
Parts Finder
Search by :
Part / Desc
VIN
Please Select
Arctic Cat
Honda
Kawasaki
Polaris
Suzuki
*Please enter at least 3 characters
SEARCH
Manufacturer
Arctic Cat
Utility Vehicles
2014
WILDCAT 4X INTERNATIONAL RED [U2014WFW1POSE]
VIEW WISH LIST
Select a Section
Show/Hide
ACCELERATOR ASSEMBLY [100665]
AIR INTAKE ASSEMBLY [96523]
BATTERY AND STARTER MOTOR ASSEMBLY [100668]
CAM CHAIN ASSEMBLY [98639]
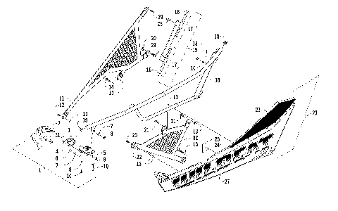
CARGO BOX AND TAILLIGHT ASSEMBLY [100657]
CASE/BELT COOLING ASSEMBLY [97746]
CLUTCH ASSEMBLY [100671]
CLUTCH SIDE ENGINE COVERS [100046]
COOLING ASSEMBLY [300457]
CRANKCASE ASSEMBLY [100043]
CRANKSHAFT AND PISTON ASSEMBLY [301348]
CYLINDER ASSEMBLY [98637]
CYLINDER HEAD AND CAMSHAFT/VALVE ASSEMBLY [100543]
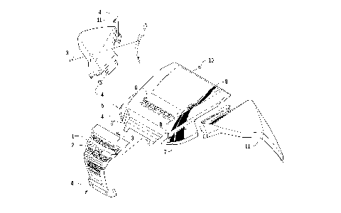
DASH ASSEMBLY [100653]
DRIVE TRAIN ASSEMBLY [100038]
ENGINE AND EXHAUST [100666]
FRAME, HEADLIGHTS, AND RELATED PARTS [100658]
FRONT CONSOLE AND FLOOR PANEL ASSEMBLY [100654]
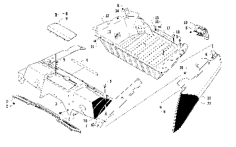
FRONT DOOR ASSEMBLY [100660]
FRONT DRIVE GEARCASE ASSEMBLY [301030]
FRONT PANEL ASSEMBLY [100651]
FRONT SEAT ASSEMBLY [300447]
FRONT SUSPENSION ASSEMBLY [100662]
FRONT SUSPENSION SHOCK ABSORBER [98596]
GAS TANK ASSEMBLY [98633]
GEAR SHIFTING ASSEMBLY [300458]
HYDRAULIC BRAKE ASSEMBLY [300456]
MAGNETO ASSEMBLY [96547]
MAGNETO SIDE ENGINE COVERS [92696]
OIL COOLER ASSEMBLY [98603]
OIL PUMP ASSEMBLY [92690]
RACK AND PINION ASSEMBLY [100032]
REAR CONSOLE AND FLOOR PANEL ASSEMBLY [98587]
REAR DOOR ASSEMBLY [100661]
REAR DRIVE GEARCASE ASSEMBLY [100040]
REAR SEAT ASSEMBLY [100656]
REAR SUSPENSION ASSEMBLY [98579]
REAR SUSPENSION SHOCK ABSORBER [98598]
REAR SUSPENSION SHOCK ASSEMBLY [98597]
ROPS ASSEMBLY [100659]
SECONDARY DRIVE ASSEMBLY [300153]
SECONDARY TRANSMISSION ASSEMBLY [100672]
SHIFTER ASSEMBLY [100037]
SIDE PANEL ASSEMBLY [100652]
STARTER CLUTCH ASSEMBLY [99968]
STEERING ASSEMBLY [300452]
THROTTLE BODY ASSEMBLY [98636]
WATER PUMP ASSEMBLY [98552]
WHEEL AND TIRE ASSEMBLY [100663]
WIRING HARNESS ASSEMBLY [100667]
ACCELERATOR ASSEMBLY [100665]
AIR INTAKE ASSEMBLY [96523]
BATTERY AND STARTER MOTOR ASSEMBLY [100668]
CAM CHAIN ASSEMBLY [98639]
CARGO BOX AND TAILLIGHT ASSEMBLY [100657]
CASE/BELT COOLING ASSEMBLY [97746]
CLUTCH ASSEMBLY [100671]
CLUTCH SIDE ENGINE COVERS [100046]
COOLING ASSEMBLY [300457]
CRANKCASE ASSEMBLY [100043]
CRANKSHAFT AND PISTON ASSEMBLY [301348]
CYLINDER ASSEMBLY [98637]
CYLINDER HEAD AND CAMSHAFT/VALVE ASSEMBLY [100543]
DASH ASSEMBLY [100653]
DRIVE TRAIN ASSEMBLY [100038]
ENGINE AND EXHAUST [100666]
FRAME, HEADLIGHTS, AND RELATED PARTS [100658]
FRONT CONSOLE AND FLOOR PANEL ASSEMBLY [100654]
FRONT DOOR ASSEMBLY [100660]
FRONT DRIVE GEARCASE ASSEMBLY [301030]
FRONT PANEL ASSEMBLY [100651]
FRONT SEAT ASSEMBLY [300447]
FRONT SUSPENSION ASSEMBLY [100662]
FRONT SUSPENSION SHOCK ABSORBER [98596]
GAS TANK ASSEMBLY [98633]
GEAR SHIFTING ASSEMBLY [300458]
HYDRAULIC BRAKE ASSEMBLY [300456]
MAGNETO ASSEMBLY [96547]
MAGNETO SIDE ENGINE COVERS [92696]
OIL COOLER ASSEMBLY [98603]
OIL PUMP ASSEMBLY [92690]
RACK AND PINION ASSEMBLY [100032]
REAR CONSOLE AND FLOOR PANEL ASSEMBLY [98587]
REAR DOOR ASSEMBLY [100661]
REAR DRIVE GEARCASE ASSEMBLY [100040]
REAR SEAT ASSEMBLY [100656]
REAR SUSPENSION ASSEMBLY [98579]
REAR SUSPENSION SHOCK ABSORBER [98598]
REAR SUSPENSION SHOCK ASSEMBLY [98597]
ROPS ASSEMBLY [100659]
SECONDARY DRIVE ASSEMBLY [300153]
SECONDARY TRANSMISSION ASSEMBLY [100672]
SHIFTER ASSEMBLY [100037]
SIDE PANEL ASSEMBLY [100652]
STARTER CLUTCH ASSEMBLY [99968]
STEERING ASSEMBLY [300452]
THROTTLE BODY ASSEMBLY [98636]
WATER PUMP ASSEMBLY [98552]
WHEEL AND TIRE ASSEMBLY [100663]
WIRING HARNESS ASSEMBLY [100667]
VIEW WISH LIST