Greenville, TX
|
Give Us a Call
(903) 454-4440
Toggle navigation
Home
Brands
Manufacturer Models
OEM Promotions
Polaris
Can-Am
E-Z-Go
Honda
Kawasaki
Suzuki
Inventory
All Inventory In Stock
New Inventory In Stock
Used Inventory
Value Your Trade-In
Request a Model
Schedule a Test Ride
Secure Financing
Parts
Parts Department
Parts Finder
Service
Service Department
Request Polaris Service
Warranty & Recall Look-Up
Specials
Financing
About
Our Dealership
Our Team
Reviews
Customer Survey
Employment
Events Calendar
Locations
Location & Hours
Contact
Parts Finder
Home
›
Parts
›
Parts Finder
Search by :
Part / Desc
VIN
Please Select
Arctic Cat
Honda
Kawasaki
Polaris
Suzuki
*Please enter at least 3 characters
SEARCH
Manufacturer
Arctic Cat
Utility Vehicles
2014
PROWLER 700 HDX RED [U2014P5T1PUSE]
VIEW WISH LIST
Select a Section
Show/Hide
ACCELERATOR ASSEMBLY [100091]
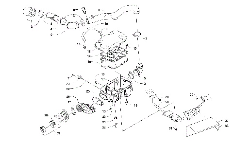
AIR INTAKE ASSEMBLY [100162]
BATTERY AND STARTER MOTOR ASSEMBLY [100165]
CAM CHAIN ASSEMBLY [89422]
CARGO BOX AND TAILGATE ASSEMBLY [100157]
CASE/BELT COOLING ASSEMBLY [94990]
CLUTCH/V-BELT/MAGNETO COVER ASSEMBLY [301460]
CONSOLE, FLOOR PANEL & STORAGE BOX ASSEMBLY [100103]
COOLING ASSEMBLY [97538]
CRANK BALANCER ASSEMBLY [94435]
CRANKCASE ASSEMBLY [100004]
CRANKSHAFT AND PISTON ASSEMBLY [300125]
CYLINDER ASSEMBLY [99736]
CYLINDER HEAD AND CAMSHAFT/VALVE ASSEMBLY [100117]
DASH ASSEMBLY [100158]
DRIVE TRAIN ASSEMBLY [100113]
ENGINE AND EXHAUST [100163]
FRAME AND RELATED PARTS [100105]
FRONT DRIVE GEARCASE ASSEMBLY [100114]
FRONT SUSPENSION ASSEMBLY [97530]
GAS TANK ASSEMBLY [97534]
GEAR SHIFTING ASSEMBLY [300127]
HOOD AND HEADLIGHT ASSEMBLY [100622]
HYDRAULIC BRAKE ASSEMBLY [97533]
MAGNETO ASSEMBLY [97370]
OIL FILTER/PUMP ASSEMBLY [99739]
REAR DRIVE GEARCASE ASSEMBLY [100115]
REAR SUSPENSION ASSEMBLY [100109]
REAR SUSPENSION SHOCK ABSORBER [100110]
ROPS AND TAILLIGHT ASSEMBLY [100418]
SEAT ASSEMBLY [100106]
SECONDARY DRIVE ASSEMBLY [97468]
SECONDARY TRANSMISSION ASSEMBLY [97368]
SHIFTER ASSEMBLY [100161]
STARTER CLUTCH ASSEMBLY [300126]
STEERING ASSEMBLY [300120]
SWAY BAR ASSEMBLY [94120]
THROTTLE BODY ASSEMBLY [90590]
TILT FRAME ASSEMBLY [100414]
TRANSMISSION ASSEMBLY [100005]
WATER PUMP ASSEMBLY [90695]
WHEEL AND TIRE ASSEMBLY [97532]
WIRING HARNESS ASSEMBLY [100164]
ACCELERATOR ASSEMBLY [100091]
AIR INTAKE ASSEMBLY [100162]
BATTERY AND STARTER MOTOR ASSEMBLY [100165]
CAM CHAIN ASSEMBLY [89422]
CARGO BOX AND TAILGATE ASSEMBLY [100157]
CASE/BELT COOLING ASSEMBLY [94990]
CLUTCH/V-BELT/MAGNETO COVER ASSEMBLY [301460]
CONSOLE, FLOOR PANEL & STORAGE BOX ASSEMBLY [100103]
COOLING ASSEMBLY [97538]
CRANK BALANCER ASSEMBLY [94435]
CRANKCASE ASSEMBLY [100004]
CRANKSHAFT AND PISTON ASSEMBLY [300125]
CYLINDER ASSEMBLY [99736]
CYLINDER HEAD AND CAMSHAFT/VALVE ASSEMBLY [100117]
DASH ASSEMBLY [100158]
DRIVE TRAIN ASSEMBLY [100113]
ENGINE AND EXHAUST [100163]
FRAME AND RELATED PARTS [100105]
FRONT DRIVE GEARCASE ASSEMBLY [100114]
FRONT SUSPENSION ASSEMBLY [97530]
GAS TANK ASSEMBLY [97534]
GEAR SHIFTING ASSEMBLY [300127]
HOOD AND HEADLIGHT ASSEMBLY [100622]
HYDRAULIC BRAKE ASSEMBLY [97533]
MAGNETO ASSEMBLY [97370]
OIL FILTER/PUMP ASSEMBLY [99739]
REAR DRIVE GEARCASE ASSEMBLY [100115]
REAR SUSPENSION ASSEMBLY [100109]
REAR SUSPENSION SHOCK ABSORBER [100110]
ROPS AND TAILLIGHT ASSEMBLY [100418]
SEAT ASSEMBLY [100106]
SECONDARY DRIVE ASSEMBLY [97468]
SECONDARY TRANSMISSION ASSEMBLY [97368]
SHIFTER ASSEMBLY [100161]
STARTER CLUTCH ASSEMBLY [300126]
STEERING ASSEMBLY [300120]
SWAY BAR ASSEMBLY [94120]
THROTTLE BODY ASSEMBLY [90590]
TILT FRAME ASSEMBLY [100414]
TRANSMISSION ASSEMBLY [100005]
WATER PUMP ASSEMBLY [90695]
WHEEL AND TIRE ASSEMBLY [97532]
WIRING HARNESS ASSEMBLY [100164]
VIEW WISH LIST