Greenville, TX
|
Give Us a Call
(903) 454-4440
Toggle navigation
Home
Brands
Manufacturer Models
OEM Promotions
Polaris
Can-Am
E-Z-Go
Honda
Kawasaki
Suzuki
Inventory
All Inventory In Stock
New Inventory In Stock
Used Inventory
Value Your Trade-In
Request a Model
Schedule a Test Ride
Secure Financing
Parts
Parts Department
Parts Finder
Service
Service Department
Request Polaris Service
Warranty & Recall Look-Up
Specials
Financing
About
Our Dealership
Our Team
Reviews
Customer Survey
Employment
Events Calendar
Locations
Location & Hours
Contact
Parts Finder
Home
›
Parts
›
Parts Finder
Search by :
Part / Desc
VIN
Please Select
Arctic Cat
Honda
Kawasaki
Polaris
Suzuki
*Please enter at least 3 characters
SEARCH
Manufacturer
Arctic Cat
Utility Vehicles
2013
WILDCAT LTD LATE BUILD INTERNATIONAL METALLIC RED [U2013W3W1POSE]
VIEW WISH LIST
Select a Section
Show/Hide
ACCELERATOR ASSEMBLY [98541]
AIR INTAKE ASSEMBLY [96523]
BATTERY AND STARTER MOTOR ASSEMBLY [300686]
CAM CHAIN ASSEMBLY [96536]
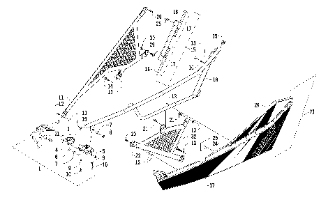
CARGO BOX AND TAILLIGHT ASSEMBLY [97890]
CASE/BELT COOLING ASSEMBLY [97746]
CLUTCH ASSEMBLY [100671]
CLUTCH SIDE ENGINE COVERS [98556]
CONSOLE AND FLOOR PANEL ASSEMBLY [98529]
COOLING ASSEMBLY [300457]
CRANKCASE ASSEMBLY [98550]
CRANKSHAFT AND PISTON ASSEMBLY [301347]
CYLINDER ASSEMBLY [96534]
CYLINDER HEAD AND CAMSHAFT/VALVE ASSEMBLY [98549]
DASH ASSEMBLY [98528]
DOOR ASSEMBLY [98577]
DRIVE TRAIN ASSEMBLY [98545]
ENGINE AND EXHAUST [98542]
FRAME, HEADLIGHTS, AND RELATED PARTS [98568]
FRONT AND SIDE PANEL ASSEMBLIES [98575]
FRONT DRIVE GEARCASE ASSEMBLY [301030]
FRONT SUSPENSION ASSEMBLY [98578]
FRONT SUSPENSION SHOCK ABSORBER [98537]
GAS TANK ASSEMBLY [97745]
GEAR SHIFTING ASSEMBLY [300458]
HYDRAULIC BRAKE ASSEMBLY [96519]
MAGNETO ASSEMBLY [96547]
MAGNETO SIDE ENGINE COVERS [92696]
OIL COOLER ASSEMBLY [98544]
OIL PUMP ASSEMBLY [92690]
RACK AND PINION ASSEMBLY (SER. # 309156 AND BELOW) [301553]
RACK AND PINION ASSEMBLY (SER. # 309157 AND ABOVE) [301554]
REAR DRIVE GEARCASE ASSEMBLY [98546]
REAR SUSPENSION ASSEMBLY [98579]
REAR SUSPENSION SHOCK ABSORBER [98540]
REAR SUSPENSION SHOCK ASSEMBLY [98539]
ROPS ASSEMBLY [98532]
SEAT ASSEMBLY [100628]
SECONDARY DRIVE ASSEMBLY [300153]
SECONDARY TRANSMISSION ASSEMBLY [100045]
SHIFTER ASSEMBLY [100519]
STARTER CLUTCH ASSEMBLY [99968]
STEERING ASSEMBLY [300452]
THROTTLE BODY ASSEMBLY [100041]
WATER PUMP ASSEMBLY [98552]
WHEEL AND TIRE ASSEMBLY [97744]
WIRING HARNESS ASSEMBLY [98547]
ACCELERATOR ASSEMBLY [98541]
AIR INTAKE ASSEMBLY [96523]
BATTERY AND STARTER MOTOR ASSEMBLY [300686]
CAM CHAIN ASSEMBLY [96536]
CARGO BOX AND TAILLIGHT ASSEMBLY [97890]
CASE/BELT COOLING ASSEMBLY [97746]
CLUTCH ASSEMBLY [100671]
CLUTCH SIDE ENGINE COVERS [98556]
CONSOLE AND FLOOR PANEL ASSEMBLY [98529]
COOLING ASSEMBLY [300457]
CRANKCASE ASSEMBLY [98550]
CRANKSHAFT AND PISTON ASSEMBLY [301347]
CYLINDER ASSEMBLY [96534]
CYLINDER HEAD AND CAMSHAFT/VALVE ASSEMBLY [98549]
DASH ASSEMBLY [98528]
DOOR ASSEMBLY [98577]
DRIVE TRAIN ASSEMBLY [98545]
ENGINE AND EXHAUST [98542]
FRAME, HEADLIGHTS, AND RELATED PARTS [98568]
FRONT AND SIDE PANEL ASSEMBLIES [98575]
FRONT DRIVE GEARCASE ASSEMBLY [301030]
FRONT SUSPENSION ASSEMBLY [98578]
FRONT SUSPENSION SHOCK ABSORBER [98537]
GAS TANK ASSEMBLY [97745]
GEAR SHIFTING ASSEMBLY [300458]
HYDRAULIC BRAKE ASSEMBLY [96519]
MAGNETO ASSEMBLY [96547]
MAGNETO SIDE ENGINE COVERS [92696]
OIL COOLER ASSEMBLY [98544]
OIL PUMP ASSEMBLY [92690]
RACK AND PINION ASSEMBLY (SER. # 309156 AND BELOW) [301553]
RACK AND PINION ASSEMBLY (SER. # 309157 AND ABOVE) [301554]
REAR DRIVE GEARCASE ASSEMBLY [98546]
REAR SUSPENSION ASSEMBLY [98579]
REAR SUSPENSION SHOCK ABSORBER [98540]
REAR SUSPENSION SHOCK ASSEMBLY [98539]
ROPS ASSEMBLY [98532]
SEAT ASSEMBLY [100628]
SECONDARY DRIVE ASSEMBLY [300153]
SECONDARY TRANSMISSION ASSEMBLY [100045]
SHIFTER ASSEMBLY [100519]
STARTER CLUTCH ASSEMBLY [99968]
STEERING ASSEMBLY [300452]
THROTTLE BODY ASSEMBLY [100041]
WATER PUMP ASSEMBLY [98552]
WHEEL AND TIRE ASSEMBLY [97744]
WIRING HARNESS ASSEMBLY [98547]
VIEW WISH LIST