Greenville, TX
|
Give Us a Call
(903) 454-4440
Toggle navigation
Home
Brands
Manufacturer Models
OEM Promotions
Polaris
Can-Am
E-Z-Go
Honda
Kawasaki
Suzuki
Inventory
All Inventory In Stock
New Inventory In Stock
Used Inventory
Value Your Trade-In
Request a Model
Schedule a Test Ride
Secure Financing
Parts
Parts Department
Parts Finder
Service
Service Department
Request Polaris Service
Warranty & Recall Look-Up
Specials
Financing
About
Our Dealership
Our Team
Reviews
Customer Survey
Employment
Events Calendar
Locations
Location & Hours
Contact
Parts Finder
Home
›
Parts
›
Parts Finder
Search by :
Part / Desc
VIN
Please Select
Arctic Cat
Honda
Kawasaki
Polaris
Suzuki
*Please enter at least 3 characters
SEARCH
Manufacturer
Arctic Cat
Utility Vehicles
2012
WILDCAT GT METALLIC BLACK [U2012W2W1PUSQ]
VIEW WISH LIST
Select a Section
Show/Hide
ACCELERATOR ASSEMBLY [98541]
AIR INTAKE ASSEMBLY [96523]
BATTERY AND STARTER MOTOR ASSEMBLY [96532]
CAM CHAIN ASSEMBLY [96536]
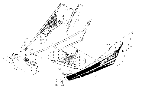
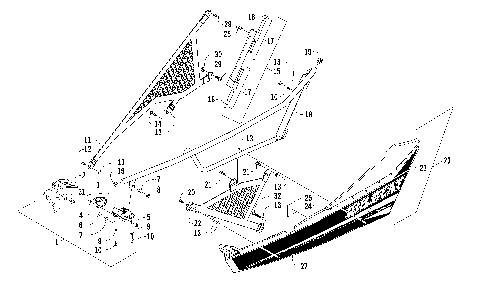
CARGO BOX AND TAILLIGHT ASSEMBLY [96509]
CASE/BELT COOLING ASSEMBLY [96524]
CLUTCH SIDE ENGINE COVERS [96548]
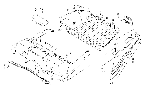
CONSOLE AND FLOOR PANEL ASSEMBLY [96507]
COOLING ASSEMBLY [96526]
CRANKCASE ASSEMBLY (ENGINE SERIAL NO. 20101690 AND UP) [96538]
CRANKCASE ASSEMBLY (ENGINE SERIAL NO. UP TO 20101689) [96537]
CRANKSHAFT AND PISTON ASSEMBLY [96539]
CYLINDER ASSEMBLY [96534]
CYLINDER HEAD AND CAMSHAFT/VALVE ASSEMBLY [96535]
DASH ASSEMBLY [96506]
DOOR ASSEMBLY [96512]
DOOR REPLACEMENT ASSEMBLY [98653]
DRIVE TRAIN ASSEMBLY [96528]
ENGINE AND EXHAUST [96525]
FRAME, HEADLIGHTS, AND RELATED PARTS [96510]
FRONT AND SIDE PANEL ASSEMBLIES [96505]
FRONT DRIVE GEARCASE ASSEMBLY [301030]
FRONT SUSPENSION ASSEMBLY [96515]
GAS TANK ASSEMBLY [97745]
GEAR SHIFTING ASSEMBLY [300458]
HYDRAULIC BRAKE ASSEMBLY [96519]
MAGNETO ASSEMBLY [96547]
MAGNETO SIDE ENGINE COVERS [92696]
OIL COOLER ASSEMBLY [96527]
OIL PUMP ASSEMBLY [92690]
RACK AND PINION ASSEMBLY [98535]
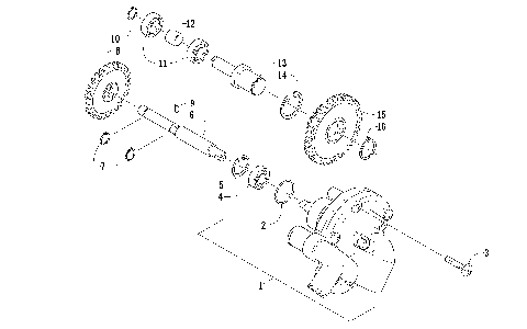
REAR DRIVE GEARCASE ASSEMBLY [96530]
REAR SUSPENSION ASSEMBLY [96516]
REAR SUSPENSION SHOCK ASSEMBLY [96517]
ROPS ASSEMBLY [96511]
SEAT ASSEMBLY [96508]
SECONDARY DRIVE ASSEMBLY [96546]
SECONDARY TRANSMISSION ASSEMBLY [99842]
SHIFTER ASSEMBLY [100519]
STARTER CLUTCH ASSEMBLY [99968]
STEERING ASSEMBLY [96513]
THROTTLE BODY ASSEMBLY [100041]
TRANSMISSION ASSEMBLY (ENGINE SERIAL NO. 20044790 and Up) [300882]
TRANSMISSION ASSEMBLY (ENGINE SERIAL NO. UP TO 20044789) [96542]
WATER PUMP ASSEMBLY (ENGINE SERIAL NO. 20101690 AND UP) [96541]
WATER PUMP ASSEMBLY (ENGINE SERIAL NO. UP TO 20101689) [96540]
WHEEL AND TIRE ASSEMBLY [96518]
WIRING HARNESS ASSEMBLY [97751]
ACCELERATOR ASSEMBLY [98541]
AIR INTAKE ASSEMBLY [96523]
BATTERY AND STARTER MOTOR ASSEMBLY [96532]
CAM CHAIN ASSEMBLY [96536]
CARGO BOX AND TAILLIGHT ASSEMBLY [96509]
CASE/BELT COOLING ASSEMBLY [96524]
CLUTCH SIDE ENGINE COVERS [96548]
CONSOLE AND FLOOR PANEL ASSEMBLY [96507]
COOLING ASSEMBLY [96526]
CRANKCASE ASSEMBLY (ENGINE SERIAL NO. 20101690 AND UP) [96538]
CRANKCASE ASSEMBLY (ENGINE SERIAL NO. UP TO 20101689) [96537]
CRANKSHAFT AND PISTON ASSEMBLY [96539]
CYLINDER ASSEMBLY [96534]
CYLINDER HEAD AND CAMSHAFT/VALVE ASSEMBLY [96535]
DASH ASSEMBLY [96506]
DOOR ASSEMBLY [96512]
DOOR REPLACEMENT ASSEMBLY [98653]
DRIVE TRAIN ASSEMBLY [96528]
ENGINE AND EXHAUST [96525]
FRAME, HEADLIGHTS, AND RELATED PARTS [96510]
FRONT AND SIDE PANEL ASSEMBLIES [96505]
FRONT DRIVE GEARCASE ASSEMBLY [301030]
FRONT SUSPENSION ASSEMBLY [96515]
GAS TANK ASSEMBLY [97745]
GEAR SHIFTING ASSEMBLY [300458]
HYDRAULIC BRAKE ASSEMBLY [96519]
MAGNETO ASSEMBLY [96547]
MAGNETO SIDE ENGINE COVERS [92696]
OIL COOLER ASSEMBLY [96527]
OIL PUMP ASSEMBLY [92690]
RACK AND PINION ASSEMBLY [98535]
REAR DRIVE GEARCASE ASSEMBLY [96530]
REAR SUSPENSION ASSEMBLY [96516]
REAR SUSPENSION SHOCK ASSEMBLY [96517]
ROPS ASSEMBLY [96511]
SEAT ASSEMBLY [96508]
SECONDARY DRIVE ASSEMBLY [96546]
SECONDARY TRANSMISSION ASSEMBLY [99842]
SHIFTER ASSEMBLY [100519]
STARTER CLUTCH ASSEMBLY [99968]
STEERING ASSEMBLY [96513]
THROTTLE BODY ASSEMBLY [100041]
TRANSMISSION ASSEMBLY (ENGINE SERIAL NO. 20044790 and Up) [300882]
TRANSMISSION ASSEMBLY (ENGINE SERIAL NO. UP TO 20044789) [96542]
WATER PUMP ASSEMBLY (ENGINE SERIAL NO. 20101690 AND UP) [96541]
WATER PUMP ASSEMBLY (ENGINE SERIAL NO. UP TO 20101689) [96540]
WHEEL AND TIRE ASSEMBLY [96518]
WIRING HARNESS ASSEMBLY [97751]
VIEW WISH LIST