Greenville, TX
|
Give Us a Call
(903) 454-4440
Toggle navigation
Home
Brands
Manufacturer Models
OEM Promotions
Polaris
Can-Am
E-Z-Go
Honda
Kawasaki
Suzuki
Inventory
All Inventory In Stock
New Inventory In Stock
Used Inventory
Value Your Trade-In
Request a Model
Schedule a Test Ride
Secure Financing
Parts
Parts Department
Parts Finder
Service
Service Department
Request Polaris Service
Warranty & Recall Look-Up
Specials
Financing
About
Our Dealership
Our Team
Reviews
Customer Survey
Employment
Events Calendar
Locations
Location & Hours
Contact
Parts Finder
Home
›
Parts
›
Parts Finder
Search by :
Part / Desc
VIN
Please Select
Arctic Cat
Honda
Kawasaki
Polaris
Suzuki
*Please enter at least 3 characters
SEARCH
Manufacturer
Arctic Cat
Utility Vehicles
2011
PROWLER 700s XTX BLUE [U2011P3T1PUSD]
VIEW WISH LIST
Select a Section
Show/Hide
ACCELERATOR ASSEMBLY [100091]
AIR INTAKE ASSEMBLY [93966]
BATTERY AND STARTER MOTOR ASSEMBLY [94134]
CAM CHAIN ASSEMBLY [89422]
CARGO BOX AND TAILGATE ASSEMBLY [93987]
CLUTCH/V-BELT/MAGNETO COVER ASSEMBLY [93974]
CONSOLE AND FLOOR PANEL ASSEMBLY [93986]
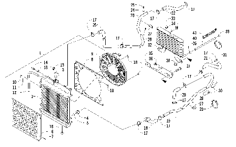
COOLING ASSEMBLY [93968]
CRANK BALANCER ASSEMBLY [94435]
CRANKCASE ASSEMBLY [93973]
CRANKSHAFT AND PISTON ASSEMBLY [300125]
CYLINDER ASSEMBLY [99736]
CYLINDER HEAD AND CAMSHAFT/VALVE ASSEMBLY [93972]
DASH ASSEMBLY [93962]
DRIVE TRAIN ASSEMBLY [93969]
ENGINE AND EXHAUST [93967]
FRAME AND RELATED PARTS [93960]
FRONT BRAKE ASSEMBLY [93241]
FRONT DRIVE GEARCASE ASSEMBLY [93905]
FRONT SUSPENSION ASSEMBLY [93238]
GAS TANK ASSEMBLY [97534]
GEAR SHIFTING ASSEMBLY [300863]
HOOD AND HEADLIGHT ASSEMBLY [93985]
MAGNETO ASSEMBLY [91019]
OIL FILTER/PUMP ASSEMBLY [99739]
REAR AND PARKING BRAKE ASSEMBLY [92476]
REAR DRIVE GEARCASE ASSEMBLY [93970]
REAR SUSPENSION ASSEMBLY [93239]
ROPS AND TAILLIGHT ASSEMBLY [93961]
SEAT ASSEMBLY [94006]
SECONDARY DRIVE ASSEMBLY [93975]
SECONDARY TRANSMISSION ASSEMBLY (ENGINE SERIAL NO. 0264070 and Up) [300853]
SECONDARY TRANSMISSION ASSEMBLY (Up to ENGINE SERIAL NO. 0264069) [300869]
SHIFTER ASSEMBLY [92479]
STARTER CLUTCH ASSEMBLY [300126]
STEERING ASSEMBLY [93963]
SWAY BAR ASSEMBLY [90820]
THROTTLE BODY ASSEMBLY [90590]
TILT FRAME ASSEMBLY [92466]
TRANSMISSION ASSEMBLY [92490]
WATER PUMP ASSEMBLY [90695]
WHEEL AND TIRE ASSEMBLY [93964]
WIRING HARNESS ASSEMBLY [93971]
ACCELERATOR ASSEMBLY [100091]
AIR INTAKE ASSEMBLY [93966]
BATTERY AND STARTER MOTOR ASSEMBLY [94134]
CAM CHAIN ASSEMBLY [89422]
CARGO BOX AND TAILGATE ASSEMBLY [93987]
CLUTCH/V-BELT/MAGNETO COVER ASSEMBLY [93974]
CONSOLE AND FLOOR PANEL ASSEMBLY [93986]
COOLING ASSEMBLY [93968]
CRANK BALANCER ASSEMBLY [94435]
CRANKCASE ASSEMBLY [93973]
CRANKSHAFT AND PISTON ASSEMBLY [300125]
CYLINDER ASSEMBLY [99736]
CYLINDER HEAD AND CAMSHAFT/VALVE ASSEMBLY [93972]
DASH ASSEMBLY [93962]
DRIVE TRAIN ASSEMBLY [93969]
ENGINE AND EXHAUST [93967]
FRAME AND RELATED PARTS [93960]
FRONT BRAKE ASSEMBLY [93241]
FRONT DRIVE GEARCASE ASSEMBLY [93905]
FRONT SUSPENSION ASSEMBLY [93238]
GAS TANK ASSEMBLY [97534]
GEAR SHIFTING ASSEMBLY [300863]
HOOD AND HEADLIGHT ASSEMBLY [93985]
MAGNETO ASSEMBLY [91019]
OIL FILTER/PUMP ASSEMBLY [99739]
REAR AND PARKING BRAKE ASSEMBLY [92476]
REAR DRIVE GEARCASE ASSEMBLY [93970]
REAR SUSPENSION ASSEMBLY [93239]
ROPS AND TAILLIGHT ASSEMBLY [93961]
SEAT ASSEMBLY [94006]
SECONDARY DRIVE ASSEMBLY [93975]
SECONDARY TRANSMISSION ASSEMBLY (ENGINE SERIAL NO. 0264070 and Up) [300853]
SECONDARY TRANSMISSION ASSEMBLY (Up to ENGINE SERIAL NO. 0264069) [300869]
SHIFTER ASSEMBLY [92479]
STARTER CLUTCH ASSEMBLY [300126]
STEERING ASSEMBLY [93963]
SWAY BAR ASSEMBLY [90820]
THROTTLE BODY ASSEMBLY [90590]
TILT FRAME ASSEMBLY [92466]
TRANSMISSION ASSEMBLY [92490]
WATER PUMP ASSEMBLY [90695]
WHEEL AND TIRE ASSEMBLY [93964]
WIRING HARNESS ASSEMBLY [93971]
VIEW WISH LIST