Greenville, TX
|
Give Us a Call
(903) 454-4440
Toggle navigation
Home
Brands
Manufacturer Models
OEM Promotions
Polaris
Can-Am
E-Z-Go
Honda
Kawasaki
Suzuki
Inventory
All Inventory In Stock
New Inventory In Stock
Used Inventory
Value Your Trade-In
Request a Model
Schedule a Test Ride
Secure Financing
Parts
Parts Department
Parts Finder
Service
Service Department
Request Polaris Service
Warranty & Recall Look-Up
Specials
Financing
About
Our Dealership
Our Team
Reviews
Customer Survey
Employment
Events Calendar
Locations
Location & Hours
Contact
Parts Finder
Home
›
Parts
›
Parts Finder
Search by :
Part / Desc
VIN
Please Select
Arctic Cat
Honda
Kawasaki
Polaris
Suzuki
*Please enter at least 3 characters
SEARCH
Manufacturer
Arctic Cat
Utility Vehicles
2010
PROWLER 550 XT 4X4 RED [U2010P2O4EUSR]
VIEW WISH LIST
Select a Section
Show/Hide
ACCELERATOR ASSEMBLY [90580]
AIR INTAKE ASSEMBLY [92480]
BATTERY AND STARTER MOTOR ASSEMBLY [92487]
CAM CHAIN ASSEMBLY [89422]
CANOPY AND TAILLIGHT ASSEMBLY [92468]
CARGO BOX AND TAILGATE ASSEMBLY [92464]
CLUTCH/V-BELT/MAGNETO COVER ASSEMBLY [93974]
CONSOLE AND FLOOR PANEL ASSEMBLY [92463]
COOLING ASSEMBLY [92482]
CRANK BALANCER ASSEMBLY [94435]
CRANKCASE ASSEMBLY [92488]
CRANKSHAFT AND PISTON ASSEMBLY [94487]
CYLINDER ASSEMBLY [93384]
CYLINDER HEAD AND CAMSHAFT/VALVE ASSEMBLY [92025]
DASH ASSEMBLY [92469]
DRIVE TRAIN ASSEMBLY [92483]
ENGINE AND EXHAUST [94816]
FRAME AND RELATED PARTS [92465]
FRONT BRAKE ASSEMBLY [92475]
FRONT DRIVE GEARCASE ASSEMBLY [93906]
FRONT SUSPENSION ASSEMBLY [92471]
GAS TANK ASSEMBLY UP TO VIN: 302024 [92477]
GAS TANK ASSEMBLY VIN: 302025 AND UP [92478]
GEAR SHIFTING ASSEMBLY [300863]
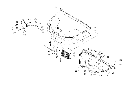
HOOD AND HEADLIGHT ASSEMBLY [92462]
MAGNETO ASSEMBLY [91019]
OIL FILTER/PUMP ASSEMBLY [99739]
REAR AND PARKING BRAKE ASSEMBLY [92476]
REAR DRIVE GEARCASE ASSEMBLY [92485]
REAR SUSPENSION ASSEMBLY [92472]
SEAT ASSEMBLY [92575]
SECONDARY DRIVE ASSEMBLY [92491]
SECONDARY TRANSMISSION ASSEMBLY [300867]
SHIFTER ASSEMBLY [92479]
STARTER CLUTCH ASSEMBLY [300126]
STEERING ASSEMBLY [92470]
SWAY BAR ASSEMBLY [90820]
THROTTLE BODY ASSEMBLY [90590]
TILT FRAME ASSEMBLY [92466]
TRANSMISSION ASSEMBLY [92490]
WATER PUMP ASSEMBLY [90695]
WHEEL AND TIRE ASSEMBLY [92473]
WHEEL AND TIRE ASSEMBLY [93964]
WIRING HARNESS ASSEMBLY [92486]
ACCELERATOR ASSEMBLY [90580]
AIR INTAKE ASSEMBLY [92480]
BATTERY AND STARTER MOTOR ASSEMBLY [92487]
CAM CHAIN ASSEMBLY [89422]
CANOPY AND TAILLIGHT ASSEMBLY [92468]
CARGO BOX AND TAILGATE ASSEMBLY [92464]
CLUTCH/V-BELT/MAGNETO COVER ASSEMBLY [93974]
CONSOLE AND FLOOR PANEL ASSEMBLY [92463]
COOLING ASSEMBLY [92482]
CRANK BALANCER ASSEMBLY [94435]
CRANKCASE ASSEMBLY [92488]
CRANKSHAFT AND PISTON ASSEMBLY [94487]
CYLINDER ASSEMBLY [93384]
CYLINDER HEAD AND CAMSHAFT/VALVE ASSEMBLY [92025]
DASH ASSEMBLY [92469]
DRIVE TRAIN ASSEMBLY [92483]
ENGINE AND EXHAUST [94816]
FRAME AND RELATED PARTS [92465]
FRONT BRAKE ASSEMBLY [92475]
FRONT DRIVE GEARCASE ASSEMBLY [93906]
FRONT SUSPENSION ASSEMBLY [92471]
GAS TANK ASSEMBLY UP TO VIN: 302024 [92477]
GAS TANK ASSEMBLY VIN: 302025 AND UP [92478]
GEAR SHIFTING ASSEMBLY [300863]
HOOD AND HEADLIGHT ASSEMBLY [92462]
MAGNETO ASSEMBLY [91019]
OIL FILTER/PUMP ASSEMBLY [99739]
REAR AND PARKING BRAKE ASSEMBLY [92476]
REAR DRIVE GEARCASE ASSEMBLY [92485]
REAR SUSPENSION ASSEMBLY [92472]
SEAT ASSEMBLY [92575]
SECONDARY DRIVE ASSEMBLY [92491]
SECONDARY TRANSMISSION ASSEMBLY [300867]
SHIFTER ASSEMBLY [92479]
STARTER CLUTCH ASSEMBLY [300126]
STEERING ASSEMBLY [92470]
SWAY BAR ASSEMBLY [90820]
THROTTLE BODY ASSEMBLY [90590]
TILT FRAME ASSEMBLY [92466]
TRANSMISSION ASSEMBLY [92490]
WATER PUMP ASSEMBLY [90695]
WHEEL AND TIRE ASSEMBLY [92473]
WHEEL AND TIRE ASSEMBLY [93964]
WIRING HARNESS ASSEMBLY [92486]
VIEW WISH LIST