Greenville, TX
|
Give Us a Call
(903) 454-4440
Toggle navigation
Home
Brands
Manufacturer Models
OEM Promotions
Polaris
Can-Am
E-Z-Go
Honda
Kawasaki
Suzuki
Inventory
All Inventory In Stock
New Inventory In Stock
Used Inventory
Value Your Trade-In
Request a Model
Schedule a Test Ride
Secure Financing
Parts
Parts Department
Parts Finder
Service
Service Department
Request Polaris Service
Warranty & Recall Look-Up
Specials
Financing
About
Our Dealership
Our Team
Reviews
Customer Survey
Employment
Events Calendar
Locations
Location & Hours
Contact
Parts Finder
Home
›
Parts
›
Parts Finder
Search by :
Part / Desc
VIN
Please Select
Arctic Cat
Honda
Kawasaki
Polaris
Suzuki
*Please enter at least 3 characters
SEARCH
Manufacturer
Arctic Cat
Utility Vehicles
2007
PROWLER 650 H1 AUTOMATIC 4X4 GREEN [U2007P1S4BUSG]
VIEW WISH LIST
Select a Section
Show/Hide
ACCELERATOR ASSEMBLY [85979]
AIR INTAKE ASSEMBLY [85959]
CAM CHAIN ASSEMBLY [89081]
CAMSHAFT/VALVE ASSEMBLY [87527]
CANOPY AND TAILLIGHT ASSEMBLY [301973]
CARBURETOR [85982]
CLUTCH/V-BELT/MAGNETO COVER ASSEMBLY [85828]
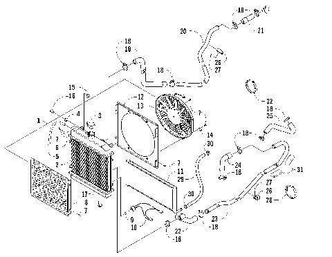
COOLING ASSEMBLY [85960]
CRANK BALANCER ASSEMBLY [94435]
CRANKCASE ASSEMBLY (VIN: 4UF07MPV77T305713 to 4UF07MPV97T330001) [87296]
CRANKCASE ASSEMBLY (VIN: 4UF07MPV97T330001 and above) [87249]
CRANKCASE ASSEMBLY [300819]
CRANKSHAFT AND PISTON ASSEMBLY [90803]
CYLINDER AND PISTON ASSEMBLY [89074]
CYLINDER HEAD ASSEMBLY [84548]
DASH ASSEMBLY [85951]
DECALS [85990]
DRIVE TRAIN ASSEMBLY [85961]
ENGINE AND EXHAUST [85980]
FRAME AND RELATED PARTS [85949]
FRONT BODY PANEL ASSEMBLY [85986]
FRONT DRIVE GEARCASE ASSEMBLY [85962]
FRONT SUSPENSION ASSEMBLY [85953]
GAS TANK ASSEMBLY [85957]
GEAR SHIFTING ASSEMBLY [85847]
HYDRAULIC BRAKE ASSEMBLY [85978]
MAGNETO ASSEMBLY [90806]
OIL FILTER/PUMP ASSEMBLY [85830]
OUTER MAGNETO COVER ASSEMBLY [85829]
REAR AND PARKING BRAKE ASSEMBLY [87896]
REAR BODY PANEL AND CARGO BOX ASSEMBLY [85988]
REAR DRIVE GEARCASE ASSEMBLY [85981]
REAR SUSPENSION ASSEMBLY [85954]
SEAT, BATTERY, AND TOOL KIT ASSEMBLY [85977]
SECONDARY DRIVE ASSEMBLY [92129]
SECONDARY TRANSMISSION ASSEMBLY [87528]
SHIFTING ASSEMBLY [85958]
STARTER CLUTCH ASSEMBLY [300126]
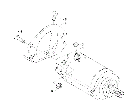
STARTER MOTOR ASSEMBLY (Up to VIN: 4UF07MPV97T330001) [300846]
STARTER MOTOR ASSEMBLY (VIN: 4UF07MPV97T330001 and Above) [300844]
STEERING POST ASSEMBLY [85952]
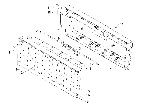
TAILGATE ASSEMBLY [85947]
TILT FRAME ASSEMBLY [85950]
TRANSMISSION ASSEMBLY [91324]
WATER PUMP ASSEMBLY [90695]
WHEEL AND TIRE ASSEMBLY [90680]
WIRING HARNESS ASSEMBLY [85963]
ACCELERATOR ASSEMBLY [85979]
AIR INTAKE ASSEMBLY [85959]
CAM CHAIN ASSEMBLY [89081]
CAMSHAFT/VALVE ASSEMBLY [87527]
CANOPY AND TAILLIGHT ASSEMBLY [301973]
CARBURETOR [85982]
CLUTCH/V-BELT/MAGNETO COVER ASSEMBLY [85828]
COOLING ASSEMBLY [85960]
CRANK BALANCER ASSEMBLY [94435]
CRANKCASE ASSEMBLY (VIN: 4UF07MPV77T305713 to 4UF07MPV97T330001) [87296]
CRANKCASE ASSEMBLY (VIN: 4UF07MPV97T330001 and above) [87249]
CRANKCASE ASSEMBLY [300819]
CRANKSHAFT AND PISTON ASSEMBLY [90803]
CYLINDER AND PISTON ASSEMBLY [89074]
CYLINDER HEAD ASSEMBLY [84548]
DASH ASSEMBLY [85951]
DECALS [85990]
DRIVE TRAIN ASSEMBLY [85961]
ENGINE AND EXHAUST [85980]
FRAME AND RELATED PARTS [85949]
FRONT BODY PANEL ASSEMBLY [85986]
FRONT DRIVE GEARCASE ASSEMBLY [85962]
FRONT SUSPENSION ASSEMBLY [85953]
GAS TANK ASSEMBLY [85957]
GEAR SHIFTING ASSEMBLY [85847]
HYDRAULIC BRAKE ASSEMBLY [85978]
MAGNETO ASSEMBLY [90806]
OIL FILTER/PUMP ASSEMBLY [85830]
OUTER MAGNETO COVER ASSEMBLY [85829]
REAR AND PARKING BRAKE ASSEMBLY [87896]
REAR BODY PANEL AND CARGO BOX ASSEMBLY [85988]
REAR DRIVE GEARCASE ASSEMBLY [85981]
REAR SUSPENSION ASSEMBLY [85954]
SEAT, BATTERY, AND TOOL KIT ASSEMBLY [85977]
SECONDARY DRIVE ASSEMBLY [92129]
SECONDARY TRANSMISSION ASSEMBLY [87528]
SHIFTING ASSEMBLY [85958]
STARTER CLUTCH ASSEMBLY [300126]
STARTER MOTOR ASSEMBLY (Up to VIN: 4UF07MPV97T330001) [300846]
STARTER MOTOR ASSEMBLY (VIN: 4UF07MPV97T330001 and Above) [300844]
STEERING POST ASSEMBLY [85952]
TAILGATE ASSEMBLY [85947]
TILT FRAME ASSEMBLY [85950]
TRANSMISSION ASSEMBLY [91324]
WATER PUMP ASSEMBLY [90695]
WHEEL AND TIRE ASSEMBLY [90680]
WIRING HARNESS ASSEMBLY [85963]
VIEW WISH LIST