Greenville, TX
|
Give Us a Call
(903) 454-4440
Toggle navigation
Home
Brands
Manufacturer Models
OEM Promotions
Polaris
Can-Am
E-Z-Go
Honda
Kawasaki
Suzuki
Inventory
All Inventory In Stock
New Inventory In Stock
Used Inventory
Value Your Trade-In
Request a Model
Schedule a Test Ride
Secure Financing
Parts
Parts Department
Parts Finder
Service
Service Department
Request Polaris Service
Warranty & Recall Look-Up
Specials
Financing
About
Our Dealership
Our Team
Reviews
Customer Survey
Employment
Events Calendar
Locations
Location & Hours
Contact
Parts Finder
Home
›
Parts
›
Parts Finder
Search by :
Part / Desc
VIN
Please Select
Arctic Cat
Honda
Kawasaki
Polaris
Suzuki
*Please enter at least 3 characters
SEARCH
Manufacturer
Arctic Cat
Snowmobiles
2025
ZR 600 ES 137 R-XC (1.35) GREEN [S2025CADREUSG]
VIEW WISH LIST
Select a Section
Show/Hide
A-ARM AND SWAY BAR ASSEMBLY [110947]
BATTERY ASSEMBLY [110520]
CHASSIS ASSEMBLY [110977]
CONSOLE ASSEMBLY [110889]
COOLING ASSEMBLY [110646]
CRANKCASE ASSEMBLY [110510]
CYLINDER AND HEAD ASSEMBLY [110910]
DECALS [110980]
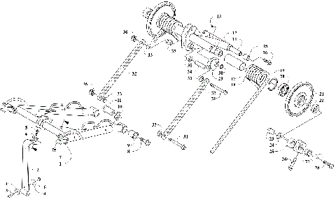
DRIVE CLUTCH [110576]
DRIVE TRAIN SHAFTS AND BRAKE ASSEMBLIES [110657]
DRIVEN CLUTCH [110909]
ELECTRICAL COMPONENTS [110978]
ENGINE AND RELATED PARTS [110505]
EXHAUST ASSEMBLY [110506]
FRONT SUSPENSION SHOCK ABSORBER ASSEMBLY [110973]
GAS TANK AND FUEL PUMP ASSEMBLY [110502]
GAS TANK AND FUEL PUMP ASSEMBLY [111145]
HANDLEBAR AND CONTROLS [110655]
HOOD ASSEMBLY [110954]
HYDRAULIC BRAKE CONTROL ASSEMBLY [110882]
IDLER WHEEL ASSEMBLY [110975]
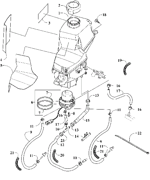
INTAKE ASSEMBLY [110497]
MAGNETO [110516]
OIL TANK ASSEMBLY [110619]
OIL TANK ASSEMBLY [111000]
PISTON AND CRANKSHAFT [110511]
REAR BUMPER [110649]
REAR SUSPENSION ARM ASSEMBLIES [110976]
REAR SUSPENSION SHOCK ABSORBERS [110661]
RECOIL STARTER [110515]
REED VALVE ASSEMBLY [110512]
SEAT ASSEMBLY [110979]
SIDE PANEL ASSEMBLY [110518]
SKI AND SPINDLE ASSEMBLY [110652]
SKID PLATE AND FOOTWELL ASSEMBLIES [110573]
SLIDE RAIL AND TRACK ASSEMBLY [110974]
STARTER MOTOR ASSEMBLY [110521]
STEERING POST ASSEMBLY [110949]
THROTTLE BODY ASSEMBLY [110636]
VENT PANEL ASSEMBLIES [110571]
WATER PUMP ASSEMBLY [110514]
A-ARM AND SWAY BAR ASSEMBLY [110947]
BATTERY ASSEMBLY [110520]
CHASSIS ASSEMBLY [110977]
CONSOLE ASSEMBLY [110889]
COOLING ASSEMBLY [110646]
CRANKCASE ASSEMBLY [110510]
CYLINDER AND HEAD ASSEMBLY [110910]
DECALS [110980]
DRIVE CLUTCH [110576]
DRIVE TRAIN SHAFTS AND BRAKE ASSEMBLIES [110657]
DRIVEN CLUTCH [110909]
ELECTRICAL COMPONENTS [110978]
ENGINE AND RELATED PARTS [110505]
EXHAUST ASSEMBLY [110506]
FRONT SUSPENSION SHOCK ABSORBER ASSEMBLY [110973]
GAS TANK AND FUEL PUMP ASSEMBLY [110502]
GAS TANK AND FUEL PUMP ASSEMBLY [111145]
HANDLEBAR AND CONTROLS [110655]
HOOD ASSEMBLY [110954]
HYDRAULIC BRAKE CONTROL ASSEMBLY [110882]
IDLER WHEEL ASSEMBLY [110975]
INTAKE ASSEMBLY [110497]
MAGNETO [110516]
OIL TANK ASSEMBLY [110619]
OIL TANK ASSEMBLY [111000]
PISTON AND CRANKSHAFT [110511]
REAR BUMPER [110649]
REAR SUSPENSION ARM ASSEMBLIES [110976]
REAR SUSPENSION SHOCK ABSORBERS [110661]
RECOIL STARTER [110515]
REED VALVE ASSEMBLY [110512]
SEAT ASSEMBLY [110979]
SIDE PANEL ASSEMBLY [110518]
SKI AND SPINDLE ASSEMBLY [110652]
SKID PLATE AND FOOTWELL ASSEMBLIES [110573]
SLIDE RAIL AND TRACK ASSEMBLY [110974]
STARTER MOTOR ASSEMBLY [110521]
STEERING POST ASSEMBLY [110949]
THROTTLE BODY ASSEMBLY [110636]
VENT PANEL ASSEMBLIES [110571]
WATER PUMP ASSEMBLY [110514]
VIEW WISH LIST