Greenville, TX
|
Give Us a Call
(903) 454-4440
Toggle navigation
Home
Brands
Manufacturer Models
OEM Promotions
Polaris
Can-Am
E-Z-Go
Honda
Kawasaki
Suzuki
Inventory
All Inventory In Stock
New Inventory In Stock
Used Inventory
Value Your Trade-In
Request a Model
Schedule a Test Ride
Secure Financing
Parts
Parts Department
Parts Finder
Service
Service Department
Request Polaris Service
Warranty & Recall Look-Up
Specials
Financing
About
Our Dealership
Our Team
Reviews
Customer Survey
Employment
Events Calendar
Locations
Location & Hours
Contact
Parts Finder
Home
›
Parts
›
Parts Finder
Search by :
Part / Desc
VIN
Please Select
Arctic Cat
Honda
Kawasaki
Polaris
Suzuki
*Please enter at least 3 characters
SEARCH
Manufacturer
Arctic Cat
Snowmobiles
2025
RIOT 600 ES 146 (1.35) ATAC ORANGE CANADA [S2025CODRACNO]
VIEW WISH LIST
Select a Section
Show/Hide
A-ARM AND SWAY BAR ASSEMBLY [110939]
BATTERY ASSEMBLY [110520]
CHASSIS ASSEMBLY [111003]
CONSOLE ASSEMBLY [111005]
COOLING ASSEMBLY [111007]
CRANKCASE ASSEMBLY [111059]
CYLINDER AND HEAD ASSEMBLY [111058]
DECALS [111008]
DRIVE CLUTCH [110576]
DRIVE TRAIN SHAFTS AND BRAKE ASSEMBLIES [110564]
DRIVEN CLUTCH [110909]
ELECTRICAL COMPONENTS [111006]
ELECTRICAL COMPONENTS, GARMIN AND ATAC [111011]
ENGINE AND RELATED PARTS [110505]
EXHAUST ASSEMBLY [110506]
FRONT SUSPENSION SHOCK ABSORBER ASSEMBLY [110998]
GAS TANK AND FUEL PUMP ASSEMBLY [110502]
GAS TANK AND FUEL PUMP ASSEMBLY [111145]
HANDLEBAR AND CONTROLS [110563]
HOOD ASSEMBLY [111004]
HYDRAULIC BRAKE CONTROL ASSEMBLY [110882]
IDLER WHEEL ASSEMBLY [110778]
INTAKE ASSEMBLY [110497]
MAGNETO [110516]
OIL TANK ASSEMBLY [111000]
PISTON AND CRANKSHAFT [110511]
REAR BUMPER [111009]
REAR SUSPENSION ARM ASSEMBLIES [110942]
REAR SUSPENSION SHOCK ABSORBERS [110651]
RECOIL STARTER [110515]
REED VALVE ASSEMBLY [110512]
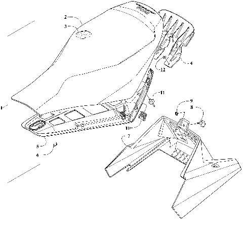
SEAT ASSEMBLY [110944]
SEAT ASSEMBLY [111132]
SIDE PANEL ASSEMBLY [110518]
SKI AND SPINDLE ASSEMBLY [110997]
SKID PLATE AND FOOTWELL ASSEMBLIES [110573]
SKID PLATE AND FOOTWELL ASSEMBLIES [111062]
SLIDE RAIL AND TRACK ASSEMBLY [111001]
STARTER MOTOR ASSEMBLY [110521]
STEERING POST ASSEMBLY [110999]
THROTTLE BODY ASSEMBLY [110636]
VENT PANEL ASSEMBLIES [110606]
VENT PANEL ASSEMBLIES [111116]
WATER PUMP ASSEMBLY [110514]
A-ARM AND SWAY BAR ASSEMBLY [110939]
BATTERY ASSEMBLY [110520]
CHASSIS ASSEMBLY [111003]
CONSOLE ASSEMBLY [111005]
COOLING ASSEMBLY [111007]
CRANKCASE ASSEMBLY [111059]
CYLINDER AND HEAD ASSEMBLY [111058]
DECALS [111008]
DRIVE CLUTCH [110576]
DRIVE TRAIN SHAFTS AND BRAKE ASSEMBLIES [110564]
DRIVEN CLUTCH [110909]
ELECTRICAL COMPONENTS [111006]
ELECTRICAL COMPONENTS, GARMIN AND ATAC [111011]
ENGINE AND RELATED PARTS [110505]
EXHAUST ASSEMBLY [110506]
FRONT SUSPENSION SHOCK ABSORBER ASSEMBLY [110998]
GAS TANK AND FUEL PUMP ASSEMBLY [110502]
GAS TANK AND FUEL PUMP ASSEMBLY [111145]
HANDLEBAR AND CONTROLS [110563]
HOOD ASSEMBLY [111004]
HYDRAULIC BRAKE CONTROL ASSEMBLY [110882]
IDLER WHEEL ASSEMBLY [110778]
INTAKE ASSEMBLY [110497]
MAGNETO [110516]
OIL TANK ASSEMBLY [111000]
PISTON AND CRANKSHAFT [110511]
REAR BUMPER [111009]
REAR SUSPENSION ARM ASSEMBLIES [110942]
REAR SUSPENSION SHOCK ABSORBERS [110651]
RECOIL STARTER [110515]
REED VALVE ASSEMBLY [110512]
SEAT ASSEMBLY [110944]
SEAT ASSEMBLY [111132]
SIDE PANEL ASSEMBLY [110518]
SKI AND SPINDLE ASSEMBLY [110997]
SKID PLATE AND FOOTWELL ASSEMBLIES [110573]
SKID PLATE AND FOOTWELL ASSEMBLIES [111062]
SLIDE RAIL AND TRACK ASSEMBLY [111001]
STARTER MOTOR ASSEMBLY [110521]
STEERING POST ASSEMBLY [110999]
THROTTLE BODY ASSEMBLY [110636]
VENT PANEL ASSEMBLIES [110606]
VENT PANEL ASSEMBLIES [111116]
WATER PUMP ASSEMBLY [110514]
VIEW WISH LIST