Greenville, TX
|
Give Us a Call
(903) 454-4440
Toggle navigation
Home
Brands
Manufacturer Models
OEM Promotions
Polaris
Can-Am
E-Z-Go
Honda
Kawasaki
Suzuki
Inventory
All Inventory In Stock
New Inventory In Stock
Used Inventory
Value Your Trade-In
Request a Model
Schedule a Test Ride
Secure Financing
Parts
Parts Department
Parts Finder
Service
Service Department
Request Polaris Service
Warranty & Recall Look-Up
Specials
Financing
About
Our Dealership
Our Team
Reviews
Customer Survey
Employment
Events Calendar
Locations
Location & Hours
Contact
Parts Finder
Home
›
Parts
›
Parts Finder
Search by :
Part / Desc
VIN
Please Select
Arctic Cat
Honda
Kawasaki
Polaris
Suzuki
*Please enter at least 3 characters
SEARCH
Manufacturer
Arctic Cat
Snowmobiles
2025
M 600 ALPHA ONE SNO PRO ES 146 (2.6) GREEN [S2025CMDCRUSG]
VIEW WISH LIST
Select a Section
Show/Hide
A-ARM ASSEMBLY [110880]
BATTERY ASSEMBLY [110520]
CHASSIS ASSEMBLY [110907]
CONSOLE ASSEMBLY [110889]
COOLING ASSEMBLY [110504]
CRANKCASE ASSEMBLY [110510]
CYLINDER AND HEAD ASSEMBLY [110910]
DECALS [110911]
DRIVE CLUTCH [110507]
DRIVE TRAIN SHAFTS AND BRAKE ASSEMBLIES [110491]
DRIVEN CLUTCH [110896]
ELECTRICAL COMPONENTS [110908]
ENGINE AND RELATED PARTS [110505]
EXHAUST ASSEMBLY [110506]
FRONT SUSPENSION SHOCK ABSORBER ASSEMBLY [110923]
GAS TANK AND FUEL PUMP ASSEMBLY [110502]
GAS TANK AND FUEL PUMP ASSEMBLY [111145]
HANDLEBAR AND CONTROLS [110490]
HOOD ASSEMBLY [110887]
HYDRAULIC BRAKE CONTROL ASSEMBLY [110882]
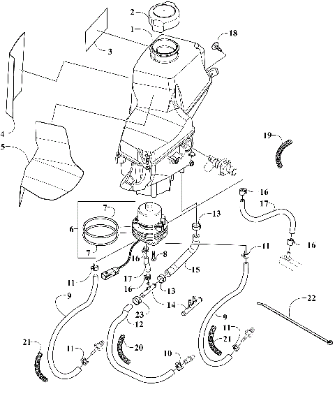
INTAKE ASSEMBLY [110497]
MAGNETO [110516]
OIL TANK ASSEMBLY [110619]
OIL TANK ASSEMBLY [111000]
PISTON AND CRANKSHAFT [110511]
RAIL AND ARM ASSEMBLY [110906]
REAR BUMPER [110519]
REAR SUSPENSION SHOCK ABSORBERS [110935]
RECOIL STARTER [110515]
REED VALVE ASSEMBLY [110512]
SEAT ASSEMBLY [110892]
SIDE PANEL ASSEMBLY [110518]
SKI AND SPINDLE ASSEMBLY [110879]
SKID PLATE AND FOOTWELL ASSEMBLIES [110501]
STARTER MOTOR ASSEMBLY [110521]
STEERING POST ASSEMBLY [110905]
THROTTLE BODY ASSEMBLY [110636]
VENT PANEL ASSEMBLIES [110498]
WATER PUMP ASSEMBLY [110514]
A-ARM ASSEMBLY [110880]
BATTERY ASSEMBLY [110520]
CHASSIS ASSEMBLY [110907]
CONSOLE ASSEMBLY [110889]
COOLING ASSEMBLY [110504]
CRANKCASE ASSEMBLY [110510]
CYLINDER AND HEAD ASSEMBLY [110910]
DECALS [110911]
DRIVE CLUTCH [110507]
DRIVE TRAIN SHAFTS AND BRAKE ASSEMBLIES [110491]
DRIVEN CLUTCH [110896]
ELECTRICAL COMPONENTS [110908]
ENGINE AND RELATED PARTS [110505]
EXHAUST ASSEMBLY [110506]
FRONT SUSPENSION SHOCK ABSORBER ASSEMBLY [110923]
GAS TANK AND FUEL PUMP ASSEMBLY [110502]
GAS TANK AND FUEL PUMP ASSEMBLY [111145]
HANDLEBAR AND CONTROLS [110490]
HOOD ASSEMBLY [110887]
HYDRAULIC BRAKE CONTROL ASSEMBLY [110882]
INTAKE ASSEMBLY [110497]
MAGNETO [110516]
OIL TANK ASSEMBLY [110619]
OIL TANK ASSEMBLY [111000]
PISTON AND CRANKSHAFT [110511]
RAIL AND ARM ASSEMBLY [110906]
REAR BUMPER [110519]
REAR SUSPENSION SHOCK ABSORBERS [110935]
RECOIL STARTER [110515]
REED VALVE ASSEMBLY [110512]
SEAT ASSEMBLY [110892]
SIDE PANEL ASSEMBLY [110518]
SKI AND SPINDLE ASSEMBLY [110879]
SKID PLATE AND FOOTWELL ASSEMBLIES [110501]
STARTER MOTOR ASSEMBLY [110521]
STEERING POST ASSEMBLY [110905]
THROTTLE BODY ASSEMBLY [110636]
VENT PANEL ASSEMBLIES [110498]
WATER PUMP ASSEMBLY [110514]
VIEW WISH LIST