Greenville, TX
|
Give Us a Call
(903) 454-4440
Toggle navigation
Home
Brands
Manufacturer Models
OEM Promotions
Polaris
Can-Am
E-Z-Go
Honda
Kawasaki
Suzuki
Inventory
All Inventory In Stock
New Inventory In Stock
Used Inventory
Value Your Trade-In
Request a Model
Schedule a Test Ride
Secure Financing
Parts
Parts Department
Parts Finder
Service
Service Department
Request Polaris Service
Warranty & Recall Look-Up
Specials
Financing
About
Our Dealership
Our Team
Reviews
Customer Survey
Employment
Events Calendar
Locations
Location & Hours
Contact
Parts Finder
Home
›
Parts
›
Parts Finder
Search by :
Part / Desc
VIN
Please Select
Arctic Cat
Honda
Kawasaki
Polaris
Suzuki
*Please enter at least 3 characters
SEARCH
Manufacturer
Arctic Cat
Snowmobiles
2022
RIOT 8000 ES QS3 (1.35) GREEN [S2022RTHLDUSG]
VIEW WISH LIST
Select a Section
Show/Hide
A-ARM AND SWAY BAR ASSEMBLY [107665]
BATTERY ASSEMBLY [107995]
BELT GUARD ASSEMBLY [105204]
BUMPERS AND STORAGE [109440]
CHAIN CASE ASSEMBLY [108277]
CONSOLE ASSEMBLY [107899]
COOLING ASSEMBLY [109023]
CRANKCASE ASSEMBLY [108290]
CYLINDER AND HEAD ASSEMBLY [108289]
DECALS [109439]
DRIVE CLUTCH [109424]
DRIVE CLUTCH [109431]
DRIVE TRAIN SHAFTS AND BRAKE ASSEMBLIES [109434]
DRIVEN CLUTCH [109289]
ENGINE AND RELATED PARTS [108288]
EXHAUST ASSEMBLY [108247]
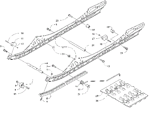
FRONT FRAME ASSEMBLY [108280]
FRONT SUSPENSION SHOCK ABSORBER ASSEMBLY [107176]
FUEL PUMP ASSEMBLY [108285]
GAS TANK ASSEMBLY [106992]
HANDLEBAR AND CONTROLS [108275]
HEADLIGHT AND WIRING ASSEMBLIES [109585]
HOOD AND AIR INTAKE ASSEMBLY [109410]
HYDRAULIC BRAKE CONTROL ASSEMBLY [109518]
IDLER WHEEL ASSEMBLY [107670]
MAGNETO [107994]
OIL TANK ASSEMBLY [107975]
PISTON AND CRANKSHAFT [109089]
REAR SUSPENSION FRONT ARM ASSEMBLY [109584]
REAR SUSPENSION FRONT ARM SHOCK ABSORBER [108428]
REAR SUSPENSION REAR ARM ASSEMBLY [108279]
REAR SUSPENSION REAR ARM SHOCK ABSORBER [107674]
RECOIL STARTER [104899]
REED VALVE ASSEMBLY [107991]
SEAT ASSEMBLY [109438]
SIDE PANEL ASSEMBLY [107906]
SKI AND SPINDLE ASSEMBLY [109433]
SKID PLATE ASSEMBLY [108264]
SLIDE RAIL AND TRACK ASSEMBLY [109444]
STARTER MOTOR ASSEMBLY [109296]
STEERING POST ASSEMBLY [108893]
STEERING SUPPORT ASSEMBLY [109456]
THROTTLE BODY ASSEMBLY [107992]
TIE ROD ASSEMBLY [103778]
TUNNEL AND SNOWFLAP ASSEMBLY [109458]
WATER PUMP AND THERMOSTAT [107993]
WINDSHIELD AND INSTRUMENTS ASSEMBLIES [109445]
A-ARM AND SWAY BAR ASSEMBLY [107665]
BATTERY ASSEMBLY [107995]
BELT GUARD ASSEMBLY [105204]
BUMPERS AND STORAGE [109440]
CHAIN CASE ASSEMBLY [108277]
CONSOLE ASSEMBLY [107899]
COOLING ASSEMBLY [109023]
CRANKCASE ASSEMBLY [108290]
CYLINDER AND HEAD ASSEMBLY [108289]
DECALS [109439]
DRIVE CLUTCH [109424]
DRIVE CLUTCH [109431]
DRIVE TRAIN SHAFTS AND BRAKE ASSEMBLIES [109434]
DRIVEN CLUTCH [109289]
ENGINE AND RELATED PARTS [108288]
EXHAUST ASSEMBLY [108247]
FRONT FRAME ASSEMBLY [108280]
FRONT SUSPENSION SHOCK ABSORBER ASSEMBLY [107176]
FUEL PUMP ASSEMBLY [108285]
GAS TANK ASSEMBLY [106992]
HANDLEBAR AND CONTROLS [108275]
HEADLIGHT AND WIRING ASSEMBLIES [109585]
HOOD AND AIR INTAKE ASSEMBLY [109410]
HYDRAULIC BRAKE CONTROL ASSEMBLY [109518]
IDLER WHEEL ASSEMBLY [107670]
MAGNETO [107994]
OIL TANK ASSEMBLY [107975]
PISTON AND CRANKSHAFT [109089]
REAR SUSPENSION FRONT ARM ASSEMBLY [109584]
REAR SUSPENSION FRONT ARM SHOCK ABSORBER [108428]
REAR SUSPENSION REAR ARM ASSEMBLY [108279]
REAR SUSPENSION REAR ARM SHOCK ABSORBER [107674]
RECOIL STARTER [104899]
REED VALVE ASSEMBLY [107991]
SEAT ASSEMBLY [109438]
SIDE PANEL ASSEMBLY [107906]
SKI AND SPINDLE ASSEMBLY [109433]
SKID PLATE ASSEMBLY [108264]
SLIDE RAIL AND TRACK ASSEMBLY [109444]
STARTER MOTOR ASSEMBLY [109296]
STEERING POST ASSEMBLY [108893]
STEERING SUPPORT ASSEMBLY [109456]
THROTTLE BODY ASSEMBLY [107992]
TIE ROD ASSEMBLY [103778]
TUNNEL AND SNOWFLAP ASSEMBLY [109458]
WATER PUMP AND THERMOSTAT [107993]
WINDSHIELD AND INSTRUMENTS ASSEMBLIES [109445]
VIEW WISH LIST