Greenville, TX
|
Give Us a Call
(903) 454-4440
Toggle navigation
Home
Brands
Manufacturer Models
OEM Promotions
Polaris
Can-Am
E-Z-Go
Honda
Kawasaki
Suzuki
Inventory
All Inventory In Stock
New Inventory In Stock
Used Inventory
Value Your Trade-In
Request a Model
Schedule a Test Ride
Secure Financing
Parts
Parts Department
Parts Finder
Service
Service Department
Request Polaris Service
Warranty & Recall Look-Up
Specials
Financing
About
Our Dealership
Our Team
Reviews
Customer Survey
Employment
Events Calendar
Locations
Location & Hours
Contact
Parts Finder
Home
›
Parts
›
Parts Finder
Search by :
Part / Desc
VIN
Please Select
Arctic Cat
Honda
Kawasaki
Polaris
Suzuki
*Please enter at least 3 characters
SEARCH
Manufacturer
Arctic Cat
Snowmobiles
2020
ZR 6000 R XC GREEN [S2020ACDCCUSG]
VIEW WISH LIST
Select a Section
Show/Hide
A-ARM AND SWAY BAR ASSEMBLY [108221]
BELT GUARD ASSEMBLY [106204]
BUMPERS AND STORAGE [108072]
CHAIN CASE ASSEMBLY [107450]
CONSOLE ASSEMBLY [108068]
COOLING ASSEMBLY [107043]
CRANKCASE ASSEMBLY [102853]
CYLINDER AND HEAD ASSEMBLY [107222]
DECALS [108231]
DRIVE CLUTCH [106209]
DRIVE TRAIN SHAFTS AND BRAKE ASSEMBLIES [107449]
DRIVEN CLUTCH [107462]
ENGINE AND RELATED PARTS [107461]
EXHAUST ASSEMBLY [106208]
FRONT FRAME ASSEMBLY [107676]
FRONT SUSPENSION SHOCK ABSORBER ASSEMBLY [108222]
FUEL PUMP ASSEMBLY [105190]
GAS TANK ASSEMBLY [108692]
HANDLEBAR AND CONTROLS [108223]
HEADLIGHT AND WIRING ASSEMBLIES [108228]
HOOD AND AIR INTAKE ASSEMBLY [108232]
HYDRAULIC BRAKE CONTROL ASSEMBLY [107694]
IDLER WHEEL ASSEMBLY [106193]
MAGNETO [105203]
OIL TANK ASSEMBLY [108826]
PISTON AND CRANKSHAFT [106212]
REAR SUSPENSION FRONT ARM ASSEMBLY [107452]
REAR SUSPENSION FRONT ARM SHOCK ABSORBER [106195]
REAR SUSPENSION REAR ARM ASSEMBLY [107453]
REAR SUSPENSION REAR ARM SHOCK ABSORBER [106197]
RECOIL STARTER [104899]
REED VALVE ASSEMBLY [99673]
SEAT ASSEMBLY [108230]
SIDE PANEL ASSEMBLY [108073]
SKI AND SPINDLE ASSEMBLY [108220]
SKID PLATE ASSEMBLY [108229]
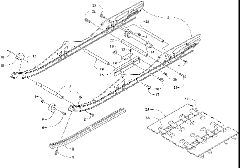
SLIDE RAIL AND TRACK ASSEMBLY [108224]
STEERING POST ASSEMBLY [105101]
STEERING SUPPORT ASSEMBLY [108225]
THROTTLE BODY ASSEMBLY [105991]
TIE ROD ASSEMBLY [106187]
TUNNEL AND SNOWFLAP ASSEMBLY [108226]
WATER PUMP AND THERMOSTAT [107904]
WINDSHIELD AND INSTRUMENTS ASSEMBLIES [108227]
A-ARM AND SWAY BAR ASSEMBLY [108221]
BELT GUARD ASSEMBLY [106204]
BUMPERS AND STORAGE [108072]
CHAIN CASE ASSEMBLY [107450]
CONSOLE ASSEMBLY [108068]
COOLING ASSEMBLY [107043]
CRANKCASE ASSEMBLY [102853]
CYLINDER AND HEAD ASSEMBLY [107222]
DECALS [108231]
DRIVE CLUTCH [106209]
DRIVE TRAIN SHAFTS AND BRAKE ASSEMBLIES [107449]
DRIVEN CLUTCH [107462]
ENGINE AND RELATED PARTS [107461]
EXHAUST ASSEMBLY [106208]
FRONT FRAME ASSEMBLY [107676]
FRONT SUSPENSION SHOCK ABSORBER ASSEMBLY [108222]
FUEL PUMP ASSEMBLY [105190]
GAS TANK ASSEMBLY [108692]
HANDLEBAR AND CONTROLS [108223]
HEADLIGHT AND WIRING ASSEMBLIES [108228]
HOOD AND AIR INTAKE ASSEMBLY [108232]
HYDRAULIC BRAKE CONTROL ASSEMBLY [107694]
IDLER WHEEL ASSEMBLY [106193]
MAGNETO [105203]
OIL TANK ASSEMBLY [108826]
PISTON AND CRANKSHAFT [106212]
REAR SUSPENSION FRONT ARM ASSEMBLY [107452]
REAR SUSPENSION FRONT ARM SHOCK ABSORBER [106195]
REAR SUSPENSION REAR ARM ASSEMBLY [107453]
REAR SUSPENSION REAR ARM SHOCK ABSORBER [106197]
RECOIL STARTER [104899]
REED VALVE ASSEMBLY [99673]
SEAT ASSEMBLY [108230]
SIDE PANEL ASSEMBLY [108073]
SKI AND SPINDLE ASSEMBLY [108220]
SKID PLATE ASSEMBLY [108229]
SLIDE RAIL AND TRACK ASSEMBLY [108224]
STEERING POST ASSEMBLY [105101]
STEERING SUPPORT ASSEMBLY [108225]
THROTTLE BODY ASSEMBLY [105991]
TIE ROD ASSEMBLY [106187]
TUNNEL AND SNOWFLAP ASSEMBLY [108226]
WATER PUMP AND THERMOSTAT [107904]
WINDSHIELD AND INSTRUMENTS ASSEMBLIES [108227]
VIEW WISH LIST