Greenville, TX
|
Give Us a Call
(903) 454-4440
Toggle navigation
Home
Brands
Manufacturer Models
OEM Promotions
Polaris
Can-Am
E-Z-Go
Honda
Kawasaki
Suzuki
Inventory
All Inventory In Stock
New Inventory In Stock
Used Inventory
Value Your Trade-In
Request a Model
Schedule a Test Ride
Secure Financing
Parts
Parts Department
Parts Finder
Service
Service Department
Request Polaris Service
Warranty & Recall Look-Up
Specials
Financing
About
Our Dealership
Our Team
Reviews
Customer Survey
Employment
Events Calendar
Locations
Location & Hours
Contact
Parts Finder
Home
›
Parts
›
Parts Finder
Search by :
Part / Desc
VIN
Please Select
Arctic Cat
Honda
Kawasaki
Polaris
Suzuki
*Please enter at least 3 characters
SEARCH
Manufacturer
Arctic Cat
Snowmobiles
2020
M 8000 HARDCORE ALPHA ONE 165 CHARCOAL/RED [S2020M8HHEUSY]
VIEW WISH LIST
Select a Section
Show/Hide
A-ARM ASSEMBLY [105225]
BELT GUARD ASSEMBLY [105204]
BUMPERS AND STORAGE [108151]
CHAIN CASE ASSEMBLY [105232]
CONSOLE ASSEMBLY [108102]
COOLING ASSEMBLY [107065]
CRANKCASE ASSEMBLY [107989]
CYLINDER AND HEAD ASSEMBLY [108108]
DECALS [108150]
DRIVE CLUTCH [108106]
DRIVE TRAIN SHAFTS AND BRAKE ASSEMBLIES [108094]
DRIVEN CLUTCH [107066]
ENGINE AND RELATED PARTS [107986]
EXHAUST ASSEMBLY [105194]
FRONT FRAME ASSEMBLY [108100]
FRONT SUSPENSION SHOCK ABSORBER ASSEMBLY [107243]
FUEL PUMP ASSEMBLY [107985]
GAS TANK ASSEMBLY [107063]
HANDLEBAR AND CONTROLS [107973]
HEADLIGHT AND WIRING ASSEMBLIES [108149]
HOOD AND AIR INTAKE ASSEMBLY [107980]
HYDRAULIC BRAKE CONTROL ASSEMBLY [107694]
INSTRUMENTS ASSEMBLY [107981]
MAGNETO [107994]
OIL TANK ASSEMBLY [107975]
PISTON AND CRANKSHAFT [107990]
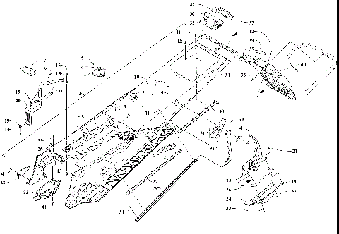
RAIL AND ARM ASSEMBLY [108146]
REAR SUSPENSION FRONT ARM SHOCK ABSORBER [108097]
REAR SUSPENSION REAR ARM SHOCK ABSORBER [108098]
RECOIL STARTER [104899]
REED VALVE ASSEMBLY [107991]
SEAT ASSEMBLY [108105]
SIDE PANEL ASSEMBLY [108113]
SKI AND SPINDLE ASSEMBLY [108090]
SKID PLATE ASSEMBLY [108104]
STEERING POST ASSEMBLY [108092]
STEERING SUPPORT ASSEMBLY [108099]
THROTTLE BODY ASSEMBLY [107992]
TIE ROD ASSEMBLY [102614]
TUNNEL AND SNOWFLAP ASSEMBLY [108148]
WATER PUMP AND THERMOSTAT [108109]
A-ARM ASSEMBLY [105225]
BELT GUARD ASSEMBLY [105204]
BUMPERS AND STORAGE [108151]
CHAIN CASE ASSEMBLY [105232]
CONSOLE ASSEMBLY [108102]
COOLING ASSEMBLY [107065]
CRANKCASE ASSEMBLY [107989]
CYLINDER AND HEAD ASSEMBLY [108108]
DECALS [108150]
DRIVE CLUTCH [108106]
DRIVE TRAIN SHAFTS AND BRAKE ASSEMBLIES [108094]
DRIVEN CLUTCH [107066]
ENGINE AND RELATED PARTS [107986]
EXHAUST ASSEMBLY [105194]
FRONT FRAME ASSEMBLY [108100]
FRONT SUSPENSION SHOCK ABSORBER ASSEMBLY [107243]
FUEL PUMP ASSEMBLY [107985]
GAS TANK ASSEMBLY [107063]
HANDLEBAR AND CONTROLS [107973]
HEADLIGHT AND WIRING ASSEMBLIES [108149]
HOOD AND AIR INTAKE ASSEMBLY [107980]
HYDRAULIC BRAKE CONTROL ASSEMBLY [107694]
INSTRUMENTS ASSEMBLY [107981]
MAGNETO [107994]
OIL TANK ASSEMBLY [107975]
PISTON AND CRANKSHAFT [107990]
RAIL AND ARM ASSEMBLY [108146]
REAR SUSPENSION FRONT ARM SHOCK ABSORBER [108097]
REAR SUSPENSION REAR ARM SHOCK ABSORBER [108098]
RECOIL STARTER [104899]
REED VALVE ASSEMBLY [107991]
SEAT ASSEMBLY [108105]
SIDE PANEL ASSEMBLY [108113]
SKI AND SPINDLE ASSEMBLY [108090]
SKID PLATE ASSEMBLY [108104]
STEERING POST ASSEMBLY [108092]
STEERING SUPPORT ASSEMBLY [108099]
THROTTLE BODY ASSEMBLY [107992]
TIE ROD ASSEMBLY [102614]
TUNNEL AND SNOWFLAP ASSEMBLY [108148]
WATER PUMP AND THERMOSTAT [108109]
VIEW WISH LIST