Greenville, TX
|
Give Us a Call
(903) 454-4440
Toggle navigation
Home
Brands
Manufacturer Models
OEM Promotions
Polaris
Can-Am
E-Z-Go
Honda
Kawasaki
Suzuki
Inventory
All Inventory In Stock
New Inventory In Stock
Used Inventory
Value Your Trade-In
Request a Model
Schedule a Test Ride
Secure Financing
Parts
Parts Department
Parts Finder
Service
Service Department
Request Polaris Service
Warranty & Recall Look-Up
Specials
Financing
About
Our Dealership
Our Team
Reviews
Customer Survey
Employment
Events Calendar
Locations
Location & Hours
Contact
Parts Finder
Home
›
Parts
›
Parts Finder
Search by :
Part / Desc
VIN
Please Select
Arctic Cat
Honda
Kawasaki
Polaris
Suzuki
*Please enter at least 3 characters
SEARCH
Manufacturer
Arctic Cat
Snowmobiles
2019
ZR 8000 ES 129 GREEN [S2019ZRHLXUSG]
VIEW WISH LIST
Select a Section
Show/Hide
A-ARM AND SWAY BAR ASSEMBLY [105163]
BATTERY ASSEMBLY [105994]
BELT GUARD ASSEMBLY [105204]
BUMPERS AND STORAGE [105206]
CHAIN CASE ASSEMBLY [105169]
CONSOLE ASSEMBLY [107007]
COOLING ASSEMBLY [106994]
CRANKCASE ASSEMBLY [106997]
CYLINDER AND HEAD ASSEMBLY [106996]
DECALS [107010]
DRIVE CLUTCH [105844]
DRIVE TRAIN SHAFTS AND BRAKE ASSEMBLIES [106983]
DRIVEN CLUTCH [106995]
ENGINE AND RELATED PARTS [105193]
EXHAUST ASSEMBLY [105194]
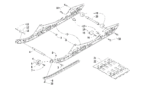
FRONT FRAME ASSEMBLY [107004]
FRONT SUSPENSION SHOCK ABSORBER ASSEMBLY [107001]
FUEL PUMP ASSEMBLY [105190]
GAS TANK ASSEMBLY [107009]
HANDLEBAR AND CONTROLS [107071]
HEADLIGHT AND WIRING ASSEMBLIES [107008]
HOOD AND AIR INTAKE ASSEMBLY [107005]
HYDRAULIC BRAKE CONTROL ASSEMBLY [106578]
IDLER WHEEL ASSEMBLY [107003]
MAGNETO [105203]
OIL TANK ASSEMBLY [106984]
PISTON AND CRANKSHAFT [106998]
REAR SUSPENSION FRONT ARM ASSEMBLY [106970]
REAR SUSPENSION FRONT ARM SHOCK ABSORBER [105174]
REAR SUSPENSION REAR ARM ASSEMBLY [105175]
REAR SUSPENSION REAR ARM SHOCK ABSORBER [105451]
RECOIL STARTER [104899]
REED VALVE ASSEMBLY [105200]
SEAT ASSEMBLY [106993]
SIDE PANEL ASSEMBLY [106784]
SKI AND SPINDLE ASSEMBLY [106770]
SKID PLATE ASSEMBLY [106991]
SLIDE RAIL AND TRACK ASSEMBLY [107002]
STARTER MOTOR ASSEMBLY [103776]
STEERING POST ASSEMBLY [104386]
STEERING SUPPORT ASSEMBLY [105177]
THROTTLE BODY ASSEMBLY [105201]
TIE ROD ASSEMBLY [103778]
TUNNEL AND SNOWFLAP ASSEMBLY [107814]
WATER PUMP AND THERMOSTAT [106999]
WINDSHIELD AND INSTRUMENTS ASSEMBLIES [107006]
A-ARM AND SWAY BAR ASSEMBLY [105163]
BATTERY ASSEMBLY [105994]
BELT GUARD ASSEMBLY [105204]
BUMPERS AND STORAGE [105206]
CHAIN CASE ASSEMBLY [105169]
CONSOLE ASSEMBLY [107007]
COOLING ASSEMBLY [106994]
CRANKCASE ASSEMBLY [106997]
CYLINDER AND HEAD ASSEMBLY [106996]
DECALS [107010]
DRIVE CLUTCH [105844]
DRIVE TRAIN SHAFTS AND BRAKE ASSEMBLIES [106983]
DRIVEN CLUTCH [106995]
ENGINE AND RELATED PARTS [105193]
EXHAUST ASSEMBLY [105194]
FRONT FRAME ASSEMBLY [107004]
FRONT SUSPENSION SHOCK ABSORBER ASSEMBLY [107001]
FUEL PUMP ASSEMBLY [105190]
GAS TANK ASSEMBLY [107009]
HANDLEBAR AND CONTROLS [107071]
HEADLIGHT AND WIRING ASSEMBLIES [107008]
HOOD AND AIR INTAKE ASSEMBLY [107005]
HYDRAULIC BRAKE CONTROL ASSEMBLY [106578]
IDLER WHEEL ASSEMBLY [107003]
MAGNETO [105203]
OIL TANK ASSEMBLY [106984]
PISTON AND CRANKSHAFT [106998]
REAR SUSPENSION FRONT ARM ASSEMBLY [106970]
REAR SUSPENSION FRONT ARM SHOCK ABSORBER [105174]
REAR SUSPENSION REAR ARM ASSEMBLY [105175]
REAR SUSPENSION REAR ARM SHOCK ABSORBER [105451]
RECOIL STARTER [104899]
REED VALVE ASSEMBLY [105200]
SEAT ASSEMBLY [106993]
SIDE PANEL ASSEMBLY [106784]
SKI AND SPINDLE ASSEMBLY [106770]
SKID PLATE ASSEMBLY [106991]
SLIDE RAIL AND TRACK ASSEMBLY [107002]
STARTER MOTOR ASSEMBLY [103776]
STEERING POST ASSEMBLY [104386]
STEERING SUPPORT ASSEMBLY [105177]
THROTTLE BODY ASSEMBLY [105201]
TIE ROD ASSEMBLY [103778]
TUNNEL AND SNOWFLAP ASSEMBLY [107814]
WATER PUMP AND THERMOSTAT [106999]
WINDSHIELD AND INSTRUMENTS ASSEMBLIES [107006]
VIEW WISH LIST