Greenville, TX
|
Give Us a Call
(903) 454-4440
Toggle navigation
Home
Brands
Manufacturer Models
OEM Promotions
Polaris
Can-Am
E-Z-Go
Honda
Kawasaki
Suzuki
Inventory
All Inventory In Stock
New Inventory In Stock
Used Inventory
Value Your Trade-In
Request a Model
Schedule a Test Ride
Secure Financing
Parts
Parts Department
Parts Finder
Service
Service Department
Request Polaris Service
Warranty & Recall Look-Up
Specials
Financing
About
Our Dealership
Our Team
Reviews
Customer Survey
Employment
Events Calendar
Locations
Location & Hours
Contact
Parts Finder
Home
›
Parts
›
Parts Finder
Search by :
Part / Desc
VIN
Please Select
Arctic Cat
Honda
Kawasaki
Polaris
Suzuki
*Please enter at least 3 characters
SEARCH
Manufacturer
Arctic Cat
Snowmobiles
2019
ZR 7000 137 GREEN [S2019ZXULXUSG]
VIEW WISH LIST
Select a Section
Show/Hide
A-ARM AND SWAY BAR ASSEMBLY [105163]
AIR INTAKE ASSEMBLY [106461]
BATTERY AND TRAY ASSEMBLY [105685]
BELT GUARD ASSEMBLY [106769]
BUMPERS AND STORAGE [106783]
CAMSHAFT, CHAIN, AND VALVE ASSEMBLY [102478]
CHAIN CASE ASSEMBLY [105863]
CONSOLE ASSEMBLY [106779]
COOLING ASSEMBLY [106759]
CRANKCASE ASSEMBLY [102475]
CYLINDER HEAD ASSEMBLY [102476]
DECALS [106782]
DRIVE CLUTCH [105645]
DRIVE TRAIN SHAFTS AND BRAKE ASSEMBLIES [106772]
DRIVEN CLUTCH [106761]
ENGINE AND RELATED PARTS [106467]
EXHAUST ASSEMBLY [106760]
FRONT FRAME ASSEMBLY [106775]
FRONT SUSPENSION SHOCK ABSORBER ASSEMBLY [106771]
FUEL PUMP ASSEMBLY [105434]
GAS TANK ASSEMBLY [106465]
HANDLEBAR AND CONTROLS [106741]
HEADLIGHT AND WIRING ASSEMBLIES [106780]
HOOD ASSEMBLY [106777]
HYDRAULIC BRAKE CONTROL ASSEMBLY [106578]
IDLER WHEEL ASSEMBLY [106456]
MAGNETO AND COVER ASSEMBLY [102480]
OIL PAN ASSEMBLY [102479]
OIL PUMP ASSEMBLY [106468]
OIL TANK ASSEMBLY [106743]
PISTON AND CRANKSHAFT ASSEMBLY [102477]
REAR SUSPENSION FRONT ARM ASSEMBLY [106457]
REAR SUSPENSION FRONT ARM SHOCK ABSORBER ASSEMBLY [106304]
REAR SUSPENSION REAR ARM ASSEMBLY [105213]
REAR SUSPENSION REAR ARM SHOCK ABSORBER [106305]
SEAT ASSEMBLY [106781]
SIDE PANEL ASSEMBLY [106784]
SKI AND SPINDLE ASSEMBLY [106770]
SKID PLATE ASSEMBLY [106756]
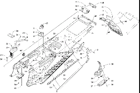
SLIDE RAIL AND TRACK ASSEMBLY [106773]
STARTER MOTOR ASSEMBLY [99545]
STEERING POST ASSEMBLY [105032]
STEERING SUPPORT ASSEMBLY [106746]
THROTTLE BODY ASSEMBLY [106469]
TIE ROD ASSEMBLY [98682]
TUNNEL AND SNOWFLAP ASSEMBLY [106776]
WATER PUMP ASSEMBLY [99542]
WINDSHIELD AND INSTRUMENTS ASSEMBLIES [106778]
A-ARM AND SWAY BAR ASSEMBLY [105163]
AIR INTAKE ASSEMBLY [106461]
BATTERY AND TRAY ASSEMBLY [105685]
BELT GUARD ASSEMBLY [106769]
BUMPERS AND STORAGE [106783]
CAMSHAFT, CHAIN, AND VALVE ASSEMBLY [102478]
CHAIN CASE ASSEMBLY [105863]
CONSOLE ASSEMBLY [106779]
COOLING ASSEMBLY [106759]
CRANKCASE ASSEMBLY [102475]
CYLINDER HEAD ASSEMBLY [102476]
DECALS [106782]
DRIVE CLUTCH [105645]
DRIVE TRAIN SHAFTS AND BRAKE ASSEMBLIES [106772]
DRIVEN CLUTCH [106761]
ENGINE AND RELATED PARTS [106467]
EXHAUST ASSEMBLY [106760]
FRONT FRAME ASSEMBLY [106775]
FRONT SUSPENSION SHOCK ABSORBER ASSEMBLY [106771]
FUEL PUMP ASSEMBLY [105434]
GAS TANK ASSEMBLY [106465]
HANDLEBAR AND CONTROLS [106741]
HEADLIGHT AND WIRING ASSEMBLIES [106780]
HOOD ASSEMBLY [106777]
HYDRAULIC BRAKE CONTROL ASSEMBLY [106578]
IDLER WHEEL ASSEMBLY [106456]
MAGNETO AND COVER ASSEMBLY [102480]
OIL PAN ASSEMBLY [102479]
OIL PUMP ASSEMBLY [106468]
OIL TANK ASSEMBLY [106743]
PISTON AND CRANKSHAFT ASSEMBLY [102477]
REAR SUSPENSION FRONT ARM ASSEMBLY [106457]
REAR SUSPENSION FRONT ARM SHOCK ABSORBER ASSEMBLY [106304]
REAR SUSPENSION REAR ARM ASSEMBLY [105213]
REAR SUSPENSION REAR ARM SHOCK ABSORBER [106305]
SEAT ASSEMBLY [106781]
SIDE PANEL ASSEMBLY [106784]
SKI AND SPINDLE ASSEMBLY [106770]
SKID PLATE ASSEMBLY [106756]
SLIDE RAIL AND TRACK ASSEMBLY [106773]
STARTER MOTOR ASSEMBLY [99545]
STEERING POST ASSEMBLY [105032]
STEERING SUPPORT ASSEMBLY [106746]
THROTTLE BODY ASSEMBLY [106469]
TIE ROD ASSEMBLY [98682]
TUNNEL AND SNOWFLAP ASSEMBLY [106776]
WATER PUMP ASSEMBLY [99542]
WINDSHIELD AND INSTRUMENTS ASSEMBLIES [106778]
VIEW WISH LIST