Greenville, TX
|
Give Us a Call
(903) 454-4440
Toggle navigation
Home
Brands
Manufacturer Models
OEM Promotions
Polaris
Can-Am
E-Z-Go
Honda
Kawasaki
Suzuki
Inventory
All Inventory In Stock
New Inventory In Stock
Used Inventory
Value Your Trade-In
Request a Model
Schedule a Test Ride
Secure Financing
Parts
Parts Department
Parts Finder
Service
Service Department
Request Polaris Service
Warranty & Recall Look-Up
Specials
Financing
About
Our Dealership
Our Team
Reviews
Customer Survey
Employment
Events Calendar
Locations
Location & Hours
Contact
Parts Finder
Home
›
Parts
›
Parts Finder
Search by :
Part / Desc
VIN
Please Select
Arctic Cat
Honda
Kawasaki
Polaris
Suzuki
*Please enter at least 3 characters
SEARCH
Manufacturer
Arctic Cat
Snowmobiles
2019
PANTERA 3000 146 BLACK [S2019PTTTOUSB]
VIEW WISH LIST
Select a Section
Show/Hide
A-ARM AND SWAY BAR ASSEMBLY [105163]
AIR INTAKE ASSEMBLY [106310]
BATTERY AND TRAY ASSEMBLY [106428]
BELT GUARD ASSEMBLY [106769]
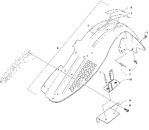
BUMPER, STORAGE, AND TAILLIGHT ASSEMBLY [106430]
CHAIN CASE ASSEMBLY [106302]
CONSOLE ASSEMBLY [107413]
COOLING ASSEMBLY [107418]
CRANKCASE ASSEMBLY [105319]
CRANKSHAFT AND PISTON ASSEMBLY [300034]
CYLINDER AND TIMING CHAIN ASSEMBLY [300031]
CYLINDER HEAD AND CAMSHAFT/VALVE ASSEMBLY [102792]
DECALS [107420]
DRIVE CLUTCH [106320]
DRIVE TRAIN SHAFTS AND BRAKE ASSEMBLIES [107405]
DRIVEN CLUTCH [103751]
ENGINE AND RELATED PARTS [106318]
EXHAUST ASSEMBLY [104286]
FRONT FRAME ASSEMBLY [107409]
FRONT SHOCK ABSORBER ASSEMBLY [106299]
FUEL PUMP ASSEMBLY [106315]
GAS TANK ASSEMBLY [107416]
HANDLEBAR AND CONTROLS [107404]
HEADLIGHT AND WIRING ASSEMBLIES [107414]
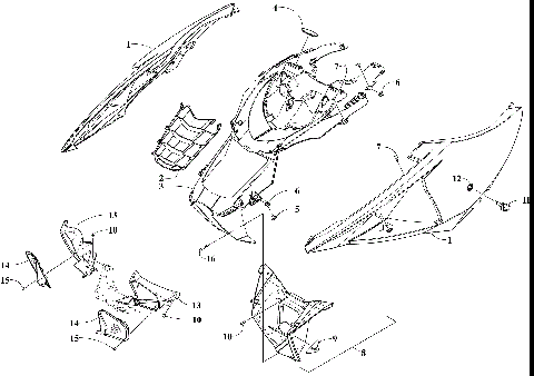
HOOD ASSEMBLY [107411]
HYDRAULIC BRAKE CONTROL ASSEMBLY [106578]
IDLER WHEEL ASSEMBLY [107787]
MAGNETO AND PTO COVERS [300039]
MAGNETO ASSEMBLY [300037]
OIL COOLER ASSEMBLY [106317]
OIL PAN AND STRAINER ASSEMBLY [300035]
OIL PUMP AND WATER PUMP ASSEMBLIES [300036]
PASSENGER SEAT AND BACKREST ASSEMBLY [107421]
REAR SUSPENSION FRONT ARM ASSEMBLY [106457]
REAR SUSPENSION FRONT ARM SHOCK ABSORBER ASSEMBLY [106304]
REAR SUSPENSION REAR ARM ASSEMBLY [106285]
REAR SUSPENSION REAR ARM SHOCK ABSORBER [105744]
SEAT ASSEMBLY [107417]
SIDE PANEL ASSEMBLY [107423]
SKI AND SPINDLE ASSEMBLY [102702]
SKID PLATE ASSEMBLY [107415]
SLIDE RAIL AND TRACK ASSEMBLY [107406]
STARTER MOTOR ASSEMBLY [102794]
STEERING POST ASSEMBLY [106405]
STEERING SUPPORT ASSEMBLY [107408]
THROTTLE BODY ASSEMBLY [106321]
TIE ROD ASSEMBLY [103778]
TUNNEL AND REAR RACK ASSEMBLY [107410]
WINDSHIELD AND INSTRUMENTS ASSEMBLIES [107412]
A-ARM AND SWAY BAR ASSEMBLY [105163]
AIR INTAKE ASSEMBLY [106310]
BATTERY AND TRAY ASSEMBLY [106428]
BELT GUARD ASSEMBLY [106769]
BUMPER, STORAGE, AND TAILLIGHT ASSEMBLY [106430]
CHAIN CASE ASSEMBLY [106302]
CONSOLE ASSEMBLY [107413]
COOLING ASSEMBLY [107418]
CRANKCASE ASSEMBLY [105319]
CRANKSHAFT AND PISTON ASSEMBLY [300034]
CYLINDER AND TIMING CHAIN ASSEMBLY [300031]
CYLINDER HEAD AND CAMSHAFT/VALVE ASSEMBLY [102792]
DECALS [107420]
DRIVE CLUTCH [106320]
DRIVE TRAIN SHAFTS AND BRAKE ASSEMBLIES [107405]
DRIVEN CLUTCH [103751]
ENGINE AND RELATED PARTS [106318]
EXHAUST ASSEMBLY [104286]
FRONT FRAME ASSEMBLY [107409]
FRONT SHOCK ABSORBER ASSEMBLY [106299]
FUEL PUMP ASSEMBLY [106315]
GAS TANK ASSEMBLY [107416]
HANDLEBAR AND CONTROLS [107404]
HEADLIGHT AND WIRING ASSEMBLIES [107414]
HOOD ASSEMBLY [107411]
HYDRAULIC BRAKE CONTROL ASSEMBLY [106578]
IDLER WHEEL ASSEMBLY [107787]
MAGNETO AND PTO COVERS [300039]
MAGNETO ASSEMBLY [300037]
OIL COOLER ASSEMBLY [106317]
OIL PAN AND STRAINER ASSEMBLY [300035]
OIL PUMP AND WATER PUMP ASSEMBLIES [300036]
PASSENGER SEAT AND BACKREST ASSEMBLY [107421]
REAR SUSPENSION FRONT ARM ASSEMBLY [106457]
REAR SUSPENSION FRONT ARM SHOCK ABSORBER ASSEMBLY [106304]
REAR SUSPENSION REAR ARM ASSEMBLY [106285]
REAR SUSPENSION REAR ARM SHOCK ABSORBER [105744]
SEAT ASSEMBLY [107417]
SIDE PANEL ASSEMBLY [107423]
SKI AND SPINDLE ASSEMBLY [102702]
SKID PLATE ASSEMBLY [107415]
SLIDE RAIL AND TRACK ASSEMBLY [107406]
STARTER MOTOR ASSEMBLY [102794]
STEERING POST ASSEMBLY [106405]
STEERING SUPPORT ASSEMBLY [107408]
THROTTLE BODY ASSEMBLY [106321]
TIE ROD ASSEMBLY [103778]
TUNNEL AND REAR RACK ASSEMBLY [107410]
WINDSHIELD AND INSTRUMENTS ASSEMBLIES [107412]
VIEW WISH LIST