Greenville, TX
|
Give Us a Call
(903) 454-4440
Toggle navigation
Home
Brands
Manufacturer Models
OEM Promotions
Polaris
Can-Am
E-Z-Go
Honda
Kawasaki
Suzuki
Inventory
All Inventory In Stock
New Inventory In Stock
Used Inventory
Value Your Trade-In
Request a Model
Schedule a Test Ride
Secure Financing
Parts
Parts Department
Parts Finder
Service
Service Department
Request Polaris Service
Warranty & Recall Look-Up
Specials
Financing
About
Our Dealership
Our Team
Reviews
Customer Survey
Employment
Events Calendar
Locations
Location & Hours
Contact
Parts Finder
Home
›
Parts
›
Parts Finder
Search by :
Part / Desc
VIN
Please Select
Arctic Cat
Honda
Kawasaki
Polaris
Suzuki
*Please enter at least 3 characters
SEARCH
Manufacturer
Arctic Cat
Snowmobiles
2019
BEARCAT 7000 XT GRAY [S2019BCUWTUSU]
VIEW WISH LIST
Select a Section
Show/Hide
A-ARM AND SWAY BAR ASSEMBLY [106145]
AIR INTAKE ASSEMBLY [106790]
ARTICULATING SKID FRAME ASSEMBLY [106788]
BATTERY AND TRAY ASSEMBLY [106170]
BELT GUARD ASSEMBLY [106165]
BUMPERS AND STORAGE [106173]
CAMSHAFT, CHAIN, AND VALVE ASSEMBLY [102478]
CONSOLE ASSEMBLY [106792]
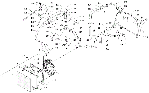
COOLING ASSEMBLY [106168]
CRANKCASE ASSEMBLY [102475]
CYLINDER HEAD ASSEMBLY [102476]
DECALS [106796]
DRIVE CLUTCH [106171]
DRIVE TRAIN SHAFTS AND BRAKE ASSEMBLIES [103844]
DRIVEN CLUTCH [106172]
ENGINE AND RELATED PARTS [106169]
EXHAUST ASSEMBLY [103859]
FRONT FASCIA AND CENTER SKID PLATE ASSEMBLY [106163]
FRONT FRAME AND STEERING SUPPORT ASSEMBLY [106157]
FRONT SHOCK ABSORBER ASSEMBLY [106785]
FUEL PUMP ASSEMBLY [102603]
GAS TANK ASSEMBLY [106795]
HANDLEBAR AND CONTROLS [106930]
HEADLIGHT AND WIRING ASSEMBLIES [106793]
HOOD ASSEMBLY [106789]
HYDRAULIC BRAKE CONTROL ASSEMBLY [106786]
IDLER WHEEL ASSEMBLY [106152]
MAGNETO AND COVER ASSEMBLY [102480]
OIL PAN ASSEMBLY [102479]
OIL PUMP ASSEMBLY [106468]
OIL TANK ASSEMBLY [106150]
PISTON AND CRANKSHAFT ASSEMBLY [102477]
REAR SUSPENSION FRONT ARM ASSEMBLY [106153]
REAR SUSPENSION FRONT ARM SHOCK ABSORBER ASSEMBLY [106304]
REAR SUSPENSION REAR ARM ASSEMBLY [106155]
REAR SUSPENSION REAR ARM SHOCK ABSORBER [106156]
SEAT ASSEMBLY [106167]
SIDE PANEL ASSEMBLY [106797]
SKI AND SPINDLE ASSEMBLY [102762]
SKID PLATE ASSEMBLY [106794]
SLIDE RAIL AND TRACK ASSEMBLY [106787]
STARTER MOTOR ASSEMBLY [99545]
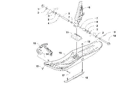
STEERING POST ASSEMBLY [106929]
THROTTLE BODY ASSEMBLY [106932]
TIE ROD ASSEMBLY [106147]
TRANSMISSION ASSEMBLY [102861]
TUNNEL AND SNOWFLAP ASSEMBLY [106158]
WATER PUMP ASSEMBLY [99542]
WINDSHIELD AND INSTRUMENTS ASSEMBLIES [106791]
A-ARM AND SWAY BAR ASSEMBLY [106145]
AIR INTAKE ASSEMBLY [106790]
ARTICULATING SKID FRAME ASSEMBLY [106788]
BATTERY AND TRAY ASSEMBLY [106170]
BELT GUARD ASSEMBLY [106165]
BUMPERS AND STORAGE [106173]
CAMSHAFT, CHAIN, AND VALVE ASSEMBLY [102478]
CONSOLE ASSEMBLY [106792]
COOLING ASSEMBLY [106168]
CRANKCASE ASSEMBLY [102475]
CYLINDER HEAD ASSEMBLY [102476]
DECALS [106796]
DRIVE CLUTCH [106171]
DRIVE TRAIN SHAFTS AND BRAKE ASSEMBLIES [103844]
DRIVEN CLUTCH [106172]
ENGINE AND RELATED PARTS [106169]
EXHAUST ASSEMBLY [103859]
FRONT FASCIA AND CENTER SKID PLATE ASSEMBLY [106163]
FRONT FRAME AND STEERING SUPPORT ASSEMBLY [106157]
FRONT SHOCK ABSORBER ASSEMBLY [106785]
FUEL PUMP ASSEMBLY [102603]
GAS TANK ASSEMBLY [106795]
HANDLEBAR AND CONTROLS [106930]
HEADLIGHT AND WIRING ASSEMBLIES [106793]
HOOD ASSEMBLY [106789]
HYDRAULIC BRAKE CONTROL ASSEMBLY [106786]
IDLER WHEEL ASSEMBLY [106152]
MAGNETO AND COVER ASSEMBLY [102480]
OIL PAN ASSEMBLY [102479]
OIL PUMP ASSEMBLY [106468]
OIL TANK ASSEMBLY [106150]
PISTON AND CRANKSHAFT ASSEMBLY [102477]
REAR SUSPENSION FRONT ARM ASSEMBLY [106153]
REAR SUSPENSION FRONT ARM SHOCK ABSORBER ASSEMBLY [106304]
REAR SUSPENSION REAR ARM ASSEMBLY [106155]
REAR SUSPENSION REAR ARM SHOCK ABSORBER [106156]
SEAT ASSEMBLY [106167]
SIDE PANEL ASSEMBLY [106797]
SKI AND SPINDLE ASSEMBLY [102762]
SKID PLATE ASSEMBLY [106794]
SLIDE RAIL AND TRACK ASSEMBLY [106787]
STARTER MOTOR ASSEMBLY [99545]
STEERING POST ASSEMBLY [106929]
THROTTLE BODY ASSEMBLY [106932]
TIE ROD ASSEMBLY [106147]
TRANSMISSION ASSEMBLY [102861]
TUNNEL AND SNOWFLAP ASSEMBLY [106158]
WATER PUMP ASSEMBLY [99542]
WINDSHIELD AND INSTRUMENTS ASSEMBLIES [106791]
VIEW WISH LIST