Greenville, TX
|
Give Us a Call
(903) 454-4440
Toggle navigation
Home
Brands
Manufacturer Models
OEM Promotions
Polaris
Can-Am
E-Z-Go
Honda
Kawasaki
Suzuki
Inventory
All Inventory In Stock
New Inventory In Stock
Used Inventory
Value Your Trade-In
Request a Model
Schedule a Test Ride
Secure Financing
Parts
Parts Department
Parts Finder
Service
Service Department
Request Polaris Service
Warranty & Recall Look-Up
Specials
Financing
About
Our Dealership
Our Team
Reviews
Customer Survey
Employment
Events Calendar
Locations
Location & Hours
Contact
Parts Finder
Home
›
Parts
›
Parts Finder
Search by :
Part / Desc
VIN
Please Select
Arctic Cat
Honda
Kawasaki
Polaris
Suzuki
*Please enter at least 3 characters
SEARCH
Manufacturer
Arctic Cat
Snowmobiles
2018
ZR 9000 THUNDERCAT 137 BLACK INTERNATIONAL [S2018ZXXTCOSB]
VIEW WISH LIST
Select a Section
Show/Hide
A-ARM AND SWAY BAR ASSEMBLY [105163]
AIR INTAKE ASSEMBLY [105150]
BATTERY AND TRAY ASSEMBLY [104786]
BELT GUARD ASSEMBLY [104541]
BUMPERS AND STORAGE [105350]
CAMSHAFT, CHAIN, AND VALVE ASSEMBLY [104549]
CHAIN CASE ASSEMBLY [105339]
CONSOLE ASSEMBLY [105346]
COOLING ASSEMBLY [104957]
CRANKCASE ASSEMBLY [104546]
CYLINDER HEAD ASSEMBLY [104547]
DECALS [105349]
DRIVE CLUTCH [105159]
DRIVE TRAIN SHAFTS AND BRAKE ASSEMBLIES [105337]
DRIVEN CLUTCH [105361]
ENGINE AND RELATED PARTS [105157]
EXHAUST ASSEMBLY [105158]
FRONT FRAME ASSEMBLY [105494]
FRONT SUSPENSION SHOCK ABSORBER ASSEMBLY [105334]
FUEL PUMP ASSEMBLY [104543]
GAS TANK ASSEMBLY [105154]
HANDLEBAR AND CONTROLS [105336]
HEADLIGHT AND WIRING ASSEMBLIES [105016]
HOOD ASSEMBLY [105344]
HYDRAULIC BRAKE CONTROL ASSEMBLY [105275]
IDLER WHEEL ASSEMBLY [105210]
MAGNETO AND COVER ASSEMBLY [104555]
OIL PAN ASSEMBLY [104550]
OIL PUMP ASSEMBLY [104552]
OIL TANK ASSEMBLY [105587]
PISTON AND CRANKSHAFT ASSEMBLY [104548]
REAR SUSPENSION FRONT ARM ASSEMBLY [105211]
REAR SUSPENSION FRONT ARM SHOCK ABSORBER [105212]
REAR SUSPENSION REAR ARM ASSEMBLY [105213]
REAR SUSPENSION REAR ARM SHOCK ABSORBER [105277]
SEAT ASSEMBLY [105348]
SKI AND SPINDLE ASSEMBLY [102634]
SKID PLATE AND SIDE PANEL ASSEMBLY [105347]
SLIDE RAIL AND TRACK ASSEMBLY [105341]
STARTER MOTOR ASSEMBLY [104556]
STEERING POST ASSEMBLY [105335]
STEERING SUPPORT ASSEMBLY [105342]
THROTTLE BODY ASSEMBLY [104554]
TIE ROD ASSEMBLY [98682]
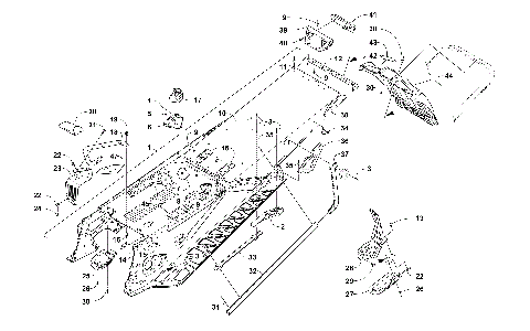
TUNNEL AND SNOWFLAP ASSEMBLY [105652]
TURBOCHARGER ASSEMBLY [104557]
WATER PUMP ASSEMBLY [104553]
WINDSHIELD AND INSTRUMENTS ASSEMBLIES [105345]
A-ARM AND SWAY BAR ASSEMBLY [105163]
AIR INTAKE ASSEMBLY [105150]
BATTERY AND TRAY ASSEMBLY [104786]
BELT GUARD ASSEMBLY [104541]
BUMPERS AND STORAGE [105350]
CAMSHAFT, CHAIN, AND VALVE ASSEMBLY [104549]
CHAIN CASE ASSEMBLY [105339]
CONSOLE ASSEMBLY [105346]
COOLING ASSEMBLY [104957]
CRANKCASE ASSEMBLY [104546]
CYLINDER HEAD ASSEMBLY [104547]
DECALS [105349]
DRIVE CLUTCH [105159]
DRIVE TRAIN SHAFTS AND BRAKE ASSEMBLIES [105337]
DRIVEN CLUTCH [105361]
ENGINE AND RELATED PARTS [105157]
EXHAUST ASSEMBLY [105158]
FRONT FRAME ASSEMBLY [105494]
FRONT SUSPENSION SHOCK ABSORBER ASSEMBLY [105334]
FUEL PUMP ASSEMBLY [104543]
GAS TANK ASSEMBLY [105154]
HANDLEBAR AND CONTROLS [105336]
HEADLIGHT AND WIRING ASSEMBLIES [105016]
HOOD ASSEMBLY [105344]
HYDRAULIC BRAKE CONTROL ASSEMBLY [105275]
IDLER WHEEL ASSEMBLY [105210]
MAGNETO AND COVER ASSEMBLY [104555]
OIL PAN ASSEMBLY [104550]
OIL PUMP ASSEMBLY [104552]
OIL TANK ASSEMBLY [105587]
PISTON AND CRANKSHAFT ASSEMBLY [104548]
REAR SUSPENSION FRONT ARM ASSEMBLY [105211]
REAR SUSPENSION FRONT ARM SHOCK ABSORBER [105212]
REAR SUSPENSION REAR ARM ASSEMBLY [105213]
REAR SUSPENSION REAR ARM SHOCK ABSORBER [105277]
SEAT ASSEMBLY [105348]
SKI AND SPINDLE ASSEMBLY [102634]
SKID PLATE AND SIDE PANEL ASSEMBLY [105347]
SLIDE RAIL AND TRACK ASSEMBLY [105341]
STARTER MOTOR ASSEMBLY [104556]
STEERING POST ASSEMBLY [105335]
STEERING SUPPORT ASSEMBLY [105342]
THROTTLE BODY ASSEMBLY [104554]
TIE ROD ASSEMBLY [98682]
TUNNEL AND SNOWFLAP ASSEMBLY [105652]
TURBOCHARGER ASSEMBLY [104557]
WATER PUMP ASSEMBLY [104553]
WINDSHIELD AND INSTRUMENTS ASSEMBLIES [105345]
VIEW WISH LIST