Greenville, TX
|
Give Us a Call
(903) 454-4440
Toggle navigation
Home
Brands
Manufacturer Models
OEM Promotions
Polaris
Can-Am
E-Z-Go
Honda
Kawasaki
Suzuki
Inventory
All Inventory In Stock
New Inventory In Stock
Used Inventory
Value Your Trade-In
Request a Model
Schedule a Test Ride
Secure Financing
Parts
Parts Department
Parts Finder
Service
Service Department
Request Polaris Service
Warranty & Recall Look-Up
Specials
Financing
About
Our Dealership
Our Team
Reviews
Customer Survey
Employment
Events Calendar
Locations
Location & Hours
Contact
Parts Finder
Home
›
Parts
›
Parts Finder
Search by :
Part / Desc
VIN
Please Select
Arctic Cat
Honda
Kawasaki
Polaris
Suzuki
*Please enter at least 3 characters
SEARCH
Manufacturer
Arctic Cat
Snowmobiles
2018
M 9000 KING CAT 162 BLACK INTERNATIONAL [S2018M9XKCOSB]
VIEW WISH LIST
Select a Section
Show/Hide
A-ARM ASSEMBLY [105136]
AIR INTAKE ASSEMBLY [105150]
BATTERY AND TRAY ASSEMBLY [104786]
BELT GUARD ASSEMBLY [105153]
BUMPERS AND STORAGE [105161]
CAMSHAFT, CHAIN, AND VALVE ASSEMBLY [104549]
CHAIN CASE ASSEMBLY [105139]
CONSOLE ASSEMBLY [105151]
COOLING ASSEMBLY [105156]
CRANKCASE ASSEMBLY [104546]
CYLINDER HEAD ASSEMBLY [104547]
DECALS [105160]
DRIVE CLUTCH [105159]
DRIVE TRAIN SHAFTS AND BRAKE ASSEMBLIES [104774]
DRIVEN CLUTCH [105321]
ENGINE AND RELATED PARTS [105157]
EXHAUST ASSEMBLY [105158]
FRONT FRAME ASSEMBLY [105402]
FRONT SUSPENSION SHOCK ABSORBER ASSEMBLY [105137]
FUEL PUMP ASSEMBLY [104543]
GAS TANK ASSEMBLY [105154]
HANDLEBAR AND CONTROLS [104772]
HEADLIGHT AND WIRING ASSEMBLIES [104782]
HOOD ASSEMBLY [105149]
HYDRAULIC BRAKE CONTROL ASSEMBLY [104773]
IDLER WHEEL ASSEMBLY [103900]
MAGNETO AND COVER ASSEMBLY [104555]
OIL PAN ASSEMBLY [104550]
OIL PUMP ASSEMBLY [104552]
OIL TANK ASSEMBLY [105587]
PISTON AND CRANKSHAFT ASSEMBLY [104548]
REAR SUSPENSION FRONT ARM ASSEMBLY [105142]
REAR SUSPENSION FRONT ARM SHOCK ABSORBER [105143]
REAR SUSPENSION REAR ARM ASSEMBLY [105144]
REAR SUSPENSION REAR ARM SHOCK ABSORBER [105145]
SEAT ASSEMBLY [105155]
SKI AND SPINDLE ASSEMBLY [105135]
SKID PLATE AND SIDE PANEL ASSEMBLY [105152]
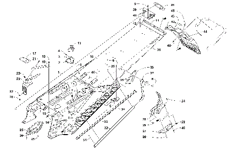
SLIDE RAIL AND TRACK ASSEMBLY [105141]
STARTER MOTOR ASSEMBLY [104556]
STEERING POST ASSEMBLY [105026]
STEERING SUPPORT ASSEMBLY [105146]
THROTTLE BODY ASSEMBLY [104554]
TIE ROD ASSEMBLY [103791]
TUNNEL AND SNOWFLAP ASSEMBLY [105148]
TURBOCHARGER ASSEMBLY [104557]
WATER PUMP ASSEMBLY [104553]
WINDSHIELD AND INSTRUMENTS ASSEMBLIES [104780]
A-ARM ASSEMBLY [105136]
AIR INTAKE ASSEMBLY [105150]
BATTERY AND TRAY ASSEMBLY [104786]
BELT GUARD ASSEMBLY [105153]
BUMPERS AND STORAGE [105161]
CAMSHAFT, CHAIN, AND VALVE ASSEMBLY [104549]
CHAIN CASE ASSEMBLY [105139]
CONSOLE ASSEMBLY [105151]
COOLING ASSEMBLY [105156]
CRANKCASE ASSEMBLY [104546]
CYLINDER HEAD ASSEMBLY [104547]
DECALS [105160]
DRIVE CLUTCH [105159]
DRIVE TRAIN SHAFTS AND BRAKE ASSEMBLIES [104774]
DRIVEN CLUTCH [105321]
ENGINE AND RELATED PARTS [105157]
EXHAUST ASSEMBLY [105158]
FRONT FRAME ASSEMBLY [105402]
FRONT SUSPENSION SHOCK ABSORBER ASSEMBLY [105137]
FUEL PUMP ASSEMBLY [104543]
GAS TANK ASSEMBLY [105154]
HANDLEBAR AND CONTROLS [104772]
HEADLIGHT AND WIRING ASSEMBLIES [104782]
HOOD ASSEMBLY [105149]
HYDRAULIC BRAKE CONTROL ASSEMBLY [104773]
IDLER WHEEL ASSEMBLY [103900]
MAGNETO AND COVER ASSEMBLY [104555]
OIL PAN ASSEMBLY [104550]
OIL PUMP ASSEMBLY [104552]
OIL TANK ASSEMBLY [105587]
PISTON AND CRANKSHAFT ASSEMBLY [104548]
REAR SUSPENSION FRONT ARM ASSEMBLY [105142]
REAR SUSPENSION FRONT ARM SHOCK ABSORBER [105143]
REAR SUSPENSION REAR ARM ASSEMBLY [105144]
REAR SUSPENSION REAR ARM SHOCK ABSORBER [105145]
SEAT ASSEMBLY [105155]
SKI AND SPINDLE ASSEMBLY [105135]
SKID PLATE AND SIDE PANEL ASSEMBLY [105152]
SLIDE RAIL AND TRACK ASSEMBLY [105141]
STARTER MOTOR ASSEMBLY [104556]
STEERING POST ASSEMBLY [105026]
STEERING SUPPORT ASSEMBLY [105146]
THROTTLE BODY ASSEMBLY [104554]
TIE ROD ASSEMBLY [103791]
TUNNEL AND SNOWFLAP ASSEMBLY [105148]
TURBOCHARGER ASSEMBLY [104557]
WATER PUMP ASSEMBLY [104553]
WINDSHIELD AND INSTRUMENTS ASSEMBLIES [104780]
VIEW WISH LIST