Greenville, TX
|
Give Us a Call
(903) 454-4440
Toggle navigation
Home
Brands
Manufacturer Models
OEM Promotions
Polaris
Can-Am
E-Z-Go
Honda
Kawasaki
Suzuki
Inventory
All Inventory In Stock
New Inventory In Stock
Used Inventory
Value Your Trade-In
Request a Model
Schedule a Test Ride
Secure Financing
Parts
Parts Department
Parts Finder
Service
Service Department
Request Polaris Service
Warranty & Recall Look-Up
Specials
Financing
About
Our Dealership
Our Team
Reviews
Customer Survey
Employment
Events Calendar
Locations
Location & Hours
Contact
Parts Finder
Home
›
Parts
›
Parts Finder
Search by :
Part / Desc
VIN
Please Select
Arctic Cat
Honda
Kawasaki
Polaris
Suzuki
*Please enter at least 3 characters
SEARCH
Manufacturer
Arctic Cat
Snowmobiles
2017
BEARCAT 7000 XT GROOMER SPECIAL ORANGE [S2017BCUWGUSO]
VIEW WISH LIST
Select a Section
Show/Hide
A-ARM AND SWAY BAR ASSEMBLY [103841]
AIR INTAKE ASSEMBLY [102595]
ARTICULATING SKID FRAME ASSEMBLY [103847]
BATTERY AND TRAY ASSEMBLY [102609]
BELT GUARD ASSEMBLY [102601]
CAMSHAFT, CHAIN, AND VALVE ASSEMBLY [102478]
CONSOLE ASSEMBLY [104076]
COOLING ASSEMBLY [104079]
CRANKCASE ASSEMBLY [102475]
CYLINDER HEAD ASSEMBLY [102476]
DRIVE CLUTCH [103860]
DRIVE TRAIN SHAFTS AND BRAKE ASSEMBLIES [103844]
DRIVEN CLUTCH [103861]
ENGINE AND RELATED PARTS [104081]
EXHAUST ASSEMBLY [103859]
FRONT BUMPER, FRAME, AND STEERING SUPPORT ASSEMBLY [102918]
FRONT FASCIA AND CENTER SKID PLATE ASSEMBLY [104077]
FRONT SHOCK ABSORBER ASSEMBLY [103842]
FRONT SUSPENSION SHOCK ABSORBER [102577]
FUEL PUMP ASSEMBLY [102603]
GAS TANK ASSEMBLY [102602]
HANDLEBAR AND CONTROLS [104071]
HEADLIGHT AND WIRING ASSEMBLIES [102598]
HEADLIGHT AND WIRING ASSEMBLIES [103854]
HOOD ASSEMBLY [103254]
HYDRAULIC BRAKE CONTROL ASSEMBLY [102581]
IDLER WHEEL ASSEMBLY [103846]
MAGNETO AND COVER ASSEMBLY [102480]
OIL PAN ASSEMBLY [102479]
OIL PUMP ASSEMBLY [99540]
OIL TANK ASSEMBLY [102917]
PISTON AND CRANKSHAFT ASSEMBLY [102477]
REAR SUSPENSION FRONT ARM ASSEMBLY [103848]
REAR SUSPENSION FRONT ARM SHOCK ABSORBER [102589]
REAR SUSPENSION REAR ARM ASSEMBLY [104074]
REAR SUSPENSION REAR ARM SHOCK ABSORBER [102591]
SEAT ASSEMBLY [104078]
SKI AND SPINDLE ASSEMBLY [102762]
SKID PLATE AND SIDE PANEL ASSEMBLY [106936]
SLIDE RAIL AND TRACK ASSEMBLY [103845]
STARTER MOTOR ASSEMBLY [99545]
STEERING POST ASSEMBLY [103843]
STROBE AND TAILLIGHT ASSEMBLY [103259]
THROTTLE BODY ASSEMBLY [102612]
TIE ROD ASSEMBLY [102578]
TRANSMISSION ASSEMBLY [102861]
TUNNEL AND REAR RACK ASSEMBLY [104075]
WATER PUMP ASSEMBLY [99542]
WINCH ASSEMBLY [103258]
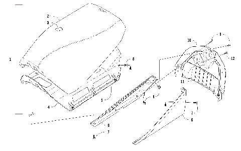
WINDSHIELD AND INSTRUMENTS ASSEMBLIES [103852]
A-ARM AND SWAY BAR ASSEMBLY [103841]
AIR INTAKE ASSEMBLY [102595]
ARTICULATING SKID FRAME ASSEMBLY [103847]
BATTERY AND TRAY ASSEMBLY [102609]
BELT GUARD ASSEMBLY [102601]
CAMSHAFT, CHAIN, AND VALVE ASSEMBLY [102478]
CONSOLE ASSEMBLY [104076]
COOLING ASSEMBLY [104079]
CRANKCASE ASSEMBLY [102475]
CYLINDER HEAD ASSEMBLY [102476]
DRIVE CLUTCH [103860]
DRIVE TRAIN SHAFTS AND BRAKE ASSEMBLIES [103844]
DRIVEN CLUTCH [103861]
ENGINE AND RELATED PARTS [104081]
EXHAUST ASSEMBLY [103859]
FRONT BUMPER, FRAME, AND STEERING SUPPORT ASSEMBLY [102918]
FRONT FASCIA AND CENTER SKID PLATE ASSEMBLY [104077]
FRONT SHOCK ABSORBER ASSEMBLY [103842]
FRONT SUSPENSION SHOCK ABSORBER [102577]
FUEL PUMP ASSEMBLY [102603]
GAS TANK ASSEMBLY [102602]
HANDLEBAR AND CONTROLS [104071]
HEADLIGHT AND WIRING ASSEMBLIES [102598]
HEADLIGHT AND WIRING ASSEMBLIES [103854]
HOOD ASSEMBLY [103254]
HYDRAULIC BRAKE CONTROL ASSEMBLY [102581]
IDLER WHEEL ASSEMBLY [103846]
MAGNETO AND COVER ASSEMBLY [102480]
OIL PAN ASSEMBLY [102479]
OIL PUMP ASSEMBLY [99540]
OIL TANK ASSEMBLY [102917]
PISTON AND CRANKSHAFT ASSEMBLY [102477]
REAR SUSPENSION FRONT ARM ASSEMBLY [103848]
REAR SUSPENSION FRONT ARM SHOCK ABSORBER [102589]
REAR SUSPENSION REAR ARM ASSEMBLY [104074]
REAR SUSPENSION REAR ARM SHOCK ABSORBER [102591]
SEAT ASSEMBLY [104078]
SKI AND SPINDLE ASSEMBLY [102762]
SKID PLATE AND SIDE PANEL ASSEMBLY [106936]
SLIDE RAIL AND TRACK ASSEMBLY [103845]
STARTER MOTOR ASSEMBLY [99545]
STEERING POST ASSEMBLY [103843]
STROBE AND TAILLIGHT ASSEMBLY [103259]
THROTTLE BODY ASSEMBLY [102612]
TIE ROD ASSEMBLY [102578]
TRANSMISSION ASSEMBLY [102861]
TUNNEL AND REAR RACK ASSEMBLY [104075]
WATER PUMP ASSEMBLY [99542]
WINCH ASSEMBLY [103258]
WINDSHIELD AND INSTRUMENTS ASSEMBLIES [103852]
VIEW WISH LIST