Greenville, TX
|
Give Us a Call
(903) 454-4440
Toggle navigation
Home
Brands
Manufacturer Models
OEM Promotions
Polaris
Can-Am
E-Z-Go
Honda
Kawasaki
Suzuki
Inventory
All Inventory In Stock
New Inventory In Stock
Used Inventory
Value Your Trade-In
Request a Model
Schedule a Test Ride
Secure Financing
Parts
Parts Department
Parts Finder
Service
Service Department
Request Polaris Service
Warranty & Recall Look-Up
Specials
Financing
About
Our Dealership
Our Team
Reviews
Customer Survey
Employment
Events Calendar
Locations
Location & Hours
Contact
Parts Finder
Home
›
Parts
›
Parts Finder
Search by :
Part / Desc
VIN
Please Select
Arctic Cat
Honda
Kawasaki
Polaris
Suzuki
*Please enter at least 3 characters
SEARCH
Manufacturer
Arctic Cat
Snowmobiles
2016
ZR 4000 LXR 129 GREEN INTERNATIONAL [S2016ZRCEFOSG]
VIEW WISH LIST
Select a Section
Show/Hide
A-ARM AND SWAY BAR ASSEMBLY [103034]
BELT GUARD ASSEMBLY [103046]
CHAIN CASE ASSEMBLY [105021]
CONSOLE ASSEMBLY [101015]
COOLING ASSEMBLY [103048]
CRANKCASE ASSEMBLY [93866]
CYLINDER AND HEAD ASSEMBLY [89241]
DRIVE CLUTCH [101974]
DRIVE TRAIN SHAFTS AND BRAKE ASSEMBLIES [103036]
DRIVEN CLUTCH [98856]
ELECTRICAL [101988]
ENGINE AND RELATED PARTS [103993]
EXHAUST ASSEMBLY [101973]
FRONT BUMPER AND FRAME ASSEMBLY [103041]
FRONT SHOCK ABSORBER ASSEMBLY [98680]
FRONT SUSPENSION SHOCK ABSORBER [102317]
FUEL PUMP ASSEMBLY [101970]
GAS TANK ASSEMBLY [101969]
HANDLEBAR AND CONTROLS [103035]
HEADLIGHT AND WIRING ASSEMBLIES [101966]
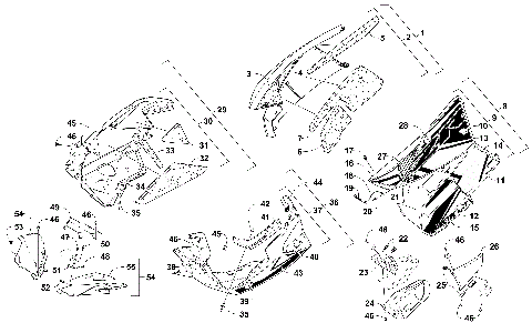
HOOD AND AIR INTAKE ASSEMBLY [103043]
HYDRAULIC BRAKE CONTROL ASSEMBLY [97987]
IDLER WHEEL ASSEMBLY [102320]
MAGNETO [89578]
OIL PUMP [89245]
OIL TANK ASSEMBLY [101957]
PISTON AND CRANKSHAFT [91145]
REAR SUSPENSION FRONT ARM ASSEMBLY [103134]
REAR SUSPENSION FRONT ARM SHOCK ABSORBER [103039]
REAR SUSPENSION REAR ARM ASSEMBLY [101234]
REAR SUSPENSION REAR ARM SHOCK ABSORBER [102324]
RECOIL STARTER [89247]
REED VALVE/THROTTLE BODY ASSEMBLY [98224]
SEAT ASSEMBLY [103047]
SKI AND SPINDLE ASSEMBLY [103033]
SKID PLATE AND SIDE PANEL ASSEMBLY [103045]
SLIDE RAIL AND TRACK ASSEMBLY [103037]
STEERING POST ASSEMBLY [102070]
STEERING SUPPORT ASSEMBLY [103040]
TIE ROD ASSEMBLY [100591]
TUNNEL, REAR BUMPER, AND SNOWFLAP ASSEMBLY [103042]
WATER PUMP AND THERMOSTAT [93010]
WINDSHIELD AND INSTRUMENTS ASSEMBLIES [103044]
A-ARM AND SWAY BAR ASSEMBLY [103034]
BELT GUARD ASSEMBLY [103046]
CHAIN CASE ASSEMBLY [105021]
CONSOLE ASSEMBLY [101015]
COOLING ASSEMBLY [103048]
CRANKCASE ASSEMBLY [93866]
CYLINDER AND HEAD ASSEMBLY [89241]
DRIVE CLUTCH [101974]
DRIVE TRAIN SHAFTS AND BRAKE ASSEMBLIES [103036]
DRIVEN CLUTCH [98856]
ELECTRICAL [101988]
ENGINE AND RELATED PARTS [103993]
EXHAUST ASSEMBLY [101973]
FRONT BUMPER AND FRAME ASSEMBLY [103041]
FRONT SHOCK ABSORBER ASSEMBLY [98680]
FRONT SUSPENSION SHOCK ABSORBER [102317]
FUEL PUMP ASSEMBLY [101970]
GAS TANK ASSEMBLY [101969]
HANDLEBAR AND CONTROLS [103035]
HEADLIGHT AND WIRING ASSEMBLIES [101966]
HOOD AND AIR INTAKE ASSEMBLY [103043]
HYDRAULIC BRAKE CONTROL ASSEMBLY [97987]
IDLER WHEEL ASSEMBLY [102320]
MAGNETO [89578]
OIL PUMP [89245]
OIL TANK ASSEMBLY [101957]
PISTON AND CRANKSHAFT [91145]
REAR SUSPENSION FRONT ARM ASSEMBLY [103134]
REAR SUSPENSION FRONT ARM SHOCK ABSORBER [103039]
REAR SUSPENSION REAR ARM ASSEMBLY [101234]
REAR SUSPENSION REAR ARM SHOCK ABSORBER [102324]
RECOIL STARTER [89247]
REED VALVE/THROTTLE BODY ASSEMBLY [98224]
SEAT ASSEMBLY [103047]
SKI AND SPINDLE ASSEMBLY [103033]
SKID PLATE AND SIDE PANEL ASSEMBLY [103045]
SLIDE RAIL AND TRACK ASSEMBLY [103037]
STEERING POST ASSEMBLY [102070]
STEERING SUPPORT ASSEMBLY [103040]
TIE ROD ASSEMBLY [100591]
TUNNEL, REAR BUMPER, AND SNOWFLAP ASSEMBLY [103042]
WATER PUMP AND THERMOSTAT [93010]
WINDSHIELD AND INSTRUMENTS ASSEMBLIES [103044]
VIEW WISH LIST