Greenville, TX
|
Give Us a Call
(903) 454-4440
Toggle navigation
Home
Brands
Manufacturer Models
OEM Promotions
Polaris
Can-Am
E-Z-Go
Honda
Kawasaki
Suzuki
Inventory
All Inventory In Stock
New Inventory In Stock
Used Inventory
Value Your Trade-In
Request a Model
Schedule a Test Ride
Secure Financing
Parts
Parts Department
Parts Finder
Service
Service Department
Request Polaris Service
Warranty & Recall Look-Up
Specials
Financing
About
Our Dealership
Our Team
Reviews
Customer Survey
Employment
Events Calendar
Locations
Location & Hours
Contact
Parts Finder
Home
›
Parts
›
Parts Finder
Search by :
Part / Desc
VIN
Please Select
Arctic Cat
Honda
Kawasaki
Polaris
Suzuki
*Please enter at least 3 characters
SEARCH
Manufacturer
Arctic Cat
Snowmobiles
2016
M 8000 SNO PRO 153 GREEN [S2016M8HSPUSG]
VIEW WISH LIST
Select a Section
Show/Hide
A-ARM ASSEMBLY [103285]
BELT GUARD ASSEMBLY [103118]
CHAIN CASE ASSEMBLY [103310]
CONSOLE ASSEMBLY [103116]
COOLING ASSEMBLY [103551]
CRANKCASE ASSEMBLY [91585]
CYLINDER AND HEAD ASSEMBLY [95146]
DRIVE CLUTCH [103313]
DRIVE TRAIN SHAFTS AND BRAKE ASSEMBLIES [103309]
DRIVEN CLUTCH [103314]
ELECTRICAL [101350]
ENGINE AND RELATED PARTS [103122]
EXHAUST ASSEMBLY [98872]
FRONT BUMPER AND FRAME ASSEMBLY [103112]
FRONT SHOCK ABSORBER ASSEMBLY [102269]
FRONT SUSPENSION SHOCK ABSORBER [102270]
FUEL PUMP ASSEMBLY [103120]
GAS TANK ASSEMBLY [103119]
HANDLEBAR AND CONTROLS [103109]
HEADLIGHT AND WIRING ASSEMBLIES [102626]
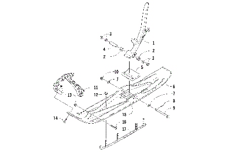
HOOD AND AIR INTAKE ASSEMBLY [103114]
HYDRAULIC BRAKE CONTROL ASSEMBLY [97987]
IDLER WHEEL ASSEMBLY [102277]
MAGNETO [89829]
OIL PUMP [93329]
OIL TANK ASSEMBLY [101028]
PISTON AND CRANKSHAFT [91586]
REAR SUSPENSION FRONT ARM ASSEMBLY [102278]
REAR SUSPENSION FRONT ARM SHOCK ABSORBER [102279]
REAR SUSPENSION REAR ARM ASSEMBLY [102280]
REAR SUSPENSION REAR ARM SHOCK ABSORBER [102281]
RECOIL STARTER [89828]
REED VALVE ASSEMBLY [96875]
SEAT ASSEMBLY [103121]
SERVOMOTOR ASSEMBLY [91541]
SKI AND SPINDLE ASSEMBLY [103108]
SKID PLATE AND SIDE PANEL ASSEMBLY [103117]
SLIDE RAIL AND TRACK ASSEMBLY [107643]
STEERING POST ASSEMBLY [102615]
STEERING SUPPORT ASSEMBLY [103111]
THROTTLE BODY ASSEMBLY [91588]
TIE ROD ASSEMBLY [102614]
TUNNEL, REAR BUMPER, AND SNOWFLAP ASSEMBLY [103326]
WATER PUMP AND THERMOSTAT [93330]
WINDSHIELD AND INSTRUMENTS ASSEMBLIES [103115]
A-ARM ASSEMBLY [103285]
BELT GUARD ASSEMBLY [103118]
CHAIN CASE ASSEMBLY [103310]
CONSOLE ASSEMBLY [103116]
COOLING ASSEMBLY [103551]
CRANKCASE ASSEMBLY [91585]
CYLINDER AND HEAD ASSEMBLY [95146]
DRIVE CLUTCH [103313]
DRIVE TRAIN SHAFTS AND BRAKE ASSEMBLIES [103309]
DRIVEN CLUTCH [103314]
ELECTRICAL [101350]
ENGINE AND RELATED PARTS [103122]
EXHAUST ASSEMBLY [98872]
FRONT BUMPER AND FRAME ASSEMBLY [103112]
FRONT SHOCK ABSORBER ASSEMBLY [102269]
FRONT SUSPENSION SHOCK ABSORBER [102270]
FUEL PUMP ASSEMBLY [103120]
GAS TANK ASSEMBLY [103119]
HANDLEBAR AND CONTROLS [103109]
HEADLIGHT AND WIRING ASSEMBLIES [102626]
HOOD AND AIR INTAKE ASSEMBLY [103114]
HYDRAULIC BRAKE CONTROL ASSEMBLY [97987]
IDLER WHEEL ASSEMBLY [102277]
MAGNETO [89829]
OIL PUMP [93329]
OIL TANK ASSEMBLY [101028]
PISTON AND CRANKSHAFT [91586]
REAR SUSPENSION FRONT ARM ASSEMBLY [102278]
REAR SUSPENSION FRONT ARM SHOCK ABSORBER [102279]
REAR SUSPENSION REAR ARM ASSEMBLY [102280]
REAR SUSPENSION REAR ARM SHOCK ABSORBER [102281]
RECOIL STARTER [89828]
REED VALVE ASSEMBLY [96875]
SEAT ASSEMBLY [103121]
SERVOMOTOR ASSEMBLY [91541]
SKI AND SPINDLE ASSEMBLY [103108]
SKID PLATE AND SIDE PANEL ASSEMBLY [103117]
SLIDE RAIL AND TRACK ASSEMBLY [107643]
STEERING POST ASSEMBLY [102615]
STEERING SUPPORT ASSEMBLY [103111]
THROTTLE BODY ASSEMBLY [91588]
TIE ROD ASSEMBLY [102614]
TUNNEL, REAR BUMPER, AND SNOWFLAP ASSEMBLY [103326]
WATER PUMP AND THERMOSTAT [93330]
WINDSHIELD AND INSTRUMENTS ASSEMBLIES [103115]
VIEW WISH LIST