Greenville, TX
|
Give Us a Call
(903) 454-4440
Toggle navigation
Home
Brands
Manufacturer Models
OEM Promotions
Polaris
Can-Am
E-Z-Go
Honda
Kawasaki
Suzuki
Inventory
All Inventory In Stock
New Inventory In Stock
Used Inventory
Value Your Trade-In
Request a Model
Schedule a Test Ride
Secure Financing
Parts
Parts Department
Parts Finder
Service
Service Department
Request Polaris Service
Warranty & Recall Look-Up
Specials
Financing
About
Our Dealership
Our Team
Reviews
Customer Survey
Employment
Events Calendar
Locations
Location & Hours
Contact
Parts Finder
Home
›
Parts
›
Parts Finder
Search by :
Part / Desc
VIN
Please Select
Arctic Cat
Honda
Kawasaki
Polaris
Suzuki
*Please enter at least 3 characters
SEARCH
Manufacturer
Arctic Cat
Snowmobiles
2015
BEARCAT XT INTERNATIONAL BLUE [S2015BCDWTOSL]
VIEW WISH LIST
Select a Section
Show/Hide
A-ARM ASSEMBLY [97507]
AIR SILENCER ASSEMBLY [94845]
ARTICULATING SKID FRAME ASSEMBLY [97511]
BATTERY AND TRAY ASSEMBLY [99225]
BELT GUARD ASSEMBLY [101608]
CARBURETOR [101583]
CARBURETOR AND FUEL PUMP ASSEMBLY [97283]
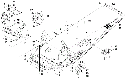
CHASSIS ASSEMBLY [101619]
CONSOLE ASSEMBLY [94849]
CRANKCASE AND CYLINDER [91205]
CYLINDER COWLING ASSEMBLY [89142]
DRIVE CLUTCH [99208]
DRIVE TRAIN SHAFT AND BRAKE ASSEMBLIES [101604]
DRIVEN CLUTCH [99209]
ELECTRIC START - STARTER MOTOR ASSEMBLY [99224]
ELECTRICAL [91209]
ENGINE AND RELATED PARTS [99207]
EXHAUST ASSEMBLY [94844]
FRONT SEAT ASSEMBLY [91400]
FRONT SHOCK ABSORBER ASSEMBLY [94749]
GAS TANK ASSEMBLY [91367]
GEARCASE ASSEMBLY [94608]
HANDLEBAR AND CONTROLS [97274]
HEADLIGHT AND WIRING ASSEMBLIES [94839]
HOOD, WINDSHIELD, AND FRONT BUMPER ASSEMBLY [101623]
HYDRAULIC BRAKE CONTROL ASSEMBLY [97275]
IDLER WHEEL ASSEMBLY [101637]
INTAKE ASSEMBLY [89139]
MAGNETO [91208]
OIL PUMP [91207]
OIL TANK ASSEMBLY [101610]
PISTON AND CRANKSHAFT [91206]
REAR BUMPER, RACK RAIL, SNOWFLAP, AND TAILLIGHT ASSEMBLY [101622]
REAR PASSENGER SEAT AND BACKREST ASSEMBLY [93284]
REAR SUSPENSION FRONT ARM ASSEMBLY [94758]
REAR SUSPENSION REAR ARM ASSEMBLY [99201]
RECOIL STARTER [89143]
REED VALVE ASSEMBLY [89140]
SEAT SUPPORT ASSEMBLY [99221]
SKI AND SPINDLE ASSEMBLY [99227]
SKID PLATE AND SIDE PANEL ASSEMBLY [101621]
SLIDE RAIL AND TRACK ASSEMBLY [101628]
STEERING POST ASSEMBLY [94834]
STEERING SUPPORT ASSEMBLY [99213]
TIE ROD ASSEMBLY [91352]
A-ARM ASSEMBLY [97507]
AIR SILENCER ASSEMBLY [94845]
ARTICULATING SKID FRAME ASSEMBLY [97511]
BATTERY AND TRAY ASSEMBLY [99225]
BELT GUARD ASSEMBLY [101608]
CARBURETOR [101583]
CARBURETOR AND FUEL PUMP ASSEMBLY [97283]
CHASSIS ASSEMBLY [101619]
CONSOLE ASSEMBLY [94849]
CRANKCASE AND CYLINDER [91205]
CYLINDER COWLING ASSEMBLY [89142]
DRIVE CLUTCH [99208]
DRIVE TRAIN SHAFT AND BRAKE ASSEMBLIES [101604]
DRIVEN CLUTCH [99209]
ELECTRIC START - STARTER MOTOR ASSEMBLY [99224]
ELECTRICAL [91209]
ENGINE AND RELATED PARTS [99207]
EXHAUST ASSEMBLY [94844]
FRONT SEAT ASSEMBLY [91400]
FRONT SHOCK ABSORBER ASSEMBLY [94749]
GAS TANK ASSEMBLY [91367]
GEARCASE ASSEMBLY [94608]
HANDLEBAR AND CONTROLS [97274]
HEADLIGHT AND WIRING ASSEMBLIES [94839]
HOOD, WINDSHIELD, AND FRONT BUMPER ASSEMBLY [101623]
HYDRAULIC BRAKE CONTROL ASSEMBLY [97275]
IDLER WHEEL ASSEMBLY [101637]
INTAKE ASSEMBLY [89139]
MAGNETO [91208]
OIL PUMP [91207]
OIL TANK ASSEMBLY [101610]
PISTON AND CRANKSHAFT [91206]
REAR BUMPER, RACK RAIL, SNOWFLAP, AND TAILLIGHT ASSEMBLY [101622]
REAR PASSENGER SEAT AND BACKREST ASSEMBLY [93284]
REAR SUSPENSION FRONT ARM ASSEMBLY [94758]
REAR SUSPENSION REAR ARM ASSEMBLY [99201]
RECOIL STARTER [89143]
REED VALVE ASSEMBLY [89140]
SEAT SUPPORT ASSEMBLY [99221]
SKI AND SPINDLE ASSEMBLY [99227]
SKID PLATE AND SIDE PANEL ASSEMBLY [101621]
SLIDE RAIL AND TRACK ASSEMBLY [101628]
STEERING POST ASSEMBLY [94834]
STEERING SUPPORT ASSEMBLY [99213]
TIE ROD ASSEMBLY [91352]
VIEW WISH LIST