Greenville, TX
|
Give Us a Call
(903) 454-4440
Toggle navigation
Home
Brands
Manufacturer Models
OEM Promotions
Polaris
Can-Am
E-Z-Go
Honda
Kawasaki
Suzuki
Inventory
All Inventory In Stock
New Inventory In Stock
Used Inventory
Value Your Trade-In
Request a Model
Schedule a Test Ride
Secure Financing
Parts
Parts Department
Parts Finder
Service
Service Department
Request Polaris Service
Warranty & Recall Look-Up
Specials
Financing
About
Our Dealership
Our Team
Reviews
Customer Survey
Employment
Events Calendar
Locations
Location & Hours
Contact
Parts Finder
Home
›
Parts
›
Parts Finder
Search by :
Part / Desc
VIN
Please Select
Arctic Cat
Honda
Kawasaki
Polaris
Suzuki
*Please enter at least 3 characters
SEARCH
Manufacturer
Arctic Cat
Snowmobiles
2014
XF 7000 137 SNO PRO LTD BLACK-WHITE [S2014XFULEUSW]
VIEW WISH LIST
Select a Section
Show/Hide
A-ARM AND SWAY BAR ASSEMBLY [99511]
AIR INTAKE ASSEMBLY [99522]
BATTERY AND TRAY ASSEMBLY [99534]
BELT GUARD ASSEMBLY [101096]
CAMSHAFT, CHAIN, AND VALVE ASSEMBLY [99539]
CHAIN CASE ASSEMBLY [101186]
CONSOLE ASSEMBLY [99612]
COOLING ASSEMBLY [99531]
CRANKCASE ASSEMBLY [99536]
CYLINDER HEAD ASSEMBLY [99537]
DRIVE CLUTCH [99535]
DRIVE TRAIN SHAFTS AND BRAKE ASSEMBLIES [99569]
DRIVEN CLUTCH [98916]
ENGINE AND RELATED PARTS [99532]
EXHAUST ASSEMBLY [101144]
FRONT BUMPER AND FRAME ASSEMBLY [99608]
FRONT SHOCK ABSORBER ASSEMBLY [98709]
FRONT SUSPENSION SHOCK ABSORBER [98710]
FUEL PUMP ASSEMBLY [99529]
GAS TANK ASSEMBLY [99528]
HANDLEBAR AND CONTROLS [99568]
HEADLIGHT AND WIRING ASSEMBLIES [99574]
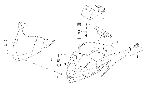
HOOD ASSEMBLY [99610]
HYDRAULIC BRAKE CONTROL ASSEMBLY [97987]
IDLER WHEEL ASSEMBLY [98689]
MAGNETO AND COVER ASSEMBLY [99544]
OIL PAN ASSEMBLY [99541]
OIL PUMP ASSEMBLY [99540]
OIL TANK ASSEMBLY [99517]
PISTON AND CRANKSHAFT ASSEMBLY [99538]
REAR SUSPENSION FRONT ARM ASSEMBLY [98712]
REAR SUSPENSION FRONT ARM SHOCK ABSORBER [98713]
REAR SUSPENSION REAR ARM ASSEMBLY [98714]
REAR SUSPENSION REAR ARM SHOCK ABSORBER [104337]
SEAT ASSEMBLY [99614]
SKI AND SPINDLE ASSEMBLY [98745]
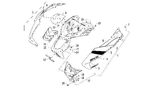
SKID PLATE AND SIDE PANEL ASSEMBLY [99613]
SLIDE RAIL AND TRACK ASSEMBLY [98746]
STARTER MOTOR ASSEMBLY [99545]
STEERING POST ASSEMBLY [99597]
STEERING SUPPORT ASSEMBLY [101788]
THROTTLE BODY ASSEMBLY [99543]
TIE ROD ASSEMBLY [98682]
TUNNEL, REAR BUMPER, AND SNOWFLAP ASSEMBLY [99609]
WATER PUMP ASSEMBLY [99542]
WINDSHIELD AND INSTRUMENTS ASSEMBLIES [99611]
A-ARM AND SWAY BAR ASSEMBLY [99511]
AIR INTAKE ASSEMBLY [99522]
BATTERY AND TRAY ASSEMBLY [99534]
BELT GUARD ASSEMBLY [101096]
CAMSHAFT, CHAIN, AND VALVE ASSEMBLY [99539]
CHAIN CASE ASSEMBLY [101186]
CONSOLE ASSEMBLY [99612]
COOLING ASSEMBLY [99531]
CRANKCASE ASSEMBLY [99536]
CYLINDER HEAD ASSEMBLY [99537]
DRIVE CLUTCH [99535]
DRIVE TRAIN SHAFTS AND BRAKE ASSEMBLIES [99569]
DRIVEN CLUTCH [98916]
ENGINE AND RELATED PARTS [99532]
EXHAUST ASSEMBLY [101144]
FRONT BUMPER AND FRAME ASSEMBLY [99608]
FRONT SHOCK ABSORBER ASSEMBLY [98709]
FRONT SUSPENSION SHOCK ABSORBER [98710]
FUEL PUMP ASSEMBLY [99529]
GAS TANK ASSEMBLY [99528]
HANDLEBAR AND CONTROLS [99568]
HEADLIGHT AND WIRING ASSEMBLIES [99574]
HOOD ASSEMBLY [99610]
HYDRAULIC BRAKE CONTROL ASSEMBLY [97987]
IDLER WHEEL ASSEMBLY [98689]
MAGNETO AND COVER ASSEMBLY [99544]
OIL PAN ASSEMBLY [99541]
OIL PUMP ASSEMBLY [99540]
OIL TANK ASSEMBLY [99517]
PISTON AND CRANKSHAFT ASSEMBLY [99538]
REAR SUSPENSION FRONT ARM ASSEMBLY [98712]
REAR SUSPENSION FRONT ARM SHOCK ABSORBER [98713]
REAR SUSPENSION REAR ARM ASSEMBLY [98714]
REAR SUSPENSION REAR ARM SHOCK ABSORBER [104337]
SEAT ASSEMBLY [99614]
SKI AND SPINDLE ASSEMBLY [98745]
SKID PLATE AND SIDE PANEL ASSEMBLY [99613]
SLIDE RAIL AND TRACK ASSEMBLY [98746]
STARTER MOTOR ASSEMBLY [99545]
STEERING POST ASSEMBLY [99597]
STEERING SUPPORT ASSEMBLY [101788]
THROTTLE BODY ASSEMBLY [99543]
TIE ROD ASSEMBLY [98682]
TUNNEL, REAR BUMPER, AND SNOWFLAP ASSEMBLY [99609]
WATER PUMP ASSEMBLY [99542]
WINDSHIELD AND INSTRUMENTS ASSEMBLIES [99611]
VIEW WISH LIST