Greenville, TX
|
Give Us a Call
(903) 454-4440
Toggle navigation
Home
Brands
Manufacturer Models
OEM Promotions
Polaris
Can-Am
E-Z-Go
Honda
Kawasaki
Suzuki
Inventory
All Inventory In Stock
New Inventory In Stock
Used Inventory
Value Your Trade-In
Request a Model
Schedule a Test Ride
Secure Financing
Parts
Parts Department
Parts Finder
Service
Service Department
Request Polaris Service
Warranty & Recall Look-Up
Specials
Financing
About
Our Dealership
Our Team
Reviews
Customer Survey
Employment
Events Calendar
Locations
Location & Hours
Contact
Parts Finder
Home
›
Parts
›
Parts Finder
Search by :
Part / Desc
VIN
Please Select
Arctic Cat
Honda
Kawasaki
Polaris
Suzuki
*Please enter at least 3 characters
SEARCH
Manufacturer
Arctic Cat
Snowmobiles
2014
TZ1 LXR BLACK [S2014TZNLXUSB]
VIEW WISH LIST
Select a Section
Show/Hide
A-ARM AND SWAY BAR ASSEMBLY [99334]
AIR SILENCER ASSEMBLY [94679]
BATTERY AND TRAY ASSEMBLY [97786]
BELT GUARD ASSEMBLY [94674]
CAM CHAIN ASSEMBLY [101065]
CAMSHAFT/VALVE ASSEMBLY [91414]
CHASSIS ASSEMBLY [99339]
CONSOLE ASSEMBLY [97798]
COOLING ASSEMBLY [99328]
CRANK BALANCER ASSEMBLY [89768]
CRANKCASE ASSEMBLY [91411]
CYLINDER HEAD ASSEMBLY [91410]
DRIVE CLUTCH [94680]
DRIVE TRAIN SHAFT AND BRAKE ASSEMBLIES [99316]
DRIVEN CLUTCH [99329]
ENGINE AND RELATED PARTS [94677]
EXHAUST ASSEMBLY [93481]
EXHAUST MANIFOLD GASKET/INTAKE FLANGE ASSEMBLY [91415]
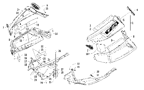
FRONT SEAT ASSEMBLY [99343]
FRONT SUSPENSION SHOCK ABSORBER [99336]
FRONT SUSPENSION SHOCK ABSORBER ASSEMBLY [99335]
FUEL PUMP ASSEMBLY [99324]
GAS TANK ASSEMBLY [91339]
GEARCASE ASSEMBLY [99317]
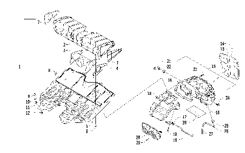
HANDLEBAR AND CONTROLS [97793]
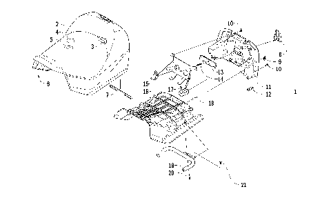
HEADLIGHT AND WIRING ASSEMBLIES [93809]
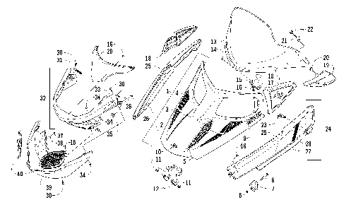
HOOD, WINDSHIELD, AND FRONT BUMPER ASSEMBLY [99340]
HYDRAULIC BRAKE CONTROL ASSEMBLY [97037]
IDLER WHEEL ASSEMBLY [99319]
MAGNETO ASSEMBLY [91421]
MAGNETO COVER [91412]
OIL COOLER ASSEMBLY [89694]
OIL PAN ASSEMBLY [91416]
OIL PUMP ASSEMBLY [90508]
OIL SEPARATOR ASSEMBLY [89679]
OIL TANK ASSEMBLY [91457]
PASSENGER SEAT AND BACKREST ASSEMBLY [97802]
PISTON AND CRANKSHAFT ASSEMBLY [91413]
REAR BUMPER, RACK RAIL, SNOWFLAP, AND TAILLIGHT ASSEMBLY [99344]
REAR SUSPENSION FRONT ARM ASSEMBLY [99338]
REAR SUSPENSION REAR ARM ASSEMBLY [99250]
SEAT SUPPORT ASSEMBLY [99342]
SKI AND SPINDLE ASSEMBLY [99333]
SKID PLATE AND SIDE PANEL ASSEMBLY [99341]
SLIDE RAIL AND TRACK ASSEMBLY [99337]
STARTER CLUTCH ASSEMBLY [89767]
STARTER MOTOR ASSEMBLY [91420]
STEERING POST ASSEMBLY [90562]
STEERING SUPPORT ASSEMBLY [97792]
THROTTLE BODY ASSEMBLY [94682]
TIE ROD ASSEMBLY [91119]
WATER HOSE ASSEMBLY [91418]
WATER PUMP ASSEMBLY [89695]
A-ARM AND SWAY BAR ASSEMBLY [99334]
AIR SILENCER ASSEMBLY [94679]
BATTERY AND TRAY ASSEMBLY [97786]
BELT GUARD ASSEMBLY [94674]
CAM CHAIN ASSEMBLY [101065]
CAMSHAFT/VALVE ASSEMBLY [91414]
CHASSIS ASSEMBLY [99339]
CONSOLE ASSEMBLY [97798]
COOLING ASSEMBLY [99328]
CRANK BALANCER ASSEMBLY [89768]
CRANKCASE ASSEMBLY [91411]
CYLINDER HEAD ASSEMBLY [91410]
DRIVE CLUTCH [94680]
DRIVE TRAIN SHAFT AND BRAKE ASSEMBLIES [99316]
DRIVEN CLUTCH [99329]
ENGINE AND RELATED PARTS [94677]
EXHAUST ASSEMBLY [93481]
EXHAUST MANIFOLD GASKET/INTAKE FLANGE ASSEMBLY [91415]
FRONT SEAT ASSEMBLY [99343]
FRONT SUSPENSION SHOCK ABSORBER [99336]
FRONT SUSPENSION SHOCK ABSORBER ASSEMBLY [99335]
FUEL PUMP ASSEMBLY [99324]
GAS TANK ASSEMBLY [91339]
GEARCASE ASSEMBLY [99317]
HANDLEBAR AND CONTROLS [97793]
HEADLIGHT AND WIRING ASSEMBLIES [93809]
HOOD, WINDSHIELD, AND FRONT BUMPER ASSEMBLY [99340]
HYDRAULIC BRAKE CONTROL ASSEMBLY [97037]
IDLER WHEEL ASSEMBLY [99319]
MAGNETO ASSEMBLY [91421]
MAGNETO COVER [91412]
OIL COOLER ASSEMBLY [89694]
OIL PAN ASSEMBLY [91416]
OIL PUMP ASSEMBLY [90508]
OIL SEPARATOR ASSEMBLY [89679]
OIL TANK ASSEMBLY [91457]
PASSENGER SEAT AND BACKREST ASSEMBLY [97802]
PISTON AND CRANKSHAFT ASSEMBLY [91413]
REAR BUMPER, RACK RAIL, SNOWFLAP, AND TAILLIGHT ASSEMBLY [99344]
REAR SUSPENSION FRONT ARM ASSEMBLY [99338]
REAR SUSPENSION REAR ARM ASSEMBLY [99250]
SEAT SUPPORT ASSEMBLY [99342]
SKI AND SPINDLE ASSEMBLY [99333]
SKID PLATE AND SIDE PANEL ASSEMBLY [99341]
SLIDE RAIL AND TRACK ASSEMBLY [99337]
STARTER CLUTCH ASSEMBLY [89767]
STARTER MOTOR ASSEMBLY [91420]
STEERING POST ASSEMBLY [90562]
STEERING SUPPORT ASSEMBLY [97792]
THROTTLE BODY ASSEMBLY [94682]
TIE ROD ASSEMBLY [91119]
WATER HOSE ASSEMBLY [91418]
WATER PUMP ASSEMBLY [89695]
VIEW WISH LIST