Greenville, TX
|
Give Us a Call
(903) 454-4440
Toggle navigation
Home
Brands
Manufacturer Models
OEM Promotions
Polaris
Can-Am
E-Z-Go
Honda
Kawasaki
Suzuki
Inventory
All Inventory In Stock
New Inventory In Stock
Used Inventory
Value Your Trade-In
Request a Model
Schedule a Test Ride
Secure Financing
Parts
Parts Department
Parts Finder
Service
Service Department
Request Polaris Service
Warranty & Recall Look-Up
Specials
Financing
About
Our Dealership
Our Team
Reviews
Customer Survey
Employment
Events Calendar
Locations
Location & Hours
Contact
Parts Finder
Home
›
Parts
›
Parts Finder
Search by :
Part / Desc
VIN
Please Select
Arctic Cat
Honda
Kawasaki
Polaris
Suzuki
*Please enter at least 3 characters
SEARCH
Manufacturer
Arctic Cat
Snowmobiles
2014
F5 GREEN [S2014F5CEFUSG]
VIEW WISH LIST
Select a Section
Show/Hide
A-ARM AND SWAY BAR ASSEMBLY [90549]
AIR SILENCER ASSEMBLY [89574]
BATTERY AND TRAY ASSEMBLY [99377]
BELT GUARD ASSEMBLY [99371]
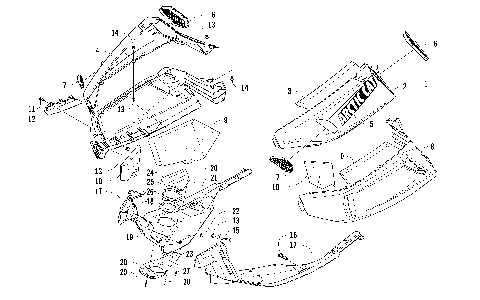
CHASSIS, REAR BUMPER, AND SNOWFLAP ASSEMBLY [99368]
CONSOLE ASSEMBLY [98217]
COOLING ASSEMBLY [91138]
CRANKCASE ASSEMBLY [93866]
CYLINDER AND HEAD ASSEMBLY [89241]
DRIVE CLUTCH [99378]
DRIVE TRAIN SHAFT AND BRAKE ASSEMBLIES [99363]
DRIVEN CLUTCH [91144]
ELECTRICAL [98225]
ENGINE AND RELATED PARTS [99375]
EXHAUST ASSEMBLY [89234]
FLEX-DRIVE STARTER MOTOR ASSEMBLY [99376]
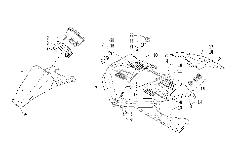
FRONT SHOCK ABSORBER ASSEMBLY [93044]
FUEL PUMP ASSEMBLY [99372]
GAS TANK ASSEMBLY [91134]
GEARCASE ASSEMBLY [99364]
HANDLEBAR AND CONTROLS [98210]
HEADLIGHT AND WIRING ASSEMBLIES [98216]
HOOD, WINDSHIELD, AND FRONT BUMPER ASSEMBLY [99369]
HYDRAULIC BRAKE CONTROL ASSEMBLY [97037]
IDLER WHEEL ASSEMBLY [98211]
MAGNETO [89578]
OIL PUMP [89245]
OIL TANK ASSEMBLY [98223]
PISTON AND CRANKSHAFT [91145]
REAR SUSPENSION FRONT ARM ASSEMBLY [101575]
REAR SUSPENSION REAR ARM ASSEMBLY [99367]
RECOIL STARTER [89247]
REED VALVE/THROTTLE BODY ASSEMBLY [98224]
SEAT ASSEMBLY [99374]
SEAT SUPPORT ASSEMBLY [99373]
SKI AND SPINDLE ASSEMBLY [99362]
SKID PLATE AND SIDE PANEL ASSEMBLY [99370]
SLIDE RAIL AND TRACK ASSEMBLY [99365]
STEERING POST ASSEMBLY [98208]
STEERING SUPPORT ASSEMBLY [98209]
TIE ROD ASSEMBLY [91119]
WATER PUMP AND THERMOSTAT [93010]
A-ARM AND SWAY BAR ASSEMBLY [90549]
AIR SILENCER ASSEMBLY [89574]
BATTERY AND TRAY ASSEMBLY [99377]
BELT GUARD ASSEMBLY [99371]
CHASSIS, REAR BUMPER, AND SNOWFLAP ASSEMBLY [99368]
CONSOLE ASSEMBLY [98217]
COOLING ASSEMBLY [91138]
CRANKCASE ASSEMBLY [93866]
CYLINDER AND HEAD ASSEMBLY [89241]
DRIVE CLUTCH [99378]
DRIVE TRAIN SHAFT AND BRAKE ASSEMBLIES [99363]
DRIVEN CLUTCH [91144]
ELECTRICAL [98225]
ENGINE AND RELATED PARTS [99375]
EXHAUST ASSEMBLY [89234]
FLEX-DRIVE STARTER MOTOR ASSEMBLY [99376]
FRONT SHOCK ABSORBER ASSEMBLY [93044]
FUEL PUMP ASSEMBLY [99372]
GAS TANK ASSEMBLY [91134]
GEARCASE ASSEMBLY [99364]
HANDLEBAR AND CONTROLS [98210]
HEADLIGHT AND WIRING ASSEMBLIES [98216]
HOOD, WINDSHIELD, AND FRONT BUMPER ASSEMBLY [99369]
HYDRAULIC BRAKE CONTROL ASSEMBLY [97037]
IDLER WHEEL ASSEMBLY [98211]
MAGNETO [89578]
OIL PUMP [89245]
OIL TANK ASSEMBLY [98223]
PISTON AND CRANKSHAFT [91145]
REAR SUSPENSION FRONT ARM ASSEMBLY [101575]
REAR SUSPENSION REAR ARM ASSEMBLY [99367]
RECOIL STARTER [89247]
REED VALVE/THROTTLE BODY ASSEMBLY [98224]
SEAT ASSEMBLY [99374]
SEAT SUPPORT ASSEMBLY [99373]
SKI AND SPINDLE ASSEMBLY [99362]
SKID PLATE AND SIDE PANEL ASSEMBLY [99370]
SLIDE RAIL AND TRACK ASSEMBLY [99365]
STEERING POST ASSEMBLY [98208]
STEERING SUPPORT ASSEMBLY [98209]
TIE ROD ASSEMBLY [91119]
WATER PUMP AND THERMOSTAT [93010]
VIEW WISH LIST