Greenville, TX
|
Give Us a Call
(903) 454-4440
Toggle navigation
Home
Brands
Manufacturer Models
OEM Promotions
Polaris
Can-Am
E-Z-Go
Honda
Kawasaki
Suzuki
Inventory
All Inventory In Stock
New Inventory In Stock
Used Inventory
Value Your Trade-In
Request a Model
Schedule a Test Ride
Secure Financing
Parts
Parts Department
Parts Finder
Service
Service Department
Request Polaris Service
Warranty & Recall Look-Up
Specials
Financing
About
Our Dealership
Our Team
Reviews
Customer Survey
Employment
Events Calendar
Locations
Location & Hours
Contact
Parts Finder
Home
›
Parts
›
Parts Finder
Search by :
Part / Desc
VIN
Please Select
Arctic Cat
Honda
Kawasaki
Polaris
Suzuki
*Please enter at least 3 characters
SEARCH
Manufacturer
Arctic Cat
Snowmobiles
2013
SNO PRO 600 INTERNATIONAL GREEN [S2013ACDPROSG]
VIEW WISH LIST
Select a Section
Show/Hide
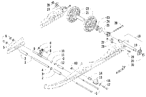
A-ARM AND SWAY BAR ASSEMBLY [98417]
AIR SILENCER, CARBURETOR, AND FUEL PUMP ASSEMBLY [98447]
BELT GUARD ASSEMBLY [98441]
CARBURETOR - EXTERNAL PARTS [95883]
CARBURETOR - INTERNAL PARTS [98449]
CHAIN CASE ASSEMBLY [98426]
CONSOLE AND SWITCH ASSEMBLY [98437]
COOLING ASSEMBLY [98444]
CRANKCASE ASSEMBLY [92193]
CYLINDER AND HEAD ASSEMBLY [92192]
DRIVE CLUTCH [98448]
DRIVE TRAIN SHAFTS AND BRAKE ASSEMBLIES [98425]
DRIVEN CLUTCH [95857]
ELECTRICAL [94059]
ELECTRICAL PANEL ASSEMBLY [98439]
ENGINE AND RELATED PARTS [98445]
EXHAUST ASSEMBLY [98446]
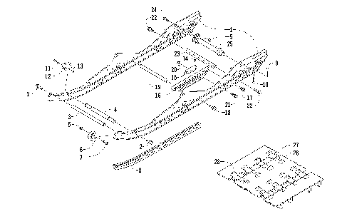
FRONT BUMPER AND FRAME ASSEMBLY [98434]
FRONT SUSPENSION SHOCK ABSORBER [98419]
GAS TANK AND TAILLIGHT ASSEMBLY [98442]
HANDLEBAR ASSEMBLY [98422]
HEADLIGHT AND WIRING ASSEMBLY [98438]
HYDRAULIC BRAKE CONTROL ASSEMBLY [98424]
IDLER WHEEL ASSEMBLY [98428]
MAGNETO [90459]
PISTON AND CRANKSHAFT [92194]
POD AND WINDSHIELD ASSEMBLY [98436]
REAR SUSPENSION FRONT ARM ASSEMBLY [98429]
REAR SUSPENSION FRONT ARM SHOCK ABSORBER [98430]
REAR SUSPENSION REAR ARM ASSEMBLY [98431]
REAR SUSPENSION REAR ARM SHOCK ABSORBER [98432]
RECOIL STARTER [92196]
REED VALVE ASSEMBLY [92195]
SEAT ASSEMBLY [98443]
SERVOMOTOR ASSEMBLY [90461]
SHOCK ABSORBER ASSEMBLY [98418]
SKI AND SPINDLE ASSEMBLY [98416]
SKID PLATE AND SIDE PANEL ASSEMBLY [98440]
SLIDE RAIL AND TRACK ASSEMBLY [98427]
STEERING POST ASSEMBLY [98421]
STEERING SUPPORT ASSEMBLY [98433]
THROTTLE CONTROL ASSEMBLY [98423]
TIE ROD ASSEMBLY [98420]
TUNNEL, REAR BUMPER, AND SNOWFLAP ASSEMBLY [98435]
WATER PUMP AND THERMOSTAT [94058]
A-ARM AND SWAY BAR ASSEMBLY [98417]
AIR SILENCER, CARBURETOR, AND FUEL PUMP ASSEMBLY [98447]
BELT GUARD ASSEMBLY [98441]
CARBURETOR - EXTERNAL PARTS [95883]
CARBURETOR - INTERNAL PARTS [98449]
CHAIN CASE ASSEMBLY [98426]
CONSOLE AND SWITCH ASSEMBLY [98437]
COOLING ASSEMBLY [98444]
CRANKCASE ASSEMBLY [92193]
CYLINDER AND HEAD ASSEMBLY [92192]
DRIVE CLUTCH [98448]
DRIVE TRAIN SHAFTS AND BRAKE ASSEMBLIES [98425]
DRIVEN CLUTCH [95857]
ELECTRICAL [94059]
ELECTRICAL PANEL ASSEMBLY [98439]
ENGINE AND RELATED PARTS [98445]
EXHAUST ASSEMBLY [98446]
FRONT BUMPER AND FRAME ASSEMBLY [98434]
FRONT SUSPENSION SHOCK ABSORBER [98419]
GAS TANK AND TAILLIGHT ASSEMBLY [98442]
HANDLEBAR ASSEMBLY [98422]
HEADLIGHT AND WIRING ASSEMBLY [98438]
HYDRAULIC BRAKE CONTROL ASSEMBLY [98424]
IDLER WHEEL ASSEMBLY [98428]
MAGNETO [90459]
PISTON AND CRANKSHAFT [92194]
POD AND WINDSHIELD ASSEMBLY [98436]
REAR SUSPENSION FRONT ARM ASSEMBLY [98429]
REAR SUSPENSION FRONT ARM SHOCK ABSORBER [98430]
REAR SUSPENSION REAR ARM ASSEMBLY [98431]
REAR SUSPENSION REAR ARM SHOCK ABSORBER [98432]
RECOIL STARTER [92196]
REED VALVE ASSEMBLY [92195]
SEAT ASSEMBLY [98443]
SERVOMOTOR ASSEMBLY [90461]
SHOCK ABSORBER ASSEMBLY [98418]
SKI AND SPINDLE ASSEMBLY [98416]
SKID PLATE AND SIDE PANEL ASSEMBLY [98440]
SLIDE RAIL AND TRACK ASSEMBLY [98427]
STEERING POST ASSEMBLY [98421]
STEERING SUPPORT ASSEMBLY [98433]
THROTTLE CONTROL ASSEMBLY [98423]
TIE ROD ASSEMBLY [98420]
TUNNEL, REAR BUMPER, AND SNOWFLAP ASSEMBLY [98435]
WATER PUMP AND THERMOSTAT [94058]
VIEW WISH LIST