Greenville, TX
|
Give Us a Call
(903) 454-4440
Toggle navigation
Home
Brands
Manufacturer Models
OEM Promotions
Polaris
Can-Am
E-Z-Go
Honda
Kawasaki
Suzuki
Inventory
All Inventory In Stock
New Inventory In Stock
Used Inventory
Value Your Trade-In
Request a Model
Schedule a Test Ride
Secure Financing
Parts
Parts Department
Parts Finder
Service
Service Department
Request Polaris Service
Warranty & Recall Look-Up
Specials
Financing
About
Our Dealership
Our Team
Reviews
Customer Survey
Employment
Events Calendar
Locations
Location & Hours
Contact
Parts Finder
Home
›
Parts
›
Parts Finder
Search by :
Part / Desc
VIN
Please Select
Arctic Cat
Honda
Kawasaki
Polaris
Suzuki
*Please enter at least 3 characters
SEARCH
Manufacturer
Arctic Cat
Snowmobiles
2013
SNO PRO 500 GREEN [S2013ACCPRUSG]
VIEW WISH LIST
Select a Section
Show/Hide
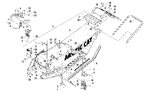
A-ARM ASSEMBLY [98327]
AIR SILENCER ASSEMBLY [93863]
BELLY PAN ASSEMBLY [98330]
BELT GUARD ASSEMBLY [90440]
CHASSIS, REAR BUMPER, AND SNOWFLAP ASSEMBLY [98332]
CONSOLE AND SWITCH ASSEMBLY [93855]
COOLING ASSEMBLY [93860]
CRANKCASE ASSEMBLY [93866]
CYLINDER AND HEAD ASSEMBLY [89241]
DRIVE CLUTCH [94578]
DRIVE TRAIN SHAFT AND BRAKE ASSEMBLIES [93844]
DRIVE/DROPCASE ASSEMBLY [94037]
DRIVEN CLUTCH [92251]
ELECTRICAL [98333]
ENGINE AND RELATED PARTS [94576]
EXHAUST ASSEMBLY [94577]
FRONT FRAME AND STEERING SUPPORT ASSEMBLY [93852]
FRONT SUSPENSION SHOCK ABSORBER [99490]
FUEL PUMP ASSEMBLY [93857]
GAS TANK AND TAILLIGHT ASSEMBLY [92242]
HANDLEBAR AND CONTROLS [92230]
HEADLIGHT AND WIRING ASSEMBLY [93854]
HOOD AND WINDSHIELD ASSEMBLY [98329]
HYDRAULIC BRAKE CONTROL ASSEMBLY [98328]
IDLER WHEEL ASSEMBLY [93847]
MAGNETO [89578]
OIL PUMP [89245]
OIL TANK ASSEMBLY [93864]
PISTON AND CRANKSHAFT [91145]
REAR SUSPENSION FRONT ARM ASSEMBLY [93848]
REAR SUSPENSION FRONT ARM SHOCK ABSORBER [99492]
REAR SUSPENSION REAR ARM ASSEMBLY [93850]
REAR SUSPENSION REAR ARM SHOCK ABSORBER [99494]
RECOIL STARTER [89247]
REED VALVE/THROTTLE BODY ASSEMBLY [98224]
SEAT ASSEMBLY [98331]
SHOCK ABSORBER AND SWAY BAR ASSEMBLY [93840]
SKI AND SPINDLE ASSEMBLY [93839]
SLIDE RAIL AND TRACK ASSEMBLY [94571]
STEERING POST AND TIE ROD ASSEMBLY [93842]
WATER PUMP AND THERMOSTAT [93010]
A-ARM ASSEMBLY [98327]
AIR SILENCER ASSEMBLY [93863]
BELLY PAN ASSEMBLY [98330]
BELT GUARD ASSEMBLY [90440]
CHASSIS, REAR BUMPER, AND SNOWFLAP ASSEMBLY [98332]
CONSOLE AND SWITCH ASSEMBLY [93855]
COOLING ASSEMBLY [93860]
CRANKCASE ASSEMBLY [93866]
CYLINDER AND HEAD ASSEMBLY [89241]
DRIVE CLUTCH [94578]
DRIVE TRAIN SHAFT AND BRAKE ASSEMBLIES [93844]
DRIVE/DROPCASE ASSEMBLY [94037]
DRIVEN CLUTCH [92251]
ELECTRICAL [98333]
ENGINE AND RELATED PARTS [94576]
EXHAUST ASSEMBLY [94577]
FRONT FRAME AND STEERING SUPPORT ASSEMBLY [93852]
FRONT SUSPENSION SHOCK ABSORBER [99490]
FUEL PUMP ASSEMBLY [93857]
GAS TANK AND TAILLIGHT ASSEMBLY [92242]
HANDLEBAR AND CONTROLS [92230]
HEADLIGHT AND WIRING ASSEMBLY [93854]
HOOD AND WINDSHIELD ASSEMBLY [98329]
HYDRAULIC BRAKE CONTROL ASSEMBLY [98328]
IDLER WHEEL ASSEMBLY [93847]
MAGNETO [89578]
OIL PUMP [89245]
OIL TANK ASSEMBLY [93864]
PISTON AND CRANKSHAFT [91145]
REAR SUSPENSION FRONT ARM ASSEMBLY [93848]
REAR SUSPENSION FRONT ARM SHOCK ABSORBER [99492]
REAR SUSPENSION REAR ARM ASSEMBLY [93850]
REAR SUSPENSION REAR ARM SHOCK ABSORBER [99494]
RECOIL STARTER [89247]
REED VALVE/THROTTLE BODY ASSEMBLY [98224]
SEAT ASSEMBLY [98331]
SHOCK ABSORBER AND SWAY BAR ASSEMBLY [93840]
SKI AND SPINDLE ASSEMBLY [93839]
SLIDE RAIL AND TRACK ASSEMBLY [94571]
STEERING POST AND TIE ROD ASSEMBLY [93842]
WATER PUMP AND THERMOSTAT [93010]
VIEW WISH LIST