Greenville, TX
|
Give Us a Call
(903) 454-4440
Toggle navigation
Home
Brands
Manufacturer Models
OEM Promotions
Polaris
Can-Am
E-Z-Go
Honda
Kawasaki
Suzuki
Inventory
All Inventory In Stock
New Inventory In Stock
Used Inventory
Value Your Trade-In
Request a Model
Schedule a Test Ride
Secure Financing
Parts
Parts Department
Parts Finder
Service
Service Department
Request Polaris Service
Warranty & Recall Look-Up
Specials
Financing
About
Our Dealership
Our Team
Reviews
Customer Survey
Employment
Events Calendar
Locations
Location & Hours
Contact
Parts Finder
Home
›
Parts
›
Parts Finder
Search by :
Part / Desc
VIN
Please Select
Arctic Cat
Honda
Kawasaki
Polaris
Suzuki
*Please enter at least 3 characters
SEARCH
Manufacturer
Arctic Cat
Snowmobiles
2013
F TURBO SNO PRO RR GREEN-WHITE [S2013F1NTRUSS]
VIEW WISH LIST
Select a Section
Show/Hide
A-ARM AND SWAY BAR ASSEMBLY [97906]
BATTERY AND TRAY ASSEMBLY [101062]
BELT GUARD ASSEMBLY [96727]
CAM CHAIN ASSEMBLY [101065]
CAMSHAFT/VALVE ASSEMBLY [93716]
CHAIN CASE ASSEMBLY [97970]
CONSOLE ASSEMBLY [97954]
COOLING ASSEMBLY [96730]
CRANK BALANCER ASSEMBLY [89768]
CRANKCASE ASSEMBLY [95603]
CYLINDER HEAD ASSEMBLY [91791]
DRIVE CLUTCH [95601]
DRIVE TRAIN SHAFTS AND BRAKE ASSEMBLIES [97947]
DRIVEN CLUTCH [97917]
ELECTRICAL ASSEMBLY [95606]
ENGINE AND RELATED PARTS [101081]
EXHAUST ASSEMBLY [96732]
EXHAUST MANIFOLD ASSEMBLY [89773]
FRONT BUMPER AND FRAME ASSEMBLY [97950]
FRONT SUSPENSION SHOCK ABSORBER [99158]
FUEL PUMP ASSEMBLY [96729]
GAS TANK ASSEMBLY [96728]
HANDLEBAR AND CONTROLS [97945]
HEADLIGHT AND WIRING ASSEMBLIES [96725]
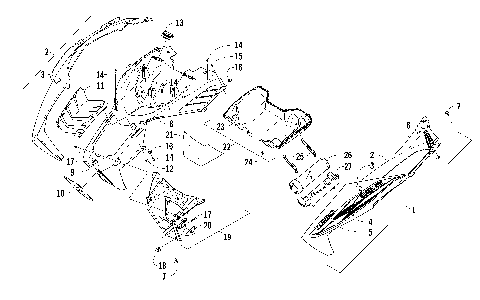
HOOD AND AIR INTAKE ASSEMBLY [97964]
HYDRAULIC BRAKE CONTROL ASSEMBLY [97987]
IDLER WHEEL ASSEMBLY [98458]
INTAKE MANIFOLD/FLANGE ASSEMBLY [89771]
INTERCOOLER ASSEMBLY [95597]
MAGNETO ASSEMBLY [91421]
MAGNETO COVER [91412]
OIL COOLER ASSEMBLY [89777]
OIL PAN ASSEMBLY [96613]
OIL PUMP ASSEMBLY [90508]
OIL TANK ASSEMBLY [96720]
PISTON AND CRANKSHAFT ASSEMBLY [91793]
REAR SUSPENSION FRONT ARM ASSEMBLY [97227]
REAR SUSPENSION FRONT ARM SHOCK ABSORBER [100124]
REAR SUSPENSION REAR ARM ASSEMBLY [97228]
REAR SUSPENSION REAR ARM SHOCK ABSORBER [100126]
SEAT ASSEMBLY [97990]
SHOCK ABSORBER ASSEMBLY [95863]
SKI AND SPINDLE ASSEMBLY [97221]
SKID PLATE AND SIDE PANEL ASSEMBLY [97966]
SLIDE RAIL AND TRACK ASSEMBLY [97949]
STARTER CLUTCH ASSEMBLY [89767]
STARTER MOTOR ASSEMBLY [91420]
STEERING POST ASSEMBLY [96679]
STEERING SUPPORT ASSEMBLY [96721]
THROTTLE BODY ASSEMBLY [89780]
TIE ROD ASSEMBLY [100120]
TUNNEL, REAR BUMPER, AND SNOWFLAP ASSEMBLY [97963]
TURBOCHARGER ASSEMBLY [95604]
WATER HOSE ASSEMBLY [91795]
WATER PUMP ASSEMBLY [89695]
WINDSHIELD AND INSTRUMENTS ASSEMBLIES [97965]
A-ARM AND SWAY BAR ASSEMBLY [97906]
BATTERY AND TRAY ASSEMBLY [101062]
BELT GUARD ASSEMBLY [96727]
CAM CHAIN ASSEMBLY [101065]
CAMSHAFT/VALVE ASSEMBLY [93716]
CHAIN CASE ASSEMBLY [97970]
CONSOLE ASSEMBLY [97954]
COOLING ASSEMBLY [96730]
CRANK BALANCER ASSEMBLY [89768]
CRANKCASE ASSEMBLY [95603]
CYLINDER HEAD ASSEMBLY [91791]
DRIVE CLUTCH [95601]
DRIVE TRAIN SHAFTS AND BRAKE ASSEMBLIES [97947]
DRIVEN CLUTCH [97917]
ELECTRICAL ASSEMBLY [95606]
ENGINE AND RELATED PARTS [101081]
EXHAUST ASSEMBLY [96732]
EXHAUST MANIFOLD ASSEMBLY [89773]
FRONT BUMPER AND FRAME ASSEMBLY [97950]
FRONT SUSPENSION SHOCK ABSORBER [99158]
FUEL PUMP ASSEMBLY [96729]
GAS TANK ASSEMBLY [96728]
HANDLEBAR AND CONTROLS [97945]
HEADLIGHT AND WIRING ASSEMBLIES [96725]
HOOD AND AIR INTAKE ASSEMBLY [97964]
HYDRAULIC BRAKE CONTROL ASSEMBLY [97987]
IDLER WHEEL ASSEMBLY [98458]
INTAKE MANIFOLD/FLANGE ASSEMBLY [89771]
INTERCOOLER ASSEMBLY [95597]
MAGNETO ASSEMBLY [91421]
MAGNETO COVER [91412]
OIL COOLER ASSEMBLY [89777]
OIL PAN ASSEMBLY [96613]
OIL PUMP ASSEMBLY [90508]
OIL TANK ASSEMBLY [96720]
PISTON AND CRANKSHAFT ASSEMBLY [91793]
REAR SUSPENSION FRONT ARM ASSEMBLY [97227]
REAR SUSPENSION FRONT ARM SHOCK ABSORBER [100124]
REAR SUSPENSION REAR ARM ASSEMBLY [97228]
REAR SUSPENSION REAR ARM SHOCK ABSORBER [100126]
SEAT ASSEMBLY [97990]
SHOCK ABSORBER ASSEMBLY [95863]
SKI AND SPINDLE ASSEMBLY [97221]
SKID PLATE AND SIDE PANEL ASSEMBLY [97966]
SLIDE RAIL AND TRACK ASSEMBLY [97949]
STARTER CLUTCH ASSEMBLY [89767]
STARTER MOTOR ASSEMBLY [91420]
STEERING POST ASSEMBLY [96679]
STEERING SUPPORT ASSEMBLY [96721]
THROTTLE BODY ASSEMBLY [89780]
TIE ROD ASSEMBLY [100120]
TUNNEL, REAR BUMPER, AND SNOWFLAP ASSEMBLY [97963]
TURBOCHARGER ASSEMBLY [95604]
WATER HOSE ASSEMBLY [91795]
WATER PUMP ASSEMBLY [89695]
WINDSHIELD AND INSTRUMENTS ASSEMBLIES [97965]
VIEW WISH LIST