Greenville, TX
|
Give Us a Call
(903) 454-4440
Toggle navigation
Home
Brands
Manufacturer Models
OEM Promotions
Polaris
Can-Am
E-Z-Go
Honda
Kawasaki
Suzuki
Inventory
All Inventory In Stock
New Inventory In Stock
Used Inventory
Value Your Trade-In
Request a Model
Schedule a Test Ride
Secure Financing
Parts
Parts Department
Parts Finder
Service
Service Department
Request Polaris Service
Warranty & Recall Look-Up
Specials
Financing
About
Our Dealership
Our Team
Reviews
Customer Survey
Employment
Events Calendar
Locations
Location & Hours
Contact
Parts Finder
Home
›
Parts
›
Parts Finder
Search by :
Part / Desc
VIN
Please Select
Arctic Cat
Honda
Kawasaki
Polaris
Suzuki
*Please enter at least 3 characters
SEARCH
Manufacturer
Arctic Cat
Snowmobiles
2013
F TURBO LXR GREEN [S2013F1NTSUSG]
VIEW WISH LIST
Select a Section
Show/Hide
A-ARM AND SWAY BAR ASSEMBLY [97906]
BATTERY AND TRAY ASSEMBLY [101062]
BELT GUARD ASSEMBLY [96727]
CAM CHAIN ASSEMBLY [101065]
CAMSHAFT/VALVE ASSEMBLY [93716]
CHAIN CASE ASSEMBLY [97908]
CONSOLE ASSEMBLY [95436]
COOLING ASSEMBLY [96757]
CRANK BALANCER ASSEMBLY [89768]
CRANKCASE ASSEMBLY [95603]
CYLINDER HEAD ASSEMBLY [91791]
DRIVE CLUTCH [95601]
DRIVE TRAIN SHAFTS AND BRAKE ASSEMBLIES [96718]
DRIVEN CLUTCH [97917]
ELECTRICAL ASSEMBLY [95606]
ENGINE AND RELATED PARTS [101081]
EXHAUST ASSEMBLY [96732]
EXHAUST MANIFOLD ASSEMBLY [89773]
FRONT BUMPER AND FRAME ASSEMBLY [97910]
FRONT SHOCK ABSORBER ASSEMBLY [95526]
FRONT SUSPENSION SHOCK ABSORBER [95527]
FUEL PUMP ASSEMBLY [96729]
GAS TANK ASSEMBLY [96728]
HANDLEBAR AND CONTROLS [96717]
HEADLIGHT AND WIRING ASSEMBLIES [97914]
HOOD AND AIR INTAKE ASSEMBLY [97912]
HYDRAULIC BRAKE CONTROL ASSEMBLY [96592]
IDLER WHEEL ASSEMBLY [98758]
INTAKE MANIFOLD/FLANGE ASSEMBLY [89771]
INTERCOOLER ASSEMBLY [95597]
MAGNETO ASSEMBLY [91421]
MAGNETO COVER [91412]
OIL COOLER ASSEMBLY [89777]
OIL PAN ASSEMBLY [96613]
OIL PUMP ASSEMBLY [90508]
OIL TANK ASSEMBLY [96720]
PISTON AND CRANKSHAFT ASSEMBLY [91793]
REAR SUSPENSION FRONT ARM ASSEMBLY [96662]
REAR SUSPENSION FRONT ARM SHOCK ABSORBER [95459]
REAR SUSPENSION REAR ARM ASSEMBLY [96682]
REAR SUSPENSION REAR ARM SHOCK ABSORBER [95354]
SEAT ASSEMBLY [96607]
SKI AND SPINDLE ASSEMBLY [97927]
SKID PLATE AND SIDE PANEL ASSEMBLY [97915]
SLIDE RAIL AND TRACK ASSEMBLY [97909]
STARTER CLUTCH ASSEMBLY [89767]
STARTER MOTOR ASSEMBLY [91420]
STEERING POST ASSEMBLY [98278]
STEERING SUPPORT ASSEMBLY [96721]
THROTTLE BODY ASSEMBLY [89780]
TIE ROD ASSEMBLY [100120]
TUNNEL, REAR BUMPER, AND SNOWFLAP ASSEMBLY [97911]
TURBOCHARGER ASSEMBLY [95604]
WATER HOSE ASSEMBLY [91795]
WATER PUMP ASSEMBLY [89695]
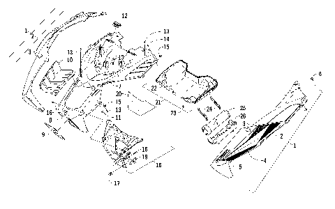
WINDSHIELD AND INSTRUMENTS ASSEMBLIES [97913]
A-ARM AND SWAY BAR ASSEMBLY [97906]
BATTERY AND TRAY ASSEMBLY [101062]
BELT GUARD ASSEMBLY [96727]
CAM CHAIN ASSEMBLY [101065]
CAMSHAFT/VALVE ASSEMBLY [93716]
CHAIN CASE ASSEMBLY [97908]
CONSOLE ASSEMBLY [95436]
COOLING ASSEMBLY [96757]
CRANK BALANCER ASSEMBLY [89768]
CRANKCASE ASSEMBLY [95603]
CYLINDER HEAD ASSEMBLY [91791]
DRIVE CLUTCH [95601]
DRIVE TRAIN SHAFTS AND BRAKE ASSEMBLIES [96718]
DRIVEN CLUTCH [97917]
ELECTRICAL ASSEMBLY [95606]
ENGINE AND RELATED PARTS [101081]
EXHAUST ASSEMBLY [96732]
EXHAUST MANIFOLD ASSEMBLY [89773]
FRONT BUMPER AND FRAME ASSEMBLY [97910]
FRONT SHOCK ABSORBER ASSEMBLY [95526]
FRONT SUSPENSION SHOCK ABSORBER [95527]
FUEL PUMP ASSEMBLY [96729]
GAS TANK ASSEMBLY [96728]
HANDLEBAR AND CONTROLS [96717]
HEADLIGHT AND WIRING ASSEMBLIES [97914]
HOOD AND AIR INTAKE ASSEMBLY [97912]
HYDRAULIC BRAKE CONTROL ASSEMBLY [96592]
IDLER WHEEL ASSEMBLY [98758]
INTAKE MANIFOLD/FLANGE ASSEMBLY [89771]
INTERCOOLER ASSEMBLY [95597]
MAGNETO ASSEMBLY [91421]
MAGNETO COVER [91412]
OIL COOLER ASSEMBLY [89777]
OIL PAN ASSEMBLY [96613]
OIL PUMP ASSEMBLY [90508]
OIL TANK ASSEMBLY [96720]
PISTON AND CRANKSHAFT ASSEMBLY [91793]
REAR SUSPENSION FRONT ARM ASSEMBLY [96662]
REAR SUSPENSION FRONT ARM SHOCK ABSORBER [95459]
REAR SUSPENSION REAR ARM ASSEMBLY [96682]
REAR SUSPENSION REAR ARM SHOCK ABSORBER [95354]
SEAT ASSEMBLY [96607]
SKI AND SPINDLE ASSEMBLY [97927]
SKID PLATE AND SIDE PANEL ASSEMBLY [97915]
SLIDE RAIL AND TRACK ASSEMBLY [97909]
STARTER CLUTCH ASSEMBLY [89767]
STARTER MOTOR ASSEMBLY [91420]
STEERING POST ASSEMBLY [98278]
STEERING SUPPORT ASSEMBLY [96721]
THROTTLE BODY ASSEMBLY [89780]
TIE ROD ASSEMBLY [100120]
TUNNEL, REAR BUMPER, AND SNOWFLAP ASSEMBLY [97911]
TURBOCHARGER ASSEMBLY [95604]
WATER HOSE ASSEMBLY [91795]
WATER PUMP ASSEMBLY [89695]
WINDSHIELD AND INSTRUMENTS ASSEMBLIES [97913]
VIEW WISH LIST