Greenville, TX
|
Give Us a Call
(903) 454-4440
Toggle navigation
Home
Brands
Manufacturer Models
OEM Promotions
Polaris
Can-Am
E-Z-Go
Honda
Kawasaki
Suzuki
Inventory
All Inventory In Stock
New Inventory In Stock
Used Inventory
Value Your Trade-In
Request a Model
Schedule a Test Ride
Secure Financing
Parts
Parts Department
Parts Finder
Service
Service Department
Request Polaris Service
Warranty & Recall Look-Up
Specials
Financing
About
Our Dealership
Our Team
Reviews
Customer Survey
Employment
Events Calendar
Locations
Location & Hours
Contact
Parts Finder
Home
›
Parts
›
Parts Finder
Search by :
Part / Desc
VIN
Please Select
Arctic Cat
Honda
Kawasaki
Polaris
Suzuki
*Please enter at least 3 characters
SEARCH
Manufacturer
Arctic Cat
Snowmobiles
2013
F 800 LXR GREEN [S2013F8HLXUSG]
VIEW WISH LIST
Select a Section
Show/Hide
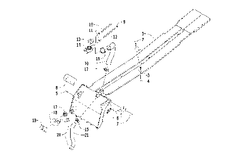
A-ARM AND SWAY BAR ASSEMBLY [97222]
BATTERY AND TRAY ASSEMBLY [98142]
BELT GUARD ASSEMBLY [96868]
CHAIN CASE ASSEMBLY [98279]
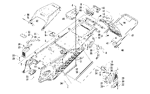
CONSOLE ASSEMBLY [95188]
COOLING ASSEMBLY [97236]
CRANKCASE ASSEMBLY [91585]
CYLINDER AND HEAD ASSEMBLY [95146]
DRIVE CLUTCH [98290]
DRIVE TRAIN SHAFTS AND BRAKE ASSEMBLIES [97198]
DRIVEN CLUTCH [98291]
ELECTRICAL [98857]
ENGINE AND RELATED PARTS [98239]
EXHAUST ASSEMBLY [96873]
FRONT BUMPER AND FRAME ASSEMBLY [98231]
FRONT SHOCK ABSORBER ASSEMBLY [98276]
FRONT SUSPENSION SHOCK ABSORBER [98277]
FUEL PUMP ASSEMBLY [101505]
GAS TANK ASSEMBLY [98139]
HANDLEBAR AND CONTROLS [97197]
HEADLIGHT AND WIRING ASSEMBLIES [98288]
HOOD AND AIR INTAKE ASSEMBLY [98286]
HYDRAULIC BRAKE CONTROL ASSEMBLY [96592]
IDLER WHEEL ASSEMBLY [98758]
MAGNETO [89829]
OIL PUMP [93329]
OIL TANK ASSEMBLY [96858]
PISTON AND CRANKSHAFT [91586]
REAR SUSPENSION FRONT ARM ASSEMBLY [98281]
REAR SUSPENSION FRONT ARM SHOCK ABSORBER [98282]
REAR SUSPENSION REAR ARM ASSEMBLY [98283]
REAR SUSPENSION REAR ARM SHOCK ABSORBER [98284]
RECOIL STARTER [89828]
REED VALVE ASSEMBLY [96875]
SEAT ASSEMBLY [98237]
SERVOMOTOR ASSEMBLY [91541]
SKI AND SPINDLE ASSEMBLY [97927]
SKID PLATE AND SIDE PANEL ASSEMBLY [98289]
SLIDE RAIL AND TRACK ASSEMBLY [98280]
STARTER MOTOR ASSEMBLY [98141]
STEERING POST ASSEMBLY [98278]
STEERING SUPPORT ASSEMBLY [98230]
THROTTLE BODY ASSEMBLY [91588]
TIE ROD ASSEMBLY [100120]
TUNNEL, REAR BUMPER, AND SNOWFLAP ASSEMBLY [98285]
WATER PUMP AND THERMOSTAT [93330]
WINDSHIELD AND INSTRUMENTS ASSEMBLIES [98287]
A-ARM AND SWAY BAR ASSEMBLY [97222]
BATTERY AND TRAY ASSEMBLY [98142]
BELT GUARD ASSEMBLY [96868]
CHAIN CASE ASSEMBLY [98279]
CONSOLE ASSEMBLY [95188]
COOLING ASSEMBLY [97236]
CRANKCASE ASSEMBLY [91585]
CYLINDER AND HEAD ASSEMBLY [95146]
DRIVE CLUTCH [98290]
DRIVE TRAIN SHAFTS AND BRAKE ASSEMBLIES [97198]
DRIVEN CLUTCH [98291]
ELECTRICAL [98857]
ENGINE AND RELATED PARTS [98239]
EXHAUST ASSEMBLY [96873]
FRONT BUMPER AND FRAME ASSEMBLY [98231]
FRONT SHOCK ABSORBER ASSEMBLY [98276]
FRONT SUSPENSION SHOCK ABSORBER [98277]
FUEL PUMP ASSEMBLY [101505]
GAS TANK ASSEMBLY [98139]
HANDLEBAR AND CONTROLS [97197]
HEADLIGHT AND WIRING ASSEMBLIES [98288]
HOOD AND AIR INTAKE ASSEMBLY [98286]
HYDRAULIC BRAKE CONTROL ASSEMBLY [96592]
IDLER WHEEL ASSEMBLY [98758]
MAGNETO [89829]
OIL PUMP [93329]
OIL TANK ASSEMBLY [96858]
PISTON AND CRANKSHAFT [91586]
REAR SUSPENSION FRONT ARM ASSEMBLY [98281]
REAR SUSPENSION FRONT ARM SHOCK ABSORBER [98282]
REAR SUSPENSION REAR ARM ASSEMBLY [98283]
REAR SUSPENSION REAR ARM SHOCK ABSORBER [98284]
RECOIL STARTER [89828]
REED VALVE ASSEMBLY [96875]
SEAT ASSEMBLY [98237]
SERVOMOTOR ASSEMBLY [91541]
SKI AND SPINDLE ASSEMBLY [97927]
SKID PLATE AND SIDE PANEL ASSEMBLY [98289]
SLIDE RAIL AND TRACK ASSEMBLY [98280]
STARTER MOTOR ASSEMBLY [98141]
STEERING POST ASSEMBLY [98278]
STEERING SUPPORT ASSEMBLY [98230]
THROTTLE BODY ASSEMBLY [91588]
TIE ROD ASSEMBLY [100120]
TUNNEL, REAR BUMPER, AND SNOWFLAP ASSEMBLY [98285]
WATER PUMP AND THERMOSTAT [93330]
WINDSHIELD AND INSTRUMENTS ASSEMBLIES [98287]
VIEW WISH LIST