Greenville, TX
|
Give Us a Call
(903) 454-4440
Toggle navigation
Home
Brands
Manufacturer Models
OEM Promotions
Polaris
Can-Am
E-Z-Go
Honda
Kawasaki
Suzuki
Inventory
All Inventory In Stock
New Inventory In Stock
Used Inventory
Value Your Trade-In
Request a Model
Schedule a Test Ride
Secure Financing
Parts
Parts Department
Parts Finder
Service
Service Department
Request Polaris Service
Warranty & Recall Look-Up
Specials
Financing
About
Our Dealership
Our Team
Reviews
Customer Survey
Employment
Events Calendar
Locations
Location & Hours
Contact
Parts Finder
Home
›
Parts
›
Parts Finder
Search by :
Part / Desc
VIN
Please Select
Arctic Cat
Honda
Kawasaki
Polaris
Suzuki
*Please enter at least 3 characters
SEARCH
Manufacturer
Arctic Cat
Snowmobiles
2013
BEARCAT Z1 XT LTD BLACK [S2013BCNWLUSB]
VIEW WISH LIST
Select a Section
Show/Hide
A-ARM AND SWAY BAR ASSEMBLY [97554]
AIR SILENCER ASSEMBLY [94769]
ARTICULATING SKID FRAME ASSEMBLY [97559]
BATTERY AND TRAY ASSEMBLY [97517]
BELT GUARD ASSEMBLY [94764]
CAM CHAIN ASSEMBLY [101065]
CAMSHAFT/VALVE ASSEMBLY [91414]
CENTER PASSENGER SEAT ASSEMBLY [97565]
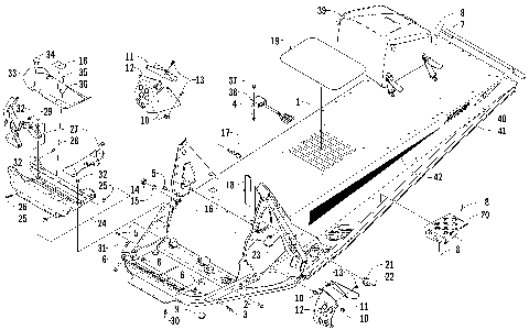
CHASSIS ASSEMBLY [97560]
CONSOLE ASSEMBLY [94793]
COOLING ASSEMBLY [97516]
CRANK BALANCER ASSEMBLY [89768]
CRANKCASE ASSEMBLY [91411]
CYLINDER HEAD ASSEMBLY [91410]
DRIVE CLUTCH [94771]
DRIVE TRAIN SHAFT AND BRAKE ASSEMBLIES [94754]
DRIVEN CLUTCH [94772]
ENGINE AND RELATED PARTS [94766]
EXHAUST ASSEMBLY [94767]
EXHAUST MANIFOLD GASKET/INTAKE FLANGE ASSEMBLY [91415]
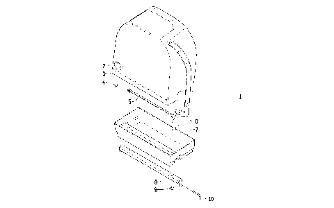
FRONT SEAT ASSEMBLY [97564]
FRONT SHOCK ABSORBER ASSEMBLY [97555]
FUEL PUMP ASSEMBLY [94795]
GAS TANK ASSEMBLY [91397]
GEARCASE ASSEMBLY [97510]
HANDLEBAR AND CONTROLS [97509]
HEADLIGHT AND WIRING ASSEMBLIES [93276]
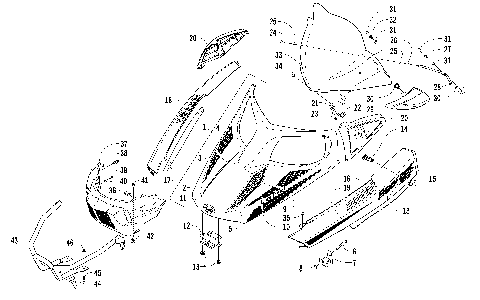
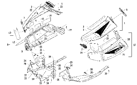
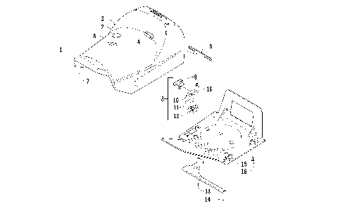
HOOD, WINDSHIELD, AND FRONT BUMPER ASSEMBLY [97561]
HYDRAULIC BRAKE CONTROL ASSEMBLY [97275]
IDLER WHEEL ASSEMBLY [97558]
MAGNETO ASSEMBLY [91421]
MAGNETO COVER [91412]
OIL COOLER ASSEMBLY [89694]
OIL PAN ASSEMBLY [91416]
OIL PUMP ASSEMBLY [90508]
OIL SEPARATOR ASSEMBLY [90138]
OIL TANK ASSEMBLY [94770]
PISTON AND CRANKSHAFT ASSEMBLY [91413]
REAR BUMPER, RACK RAIL, SNOWFLAP, AND TAILLIGHT ASSEMBLY [101659]
REAR PASSENGER SEAT AND BACKREST ASSEMBLY [97566]
REAR SUSPENSION FRONT ARM ASSEMBLY [94758]
REAR SUSPENSION REAR ARM ASSEMBLY [91360]
SEAT SUPPORT ASSEMBLY [97563]
SKI AND SPINDLE ASSEMBLY [97506]
SKID PLATE AND SIDE PANEL ASSEMBLY [97562]
SLIDE RAIL AND TRACK ASSEMBLY [97557]
STARTER CLUTCH ASSEMBLY [89767]
STARTER MOTOR ASSEMBLY [91420]
STEERING POST ASSEMBLY [94750]
STEERING SUPPORT ASSEMBLY [97556]
THROTTLE BODY ASSEMBLY [94682]
TIE ROD ASSEMBLY [91352]
WATER HOSE ASSEMBLY [91418]
WATER PUMP ASSEMBLY [89695]
A-ARM AND SWAY BAR ASSEMBLY [97554]
AIR SILENCER ASSEMBLY [94769]
ARTICULATING SKID FRAME ASSEMBLY [97559]
BATTERY AND TRAY ASSEMBLY [97517]
BELT GUARD ASSEMBLY [94764]
CAM CHAIN ASSEMBLY [101065]
CAMSHAFT/VALVE ASSEMBLY [91414]
CENTER PASSENGER SEAT ASSEMBLY [97565]
CHASSIS ASSEMBLY [97560]
CONSOLE ASSEMBLY [94793]
COOLING ASSEMBLY [97516]
CRANK BALANCER ASSEMBLY [89768]
CRANKCASE ASSEMBLY [91411]
CYLINDER HEAD ASSEMBLY [91410]
DRIVE CLUTCH [94771]
DRIVE TRAIN SHAFT AND BRAKE ASSEMBLIES [94754]
DRIVEN CLUTCH [94772]
ENGINE AND RELATED PARTS [94766]
EXHAUST ASSEMBLY [94767]
EXHAUST MANIFOLD GASKET/INTAKE FLANGE ASSEMBLY [91415]
FRONT SEAT ASSEMBLY [97564]
FRONT SHOCK ABSORBER ASSEMBLY [97555]
FUEL PUMP ASSEMBLY [94795]
GAS TANK ASSEMBLY [91397]
GEARCASE ASSEMBLY [97510]
HANDLEBAR AND CONTROLS [97509]
HEADLIGHT AND WIRING ASSEMBLIES [93276]
HOOD, WINDSHIELD, AND FRONT BUMPER ASSEMBLY [97561]
HYDRAULIC BRAKE CONTROL ASSEMBLY [97275]
IDLER WHEEL ASSEMBLY [97558]
MAGNETO ASSEMBLY [91421]
MAGNETO COVER [91412]
OIL COOLER ASSEMBLY [89694]
OIL PAN ASSEMBLY [91416]
OIL PUMP ASSEMBLY [90508]
OIL SEPARATOR ASSEMBLY [90138]
OIL TANK ASSEMBLY [94770]
PISTON AND CRANKSHAFT ASSEMBLY [91413]
REAR BUMPER, RACK RAIL, SNOWFLAP, AND TAILLIGHT ASSEMBLY [101659]
REAR PASSENGER SEAT AND BACKREST ASSEMBLY [97566]
REAR SUSPENSION FRONT ARM ASSEMBLY [94758]
REAR SUSPENSION REAR ARM ASSEMBLY [91360]
SEAT SUPPORT ASSEMBLY [97563]
SKI AND SPINDLE ASSEMBLY [97506]
SKID PLATE AND SIDE PANEL ASSEMBLY [97562]
SLIDE RAIL AND TRACK ASSEMBLY [97557]
STARTER CLUTCH ASSEMBLY [89767]
STARTER MOTOR ASSEMBLY [91420]
STEERING POST ASSEMBLY [94750]
STEERING SUPPORT ASSEMBLY [97556]
THROTTLE BODY ASSEMBLY [94682]
TIE ROD ASSEMBLY [91352]
WATER HOSE ASSEMBLY [91418]
WATER PUMP ASSEMBLY [89695]
VIEW WISH LIST