Greenville, TX
|
Give Us a Call
(903) 454-4440
Toggle navigation
Home
Brands
Manufacturer Models
OEM Promotions
Polaris
Can-Am
E-Z-Go
Honda
Kawasaki
Suzuki
Inventory
All Inventory In Stock
New Inventory In Stock
Used Inventory
Value Your Trade-In
Request a Model
Schedule a Test Ride
Secure Financing
Parts
Parts Department
Parts Finder
Service
Service Department
Request Polaris Service
Warranty & Recall Look-Up
Specials
Financing
About
Our Dealership
Our Team
Reviews
Customer Survey
Employment
Events Calendar
Locations
Location & Hours
Contact
Parts Finder
Home
›
Parts
›
Parts Finder
Search by :
Part / Desc
VIN
Please Select
Arctic Cat
Honda
Kawasaki
Polaris
Suzuki
*Please enter at least 3 characters
SEARCH
Manufacturer
Arctic Cat
Snowmobiles
2012
SNO PRO 600 GREEN [S2012ACDPRUSG]
VIEW WISH LIST
Select a Section
Show/Hide
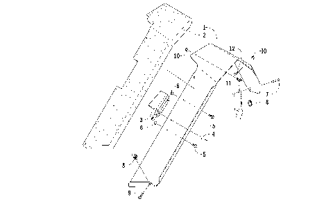
A-ARM AND SWAY BAR ASSEMBLY [97222]
AIR SILENCER, CARBURETOR, AND FUEL PUMP ASSEMBLY [95855]
BELT GUARD ASSEMBLY [95849]
CARBURETOR - EXTERNAL PARTS [95859]
CARBURETOR - INTERNAL PARTS [95858]
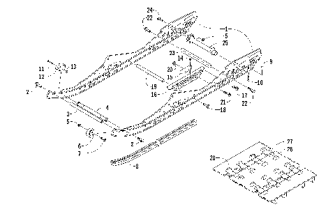
CHAIN CASE ASSEMBLY [95834]
CONSOLE AND SWITCH ASSEMBLY [95845]
COOLING ASSEMBLY [95852]
CRANKCASE ASSEMBLY [92193]
CYLINDER AND HEAD ASSEMBLY [92192]
DRIVE CLUTCH [95856]
DRIVE TRAIN SHAFTS AND BRAKE ASSEMBLIES [95833]
DRIVEN CLUTCH [95857]
ELECTRICAL [94059]
ELECTRICAL PANEL ASSEMBLY [95847]
ENGINE AND RELATED PARTS [95853]
EXHAUST ASSEMBLY [95854]
FRONT BUMPER AND FRAME ASSEMBLY [95842]
FRONT SUSPENSION SHOCK ABSORBER [95827]
GAS TANK AND TAILLIGHT ASSEMBLY [95850]
HANDLEBAR ASSEMBLY [95830]
HEADLIGHT AND WIRING ASSEMBLY [95846]
HYDRAULIC BRAKE CONTROL ASSEMBLY [95832]
IDLER WHEEL ASSEMBLY [95836]
MAGNETO [90459]
PISTON AND CRANKSHAFT [92194]
POD AND WINDSHIELD ASSEMBLY [95844]
REAR SUSPENSION FRONT ARM ASSEMBLY [95837]
REAR SUSPENSION FRONT ARM SHOCK ABSORBER [95838]
REAR SUSPENSION REAR ARM ASSEMBLY [95839]
REAR SUSPENSION REAR ARM SHOCK ABSORBER [95840]
RECOIL STARTER [92196]
REED VALVE ASSEMBLY [92195]
SEAT ASSEMBLY [95851]
SERVOMOTOR ASSEMBLY [90461]
SHOCK ABSORBER ASSEMBLY [95826]
SKI AND SPINDLE ASSEMBLY [95825]
SKID PLATE AND SIDE PANEL ASSEMBLY [95848]
SLIDE RAIL AND TRACK ASSEMBLY [95835]
STEERING POST ASSEMBLY [95829]
STEERING SUPPORT ASSEMBLY [95841]
THROTTLE CONTROL ASSEMBLY [98423]
TIE ROD ASSEMBLY [95828]
TUNNEL, REAR BUMPER, AND SNOWFLAP ASSEMBLY [95843]
WATER PUMP AND THERMOSTAT [94058]
A-ARM AND SWAY BAR ASSEMBLY [97222]
AIR SILENCER, CARBURETOR, AND FUEL PUMP ASSEMBLY [95855]
BELT GUARD ASSEMBLY [95849]
CARBURETOR - EXTERNAL PARTS [95859]
CARBURETOR - INTERNAL PARTS [95858]
CHAIN CASE ASSEMBLY [95834]
CONSOLE AND SWITCH ASSEMBLY [95845]
COOLING ASSEMBLY [95852]
CRANKCASE ASSEMBLY [92193]
CYLINDER AND HEAD ASSEMBLY [92192]
DRIVE CLUTCH [95856]
DRIVE TRAIN SHAFTS AND BRAKE ASSEMBLIES [95833]
DRIVEN CLUTCH [95857]
ELECTRICAL [94059]
ELECTRICAL PANEL ASSEMBLY [95847]
ENGINE AND RELATED PARTS [95853]
EXHAUST ASSEMBLY [95854]
FRONT BUMPER AND FRAME ASSEMBLY [95842]
FRONT SUSPENSION SHOCK ABSORBER [95827]
GAS TANK AND TAILLIGHT ASSEMBLY [95850]
HANDLEBAR ASSEMBLY [95830]
HEADLIGHT AND WIRING ASSEMBLY [95846]
HYDRAULIC BRAKE CONTROL ASSEMBLY [95832]
IDLER WHEEL ASSEMBLY [95836]
MAGNETO [90459]
PISTON AND CRANKSHAFT [92194]
POD AND WINDSHIELD ASSEMBLY [95844]
REAR SUSPENSION FRONT ARM ASSEMBLY [95837]
REAR SUSPENSION FRONT ARM SHOCK ABSORBER [95838]
REAR SUSPENSION REAR ARM ASSEMBLY [95839]
REAR SUSPENSION REAR ARM SHOCK ABSORBER [95840]
RECOIL STARTER [92196]
REED VALVE ASSEMBLY [92195]
SEAT ASSEMBLY [95851]
SERVOMOTOR ASSEMBLY [90461]
SHOCK ABSORBER ASSEMBLY [95826]
SKI AND SPINDLE ASSEMBLY [95825]
SKID PLATE AND SIDE PANEL ASSEMBLY [95848]
SLIDE RAIL AND TRACK ASSEMBLY [95835]
STEERING POST ASSEMBLY [95829]
STEERING SUPPORT ASSEMBLY [95841]
THROTTLE CONTROL ASSEMBLY [98423]
TIE ROD ASSEMBLY [95828]
TUNNEL, REAR BUMPER, AND SNOWFLAP ASSEMBLY [95843]
WATER PUMP AND THERMOSTAT [94058]
VIEW WISH LIST