Greenville, TX
|
Give Us a Call
(903) 454-4440
Toggle navigation
Home
Brands
Manufacturer Models
OEM Promotions
Polaris
Can-Am
E-Z-Go
Honda
Kawasaki
Suzuki
Inventory
All Inventory In Stock
New Inventory In Stock
Used Inventory
Value Your Trade-In
Request a Model
Schedule a Test Ride
Secure Financing
Parts
Parts Department
Parts Finder
Service
Service Department
Request Polaris Service
Warranty & Recall Look-Up
Specials
Financing
About
Our Dealership
Our Team
Reviews
Customer Survey
Employment
Events Calendar
Locations
Location & Hours
Contact
Parts Finder
Home
›
Parts
›
Parts Finder
Search by :
Part / Desc
VIN
Please Select
Arctic Cat
Honda
Kawasaki
Polaris
Suzuki
*Please enter at least 3 characters
SEARCH
Manufacturer
Arctic Cat
Snowmobiles
2012
M TURBO SNO PRO ANNIVERSARY INTERNATIONAL BLACK [S2012M1NANOSB]
VIEW WISH LIST
Select a Section
Show/Hide
A-ARM ASSEMBLY [95154]
BATTERY AND TRAY ASSEMBLY [101062]
BELT GUARD ASSEMBLY [96727]
CAM CHAIN ASSEMBLY [101065]
CAMSHAFT/VALVE ASSEMBLY [93716]
CHAIN CASE ASSEMBLY [98506]
CONSOLE ASSEMBLY [95436]
COOLING ASSEMBLY [95628]
CRANK BALANCER ASSEMBLY [89768]
CRANKCASE ASSEMBLY [95603]
CYLINDER HEAD ASSEMBLY [91791]
DRIVE CLUTCH [95601]
DRIVE TRAIN SHAFTS AND BRAKE ASSEMBLIES [98509]
DRIVEN CLUTCH [95602]
ELECTRICAL ASSEMBLY [95606]
ENGINE AND RELATED PARTS [96781]
EXHAUST ASSEMBLY [96732]
EXHAUST MANIFOLD ASSEMBLY [89773]
FRONT BUMPER AND FRAME ASSEMBLY [95621]
FRONT SUSPENSION SHOCK ABSORBER [95115]
FUEL PUMP ASSEMBLY [95595]
GAS TANK ASSEMBLY [95594]
HANDLEBAR AND CONTROLS [95581]
HEADLIGHT AND WIRING ASSEMBLIES [96816]
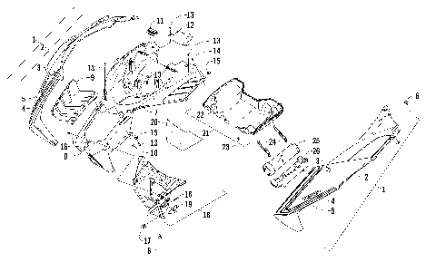
HOOD AND AIR INTAKE ASSEMBLY [95623]
HYDRAULIC BRAKE CONTROL ASSEMBLY [95119]
IDLER WHEEL ASSEMBLY [98482]
INTAKE MANIFOLD/FLANGE ASSEMBLY [89771]
INTERCOOLER ASSEMBLY [95597]
MAGNETO ASSEMBLY [91421]
MAGNETO COVER [91412]
OIL COOLER ASSEMBLY [89777]
OIL PAN ASSEMBLY [91416]
OIL PUMP ASSEMBLY [90508]
OIL TANK ASSEMBLY [95584]
PISTON AND CRANKSHAFT ASSEMBLY [91793]
REAR SUSPENSION FRONT ARM ASSEMBLY [96834]
REAR SUSPENSION FRONT ARM SHOCK ABSORBER [95126]
REAR SUSPENSION REAR ARM ASSEMBLY [95217]
REAR SUSPENSION REAR ARM SHOCK ABSORBER [95128]
SEAT ASSEMBLY [95439]
SHOCK ABSORBER ASSEMBLY [95114]
SKI AND SPINDLE ASSEMBLY [95153]
SKID PLATE AND SIDE PANEL ASSEMBLY [95625]
SLIDE RAIL AND TRACK ASSEMBLY [95618]
STARTER CLUTCH ASSEMBLY [89767]
STARTER MOTOR ASSEMBLY [91420]
STEERING POST ASSEMBLY [96626]
STEERING SUPPORT ASSEMBLY [96721]
THROTTLE BODY ASSEMBLY [89780]
TIE ROD ASSEMBLY [95116]
TUNNEL, REAR BUMPER, AND SNOWFLAP ASSEMBLY [95622]
TURBOCHARGER ASSEMBLY [95604]
WATER HOSE ASSEMBLY [91795]
WATER PUMP ASSEMBLY [89695]
WINDSHIELD AND INSTRUMENTS ASSEMBLIES [95435]
A-ARM ASSEMBLY [95154]
BATTERY AND TRAY ASSEMBLY [101062]
BELT GUARD ASSEMBLY [96727]
CAM CHAIN ASSEMBLY [101065]
CAMSHAFT/VALVE ASSEMBLY [93716]
CHAIN CASE ASSEMBLY [98506]
CONSOLE ASSEMBLY [95436]
COOLING ASSEMBLY [95628]
CRANK BALANCER ASSEMBLY [89768]
CRANKCASE ASSEMBLY [95603]
CYLINDER HEAD ASSEMBLY [91791]
DRIVE CLUTCH [95601]
DRIVE TRAIN SHAFTS AND BRAKE ASSEMBLIES [98509]
DRIVEN CLUTCH [95602]
ELECTRICAL ASSEMBLY [95606]
ENGINE AND RELATED PARTS [96781]
EXHAUST ASSEMBLY [96732]
EXHAUST MANIFOLD ASSEMBLY [89773]
FRONT BUMPER AND FRAME ASSEMBLY [95621]
FRONT SUSPENSION SHOCK ABSORBER [95115]
FUEL PUMP ASSEMBLY [95595]
GAS TANK ASSEMBLY [95594]
HANDLEBAR AND CONTROLS [95581]
HEADLIGHT AND WIRING ASSEMBLIES [96816]
HOOD AND AIR INTAKE ASSEMBLY [95623]
HYDRAULIC BRAKE CONTROL ASSEMBLY [95119]
IDLER WHEEL ASSEMBLY [98482]
INTAKE MANIFOLD/FLANGE ASSEMBLY [89771]
INTERCOOLER ASSEMBLY [95597]
MAGNETO ASSEMBLY [91421]
MAGNETO COVER [91412]
OIL COOLER ASSEMBLY [89777]
OIL PAN ASSEMBLY [91416]
OIL PUMP ASSEMBLY [90508]
OIL TANK ASSEMBLY [95584]
PISTON AND CRANKSHAFT ASSEMBLY [91793]
REAR SUSPENSION FRONT ARM ASSEMBLY [96834]
REAR SUSPENSION FRONT ARM SHOCK ABSORBER [95126]
REAR SUSPENSION REAR ARM ASSEMBLY [95217]
REAR SUSPENSION REAR ARM SHOCK ABSORBER [95128]
SEAT ASSEMBLY [95439]
SHOCK ABSORBER ASSEMBLY [95114]
SKI AND SPINDLE ASSEMBLY [95153]
SKID PLATE AND SIDE PANEL ASSEMBLY [95625]
SLIDE RAIL AND TRACK ASSEMBLY [95618]
STARTER CLUTCH ASSEMBLY [89767]
STARTER MOTOR ASSEMBLY [91420]
STEERING POST ASSEMBLY [96626]
STEERING SUPPORT ASSEMBLY [96721]
THROTTLE BODY ASSEMBLY [89780]
TIE ROD ASSEMBLY [95116]
TUNNEL, REAR BUMPER, AND SNOWFLAP ASSEMBLY [95622]
TURBOCHARGER ASSEMBLY [95604]
WATER HOSE ASSEMBLY [91795]
WATER PUMP ASSEMBLY [89695]
WINDSHIELD AND INSTRUMENTS ASSEMBLIES [95435]
VIEW WISH LIST