Greenville, TX
|
Give Us a Call
(903) 454-4440
Toggle navigation
Home
Brands
Manufacturer Models
OEM Promotions
Polaris
Can-Am
E-Z-Go
Honda
Kawasaki
Suzuki
Inventory
All Inventory In Stock
New Inventory In Stock
Used Inventory
Value Your Trade-In
Request a Model
Schedule a Test Ride
Secure Financing
Parts
Parts Department
Parts Finder
Service
Service Department
Request Polaris Service
Warranty & Recall Look-Up
Specials
Financing
About
Our Dealership
Our Team
Reviews
Customer Survey
Employment
Events Calendar
Locations
Location & Hours
Contact
Parts Finder
Home
›
Parts
›
Parts Finder
Search by :
Part / Desc
VIN
Please Select
Arctic Cat
Honda
Kawasaki
Polaris
Suzuki
*Please enter at least 3 characters
SEARCH
Manufacturer
Arctic Cat
Snowmobiles
2012
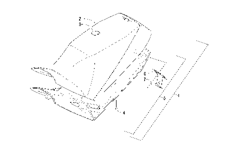
M 800 SNO PRO LTD 153 WHITE [S2012M8HLEUSW]
VIEW WISH LIST
Select a Section
Show/Hide
A-ARM ASSEMBLY [95228]
BELT GUARD ASSEMBLY [96868]
CHAIN CASE ASSEMBLY [96857]
CONSOLE ASSEMBLY [95188]
COOLING ASSEMBLY [95141]
CRANKCASE ASSEMBLY [91585]
CYLINDER AND HEAD ASSEMBLY [95146]
DRIVE CLUTCH [95144]
DRIVE TRAIN SHAFTS AND BRAKE ASSEMBLIES [96856]
DRIVEN CLUTCH [95145]
ELECTRICAL [98857]
ENGINE AND RELATED PARTS [98413]
EXHAUST ASSEMBLY [95143]
FRONT BUMPER AND FRAME ASSEMBLY [95233]
FRONT SUSPENSION SHOCK ABSORBER [95115]
FUEL PUMP ASSEMBLY [101505]
GAS TANK ASSEMBLY [95138]
HANDLEBAR AND CONTROLS [98106]
HEADLIGHT AND WIRING ASSEMBLIES [95135]
HOOD AND AIR INTAKE ASSEMBLY [95235]
HYDRAULIC BRAKE CONTROL ASSEMBLY [95119]
IDLER WHEEL ASSEMBLY [98798]
MAGNETO [89829]
OIL PUMP [93329]
OIL TANK ASSEMBLY [95122]
PISTON AND CRANKSHAFT [91586]
REAR SUSPENSION FRONT ARM ASSEMBLY [98474]
REAR SUSPENSION FRONT ARM SHOCK ABSORBER [95126]
REAR SUSPENSION REAR ARM ASSEMBLY [95232]
REAR SUSPENSION REAR ARM SHOCK ABSORBER [95128]
RECOIL STARTER [89828]
REED VALVE ASSEMBLY [96875]
SEAT ASSEMBLY [95238]
SERVOMOTOR ASSEMBLY [91541]
SHOCK ABSORBER ASSEMBLY [95114]
SKI AND SPINDLE ASSEMBLY [95227]
SKID PLATE AND SIDE PANEL ASSEMBLY [95237]
SLIDE RAIL AND TRACK ASSEMBLY [95230]
STEERING POST ASSEMBLY [96854]
STEERING SUPPORT ASSEMBLY [98109]
THROTTLE BODY ASSEMBLY [91588]
TIE ROD ASSEMBLY [95116]
TUNNEL, REAR BUMPER, AND SNOWFLAP ASSEMBLY [95234]
WATER PUMP AND THERMOSTAT [93330]
WINDSHIELD AND INSTRUMENTS ASSEMBLIES [95236]
A-ARM ASSEMBLY [95228]
BELT GUARD ASSEMBLY [96868]
CHAIN CASE ASSEMBLY [96857]
CONSOLE ASSEMBLY [95188]
COOLING ASSEMBLY [95141]
CRANKCASE ASSEMBLY [91585]
CYLINDER AND HEAD ASSEMBLY [95146]
DRIVE CLUTCH [95144]
DRIVE TRAIN SHAFTS AND BRAKE ASSEMBLIES [96856]
DRIVEN CLUTCH [95145]
ELECTRICAL [98857]
ENGINE AND RELATED PARTS [98413]
EXHAUST ASSEMBLY [95143]
FRONT BUMPER AND FRAME ASSEMBLY [95233]
FRONT SUSPENSION SHOCK ABSORBER [95115]
FUEL PUMP ASSEMBLY [101505]
GAS TANK ASSEMBLY [95138]
HANDLEBAR AND CONTROLS [98106]
HEADLIGHT AND WIRING ASSEMBLIES [95135]
HOOD AND AIR INTAKE ASSEMBLY [95235]
HYDRAULIC BRAKE CONTROL ASSEMBLY [95119]
IDLER WHEEL ASSEMBLY [98798]
MAGNETO [89829]
OIL PUMP [93329]
OIL TANK ASSEMBLY [95122]
PISTON AND CRANKSHAFT [91586]
REAR SUSPENSION FRONT ARM ASSEMBLY [98474]
REAR SUSPENSION FRONT ARM SHOCK ABSORBER [95126]
REAR SUSPENSION REAR ARM ASSEMBLY [95232]
REAR SUSPENSION REAR ARM SHOCK ABSORBER [95128]
RECOIL STARTER [89828]
REED VALVE ASSEMBLY [96875]
SEAT ASSEMBLY [95238]
SERVOMOTOR ASSEMBLY [91541]
SHOCK ABSORBER ASSEMBLY [95114]
SKI AND SPINDLE ASSEMBLY [95227]
SKID PLATE AND SIDE PANEL ASSEMBLY [95237]
SLIDE RAIL AND TRACK ASSEMBLY [95230]
STEERING POST ASSEMBLY [96854]
STEERING SUPPORT ASSEMBLY [98109]
THROTTLE BODY ASSEMBLY [91588]
TIE ROD ASSEMBLY [95116]
TUNNEL, REAR BUMPER, AND SNOWFLAP ASSEMBLY [95234]
WATER PUMP AND THERMOSTAT [93330]
WINDSHIELD AND INSTRUMENTS ASSEMBLIES [95236]
VIEW WISH LIST