Greenville, TX
|
Give Us a Call
(903) 454-4440
Toggle navigation
Home
Brands
Manufacturer Models
OEM Promotions
Polaris
Can-Am
E-Z-Go
Honda
Kawasaki
Suzuki
Inventory
All Inventory In Stock
New Inventory In Stock
Used Inventory
Value Your Trade-In
Request a Model
Schedule a Test Ride
Secure Financing
Parts
Parts Department
Parts Finder
Service
Service Department
Request Polaris Service
Warranty & Recall Look-Up
Specials
Financing
About
Our Dealership
Our Team
Reviews
Customer Survey
Employment
Events Calendar
Locations
Location & Hours
Contact
Parts Finder
Home
›
Parts
›
Parts Finder
Search by :
Part / Desc
VIN
Please Select
Arctic Cat
Honda
Kawasaki
Polaris
Suzuki
*Please enter at least 3 characters
SEARCH
Manufacturer
Arctic Cat
Snowmobiles
2012
BEARCAT 570 BLUE [S2012BCDFCUSL]
VIEW WISH LIST
Select a Section
Show/Hide
A-ARM ASSEMBLY [89253]
AIR SILENCER ASSEMBLY [94602]
BATTERY AND TRAY ASSEMBLY [91199]
BELT GUARD ASSEMBLY [94596]
CARBURETOR [91204]
CARBURETOR AND FUEL PUMP ASSEMBLY [91200]
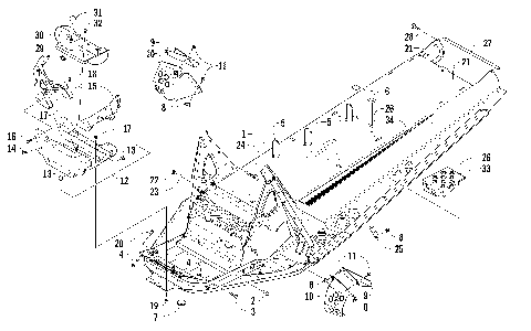
CHASSIS ASSEMBLY [94623]
CONSOLE ASSEMBLY [94594]
CRANKCASE AND CYLINDER [91205]
CYLINDER COWLING ASSEMBLY [89142]
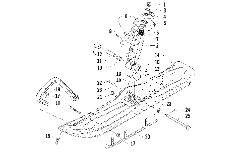
DRIVE CLUTCH [99258]
DRIVE TRAIN SHAFT AND BRAKE ASSEMBLIES [93064]
DRIVEN CLUTCH [91343]
ELECTRIC START - STARTER MOTOR ASSEMBLY [94601]
ELECTRICAL [91209]
ENGINE AND RELATED PARTS [99256]
EXHAUST ASSEMBLY [94600]
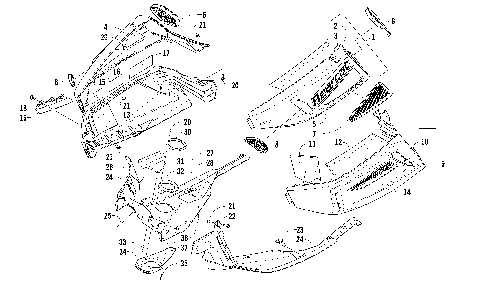
FRONT SEAT ASSEMBLY [93053]
FRONT SHOCK ABSORBER ASSEMBLY [93063]
FUEL LEVEL SENSOR ASSEMBLY [97043]
GAS TANK ASSEMBLY [91339]
GEARCASE ASSEMBLY [94608]
HANDLEBAR AND CONTROLS [97264]
HEADLIGHT AND WIRING ASSEMBLIES [94625]
HOOD, WINDSHIELD, AND FRONT BUMPER ASSEMBLY [94624]
HYDRAULIC BRAKE CONTROL ASSEMBLY [97037]
IDLER WHEEL ASSEMBLY [97066]
INTAKE ASSEMBLY [89139]
MAGNETO [91208]
OIL PUMP [91207]
OIL TANK ASSEMBLY [94603]
PASSENGER SEAT AND BACKREST ASSEMBLY [93054]
PISTON AND CRANKSHAFT [91206]
REAR BUMPER, HITCH, RACK RAIL, SNOWFLAP, AND TAILLIGHT ASSEMBLY [94627]
REAR SUSPENSION FRONT ARM ASSEMBLY [94621]
REAR SUSPENSION REAR ARM ASSEMBLY [94622]
RECOIL STARTER [89143]
REED VALVE ASSEMBLY [89140]
SEAT SUPPORT ASSEMBLY [93068]
SKI AND SPINDLE ASSEMBLY [94618]
SKID PLATE AND SIDE PANEL ASSEMBLY [94626]
SLIDE RAIL AND TRACK ASSEMBLY [94619]
STEERING POST ASSEMBLY [93023]
STEERING SUPPORT ASSEMBLY [99245]
TIE ROD ASSEMBLY [91119]
A-ARM ASSEMBLY [89253]
AIR SILENCER ASSEMBLY [94602]
BATTERY AND TRAY ASSEMBLY [91199]
BELT GUARD ASSEMBLY [94596]
CARBURETOR [91204]
CARBURETOR AND FUEL PUMP ASSEMBLY [91200]
CHASSIS ASSEMBLY [94623]
CONSOLE ASSEMBLY [94594]
CRANKCASE AND CYLINDER [91205]
CYLINDER COWLING ASSEMBLY [89142]
DRIVE CLUTCH [99258]
DRIVE TRAIN SHAFT AND BRAKE ASSEMBLIES [93064]
DRIVEN CLUTCH [91343]
ELECTRIC START - STARTER MOTOR ASSEMBLY [94601]
ELECTRICAL [91209]
ENGINE AND RELATED PARTS [99256]
EXHAUST ASSEMBLY [94600]
FRONT SEAT ASSEMBLY [93053]
FRONT SHOCK ABSORBER ASSEMBLY [93063]
FUEL LEVEL SENSOR ASSEMBLY [97043]
GAS TANK ASSEMBLY [91339]
GEARCASE ASSEMBLY [94608]
HANDLEBAR AND CONTROLS [97264]
HEADLIGHT AND WIRING ASSEMBLIES [94625]
HOOD, WINDSHIELD, AND FRONT BUMPER ASSEMBLY [94624]
HYDRAULIC BRAKE CONTROL ASSEMBLY [97037]
IDLER WHEEL ASSEMBLY [97066]
INTAKE ASSEMBLY [89139]
MAGNETO [91208]
OIL PUMP [91207]
OIL TANK ASSEMBLY [94603]
PASSENGER SEAT AND BACKREST ASSEMBLY [93054]
PISTON AND CRANKSHAFT [91206]
REAR BUMPER, HITCH, RACK RAIL, SNOWFLAP, AND TAILLIGHT ASSEMBLY [94627]
REAR SUSPENSION FRONT ARM ASSEMBLY [94621]
REAR SUSPENSION REAR ARM ASSEMBLY [94622]
RECOIL STARTER [89143]
REED VALVE ASSEMBLY [89140]
SEAT SUPPORT ASSEMBLY [93068]
SKI AND SPINDLE ASSEMBLY [94618]
SKID PLATE AND SIDE PANEL ASSEMBLY [94626]
SLIDE RAIL AND TRACK ASSEMBLY [94619]
STEERING POST ASSEMBLY [93023]
STEERING SUPPORT ASSEMBLY [99245]
TIE ROD ASSEMBLY [91119]
VIEW WISH LIST